时间:2018-11-29 09:49
人气:
作者:admin
据专利文件显示, 谷歌 正在重新思考VR头显的连接系统。世界知识产权组织早前批复了谷歌的一份设计专利。谷歌在文件中指出,一般的头显设备与一个或多个外部数据源相连以传输视频或图形内容。在以往,与外部数据源的连接主要是通过数据线实现。但这样的解决方案相对笨重,同时限制了用户的移动能力。
因此,一些头显设备选择无线局域网(WLAN)链路,通过倒F天线或单极天线来与外部数据源相连。另外,头显设备正越来越多地配置为支持各种个人设备的无线连接,或者是经由无线个域网(WPAN)来与运动控制器进行无线连接。

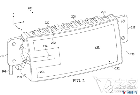
谷歌指出,头显设备的典型尺寸通常不允许倒F天线/单极天线的充分间隔。两个天线之间的时间复用同样通常难以实现预期,因为这样做会显著降低两个天线的有效带宽。至于在频谱中分离天线,这种方法将限制头显设备可以连接的设备数量和类型。尽管符合IEEE 802.11标准的WLAN天线可以在2.4 GHz频段或5 GHz频段运行,但符合蓝牙标准的WPAN天线仅在2.4 GHz频段运行,因此这会将WLAN天线限制为仅限于5 GHz频段。
根据专利文件,谷歌的发明包括WPAN和WLAN天线,而彼此之间的间隔很大,目标是最大化传输性能。这种解决方案专门针对VR一体机设计。这家科技巨头表示,类似的系统同时可以容纳并充分利用蓝牙模块。专利文档没有提到蜂窝连接,但应该仍然位于可能性的范围之内。

谷歌是全球最大的科技公司之一,其绝大多数专利永远都不会直接商业化。但是,针对特定产品类别的解决方案出现表明他们正致力于相关实验。在这个特殊的例子中,谷歌似乎仍然热衷于在硬件和软件方面支持 Daydream 生态系统。运行Daydream的联想Mirage Solo一体机依赖于与这份专利相似的设置,其支持WiFi 802.11 ac/n连接,双频2×2 MIMO和蓝牙5.0。
据称,谷歌的网络连接解决方案比传统设置更加有效,因此他们有可能商业化这项技术或将其授权给第三方。考虑到谷歌最近在消费者VR硬件领域并不是特别活跃,所以选择帮助其合作伙伴取得产品领先地位似乎更有可能。