时间:2018-10-24 09:19
人气:
作者:admin
近年来,虚拟现实(VR)和增强现实(AR)的改变已经被炒得火热。遗憾的是,当前技术的设备端用户体验仍不够友好,尤其是视野(FOV)方面的限制。好消息是,7月19号的时候,美国商标专利局(USPTO)公布了一份来自微软的新专利。由描述可知,其有望克服AR / VR设备视野过小的问题。
在专利描述的背景部分,微软解释到,各种各样的虚拟现实或增强现实显示系统,多少面临着视野方面的限制。它们需要将数字内容与现实世界无缝地融合到一起。

比如一款头戴式显示设备(HMD)可能包含透明显示元素,以便佩戴者同时看到数字内容和现实世界。这种类型的近眼显示(NED)设备,可提供一定的混合现实(MR)体验。
然而典型的NED设备的视野是有限的,且它只能在用户眼前显示图像(双眼分别显示),这样难以营造出一个完全身临其境的体验。
增加显示屏的尺寸,会是一个不错的解决方案。但鉴于设备结构复杂、消耗大量资源且价格昂贵,反而又不切实际了。有鉴于此,微软特地申请了如下方法。
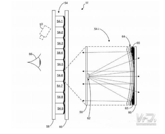
这里介绍的技术,包括了至少一个现实设备。显示装置的实施案例,涉及透明的基板、小透镜阵列、介于两者之间的透明小透镜、以及其中的光源。
光源部分是可以操作的,以朝向相应的小透镜阵列。这里的发光小透镜阵列,有着特殊的配置,能够反射光线以渲染数字图像。