时间:2018-07-31 17:10
人气:
作者:admin
如何提高头戴设备的FOV一直是厂商们研发中的重点,因为头戴设备的FOV不足是无法创造完全沉浸的体验。有一种十分简单粗暴的方法,就是增加显示设备的尺寸,这样自然FOV会变大,但是成本和重量的约束让这个方案变得不切实际。因为典型的显示设备已经十分复杂,制作起来十分昂贵。同时,用户在使用时周边视觉较少,这也是一种资源的浪费。
所以只好在显示设备本身上下功夫了,HoloLens在17年1月提交的专利就是这种解决方案,而该专利在近日审核通过了,让我们一起来看看吧。
HoloLens这次的专利,提供了三种解决方案,重点是后两种方案中使用的小透镜阵列来达到扩大FOV的目的。通过光源向小透镜阵列的相应小透镜发射光线,小透镜再折射入人眼,来扩大FOV。
通常来说使用小透镜会影响透视性能,因为表面会反射光线。但是在设计的时候,采用部分反射的表面,将仍然透过一部分光,与此同时将表面与折射率先关,使得光的失真被最小化或者消除。
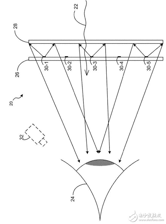
第一种是显示方案20,主要由发光基板26和全息基板28组成。

光源30-1~30-5用粘合剂固定在发光基板26上,可以是无机发光二极管(ILED),比OLED更小、更有效,并且不易受到水分的伤害 。
工作时光源向全息基板发光,全息基板由光学元件组成,可将数字图像编码到全息基板的表面。眼动追踪器32提供信息,使得显示设备根据眼睛位置渲染图像,让图像通过电子和光学的方式设置到用户的瞳孔位置。
第二种方案显示装置34,主要由光源36、小透镜阵列38组成。

小透镜指的是相对来说很小的透镜,使用的还是传统的研磨,抛光工艺制造。在一些案例中,还可以使用布拉格透镜或者是菲涅尔透镜等其他适合环境需要的光学元件。
这里就不是方案1中的反射原理了,光源直接将光发射到其对应的小透镜上,小透镜将光聚焦后朝向用户的眼睛,再经过人眼的聚焦就能获得清晰的图像了。

而小透镜的材料也可以是其他材料,比如电敏性材料。比如在断电时,小透镜基本保持光学平坦的状态,使得透过小透镜的光基本不变。当通电时,小透镜可以重新调节光向,使得光线对准用户的眼睛。
或者是用流体填充结构来替代小透镜,这样就能获得可切换的小透镜阵列了。通过在基板上设计可延展的薄膜,来形成填充流体的空腔。在施加压力的时候,膜产生弯曲来形成透镜,没有压力的时候,结构保持不变。