时间:2018-08-04 11:48
人气:
作者:admin
为了帮助提升VR中的行走感觉,迪士尼正在开发一种“移动地板”。今天迪士尼提交的一份专利显示,他们正在开发一种“移动地板”技术。专利描述了三种在有限区域内创建无限行走感觉的解决方案。
首先,专利写道利用一种振动技术来为用户双脚提供或多或少的摩擦感。这将允许平台影响用户的方向,这样他们就不会撞到墙壁或其他用户。

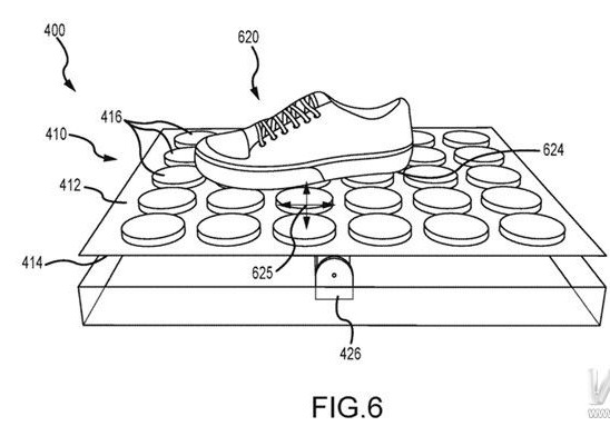
另一种方法采用了一系列的旋转圆盘,通过这种方式来影响用户的方向。每个圆盘都能独立旋转,或者整体旋转,从而帮助引导用户的行走。

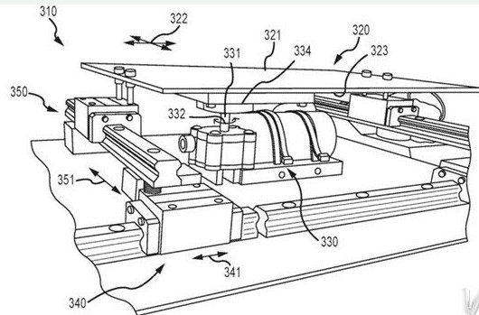
最后一种解决方案则包含磁铁,分别设置在用户的鞋子和地板下面的“移动履带”。当用户行走时,这将移动磁性移动履带,这样用户就能不停地行走,并且维持在房间中同一个位置。

需要注意的是,这只是专利,所以上述解决方案可能永远都无法“得见天日”,但这确实表明了迪士尼希望提升迪士尼乐园中的VR游乐设施的体验,比如说Disney Springs中的The VOID。