时间:2017-02-08 09:16
人气:
作者:admin
去年 12 月份的时候,美国专利局公布了微软的一项可以实现对象追踪的 AR 专利,但是微软在 AR 领域的布局远远不止于此。最近,美国专利局一连通过了微软的三个 AR 专利。以下VR科技网为大家介绍三个专利的内容。
AR 系统双眼间距调节机制(专利号9557569)
不同用户的头部大小,双眼间距都不尽相同。如果头显太紧,会导致用户不适。头显太松,无论移动还是站立都容易带给用户负面的体验感受。此外,头显的双眼间距如果跟用户的实际双眼间距不符,在体验中会影响用户对增强现实元素的正常感知能力。而传统的头显一般使用旋转铰链来调整,但这种方式显得头显太笨重而且操作繁琐。

基于这种情况,微软的专利描述的解决方案包括一个可调整周长的头冠,该头冠可以耦合到头戴式显示器中,可把头冠的周长调整至适合用户头部尺寸。系统包括一个左右臂含有部件的电枢,左右臂的近端分别与头戴式显示器对应附接部位的左右侧连接。而系统左右臂的远端处则安装显示屏,从而调整适当的双眼间距。
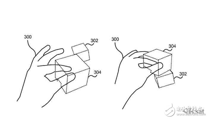
AR环境中抓取虚拟对象(专利号9552673)
专利描述了一个可以在增强现实环境中抓取虚拟对象的 AR 系统,如堆叠虚拟立方体或者用其他物理操控工具控制虚拟对象。在不同的应用实例中,该系统可以在 AR 环境中追踪用户的手或者其他物理操控工具。如至少通过两种不同类型的粒子来识别出物理操控工具的形状,虚拟对象根据增强现实环境和粒子之间的外力模拟更新动态。而第一种类型的粒子(运动的粒子)的 3D 位置随物理操控工具的移动发生改变,被动运动的粒子随着运动的粒子移动,而不需要穿透虚拟对象。

AR导光显示器(专利号9558590)
人们在日常生活中,无论是工作或者旅游,都时常与电子设备(电脑、手机等)接触,而基于传统的显示技术,用户与电子设备接触的时间太长容易导致眼睛过度疲劳。AR导光显示器提出的解决方案旨在减轻用户的眼睛疲劳。

AR导光显示器技术在一个或多个实例中,这种装置包括手持的壳体、一个或者多个传感器可以检测出该壳体在物理空间的三维数据(位置和方向)、一个由壳体提供支持且至少部分透明的导光板、一个可以耦合到导光板的光引擎、安装在壳体中一个或多个模块处理器和部分必需部件。