时间:2016-05-20 11:16
人气:
作者:admin
IT之家讯 5月20日消息,相信许多《火影忍者》对佐助的写轮眼印象深刻,如今谷歌的一项专利可能让高科技眼球成为现实,IT之家在5月5日报道了谷歌申请眼球高科技专利的这一消息。
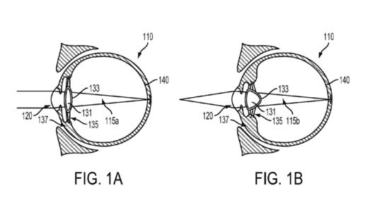
谷歌日前申请了一项眼球方面的专利,专利描述了一个可以植入眼球的人工晶状体,该人工晶状体的植入过程十分简单,只需将人眼球中原来的晶状体移除,然后通过注射的方式进行置入即可,能够可以用来矫正视力,小编今日再读这篇文章,却有了不同的想法,确实该眼镜将会成为未来治疗眼疾方面的一大突破,然而其中的的技术拥有极高的可变性,小编不禁畅想了一下,在遥远未来即将发生的重大技术变革。

该人工晶状体还包含一个模组,该模组集合了储存、感应器、电池和无线通讯等诸多功能,联想到当下VR技术十分火爆,然而无论多么优秀的产品都需要用户佩戴设备,虽然产品在设计的时候都尽量使用户感觉轻便,但是在实际体验的时候,用户还是要时常摘下来放松一下,谷歌的这一技术在未来可能会解决这一问题,用户购买VR产品仅需一次植入,终生不用再换,使用时只需开启VR模式,人工晶状体就会为用户呈现VR世界,再也不用佩戴设备,开关方便,体验更为真实。VR现在虽方兴未艾,然而其前景确实无比广阔。
上一篇:传联发科下月分拆VR部门