时间:2020-11-13 11:21
人气:
作者:admin
苹果正在继续研究一款智能戒指设备,该设备可以成为苹果眼镜、苹果VR头显等设备的配件或与之配合使用。苹果公司已经申请了许多与手指佩戴设备相关的专利。周四公布的一项新专利申请延续了之前在 “可扩展环形设备 ”方面的工作。
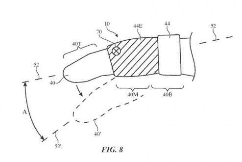
苹果这项专利描述的系统包含了一个 “配置在用户手指上佩戴的可穿戴电子设备”,以及一个 “包含用户可查看头戴式显示设备”。苹果在专利描述当中表示,当可穿戴电子设备穿戴在用户的手指上时,具有与用户手指纵轴平行的旋转铰链、视觉标记和收集用户输入的第一传感器。
有趣的是,该专利还指出,苹果VR头显等设备将内建一个传感器,并可以检测戴在用户手指上的视觉标记,以跟踪其运动,也许可以提供某种类型基于手势的控制。头戴部分和戒指设备都可以通过无线连接进行通信。头戴式设备可以在现实世界的环境上显示虚拟内容,并可能包含修改该内容的电路。
该专利还描述了2种设备如何共同发挥作用,其中戴在用户手指上的戒指装置,内建向外部设备发送数据的第一通信电路,而头戴式装置内建从戒指装置接收数据,生成图像的第二通信电路,这2个通信电路包括支持戒指和头显之间双向通信的通信电路,以及根据接收到的数据调整显示图像的控制电路。苹果之前多次在专利中探索如何使用手指佩戴的设备,2020年7月申请的一项专利当中,苹果认为智能戒指可以与增强现实外设接口。

责编AJX