时间:2020-11-17 11:32
人气:
作者:admin
谷歌总是在探索各种奇思妙想,开发各种显新产品,它最新的构思是一款智能戒指,将让用户使用集成的摄像头进行自拍。Protocol发现了一份谷歌专利申请,其中的文件显示,这款戒指或多或少会是一台佩戴在手指上的小型电脑。
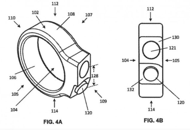
谷歌在专利申请问文件当中表示,本文描述了具有自拍相机的可穿戴电子设备。该可穿戴电子设备包括一个主体,用户可以用来调节光圈,主体大小和形状为用户的手指设计。谷歌的可穿戴电子设备还包括其中的处理器、布置在机体外表面上并与处理器通信连接以接收来自用户其它手指输入的输入装置、捕获图像的光学传感器、与处理器通信连接以将图像传输到外部电子设备的发射器,以及可选地与处理器和发射器通信连接,向处理器和发射器提供电力的电源。“
谷歌于2019年5月申请了该专利,该申请在2020年11月10日获得批准。当然,谷歌每天都在申请专利,它们代表谷歌正在计划开发什么新产品,但是不代表这些产品会最终上市销售。

责编AJX