时间:2021-01-16 10:11
人气:
作者:admin
如果苹果研究成功的话,未来的苹果手表表带可能具有电气和数据触点,允许使用可更换电源或在表外安装传感器。作为苹果公司提供的最小的计算设备,苹果手表成功地将相当多的功能压缩到了最小比例。然而,尽管其它设备如iphone或ipad可以通过将附件插入到lightning端口来扩展功能,但苹果手表并没有提供任何机会来升级其基本规格之外的功能。
由于其小巧的尺寸,以及佩戴在手腕上时需要防止露出外表面的端口以保持其外观美丽,因此在苹果手表边缘露出一个大大的连接点是不切实际的。在这种情况下,对其抗水性能影响也很大。不过,在美国专利商标局周二授予苹果的一项“附件触点”专利中,苹果认为这是可能的,但连接器必须高度可组装,具有高耐腐蚀性,难以损坏,减少或防止水分泄漏到电子设备外壳的连接器组件中。
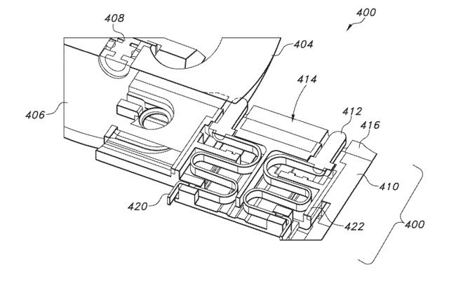
在专利中,苹果公司表示找到一种解决方案,即将触点嵌入用于在苹果手表上粘贴表带的连接器中。该系统让人联想到现有的苹果手表带的连接方法,其中一个部分从侧面滑动,并用弹簧加载的插针固定在苹果手表机身内的凹槽中。按下按钮可将插针部分向后拉,从而使带式连接器滑出。
在专利的情况下,这些插针不仅可以提供一个固定点,还可以作为电接触的方式。从表带上的部件连接到每个插针上,插针弹起并压在苹果手表机身凹槽的内部触点上,作为锁定机制的一部分。同样,一个按钮将允许用户控制一个底座来固定插针,同时缩回断开连接并释放频带。它也可以采用滑动开关的形式,而不是目前使用的推入式,这种开关可以使机构保持弹跳或缩回状态。这种形式的系统还可以允许将多个插针安装在苹果手表主体中,既可以提高表带在设备本身中的安全性,又可以提供更多的电气连接。


编辑:hfy