时间:2020-02-05 17:47
人气:
作者:admin
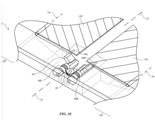
此前不少厂商先后发布采用折叠屏设计的产品,很多消费者也对这种新颖的设计产生浓厚的兴趣。近日,苹果的折叠屏设备专利被曝光,根据曝光的文件显示,苹果推出的可折叠设备采用铰链式设计,该设计可以避免折叠时屏幕出现折痕或损坏。

苹果折叠屏专利图
据了解,这项专利由美国专利商标局发布,专利显示铰链机构将确保屏幕的在折叠的过程中有足够的间隔。屏幕展开时,活动折板将延伸来覆盖间隙,折叠时折板将缩回。

苹果折叠屏专利图
简单来看,这项来自苹果的折叠屏专利采用了与三星Galaxy Fold类似的内折叠设计,这类设计可以很好地保护柔性屏,大大降低柔性屏损伤的风险。不过,内折叠设计也会带来明显的折叠痕迹,苹果将如何为用户带来更好的体验,仍有待观察。
折叠屏专利演示
目前折叠屏设计处于起步阶段,仍有很大的创新空间。现在苹果的折叠屏专利曝光,这也代表苹果在开展折叠屏设备的研发。不过,我们想要见到采用折叠屏设计的iPhone/iPad,或许还需要再等待一段时间。
责任编辑;zl