时间:2019-02-18 16:30
人气:
作者:admin
2019年似乎是折叠屏手机亮相的元年,近期不少厂商都公布了折叠屏手机的消息,让人们看到一种与众不同的手机新形态。近日苹果也更新了他们的折叠屏手机专利,据悉该专利是继2016年之后再次更新的版本,专利文件中包含了多种不同的折叠屏手机形态。

内折叠设计
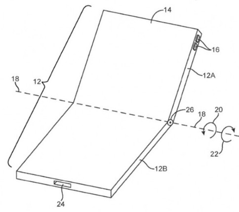
在最新版本的专利中,苹果添加了一种屏幕内折的折叠屏设计,手机内部拥有铰链,用来实现弯折,这种设计类似于此前摩托罗拉公布的Razr翻盖手机专利。

屏幕内折叠设计
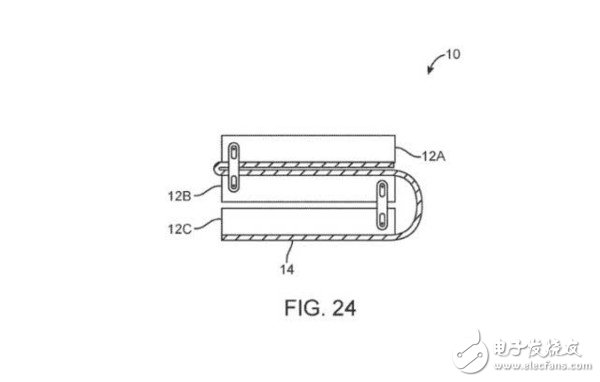
此外,苹果还为我们提供了一种三折叠的设计,该设计同样运用了铰链。其中一部分采用屏幕内折叠设计,另一部分采用屏幕外折叠设计,实现了类似“S”形的折叠,将其展开后即可作为大尺寸的平板电脑使用。

三折叠屏设计
需要注意的是,目前苹果仅仅公布了可折叠手机的相关专利,并没有发布可折叠手机的打算。所以我们想要见到苹果出品的可折叠手机,仍然需要等待一段时间。