时间:2019-02-27 09:10
人气:
作者:admin
对于2019年手机行业来说,现在最热门的两大关键词就是5G和折叠屏。随着5G即将到来,不少手机厂商也将5G和可折叠集结到同一款产品上。近日三星、华为都将发布5G折叠屏手机,此外小米、OPPO、vivo、LG、摩托罗拉等手机厂商也都在研发折叠屏设备。
同为手机巨头,苹果似乎也加入了折叠屏手机的竞争当中。苹果新申请了一项专利,描述了一款可以折叠的iPhone。根据专利申请材料显示,折叠屏iPhone与翻盖手机相似,可以通过中间的一个铰链闭合。

苹果新专利
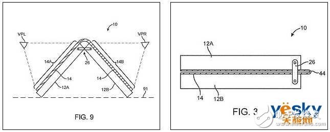
从曝出的苹果折叠屏专利可以看出,可折叠iPhone不同于华为、三星、小米等公司折叠屏手机设计不同,是采用纵向折叠,而非横向折叠。
另一张简图显示,显示屏可以向后折叠。在这种形态下,两部分显示屏之间有一定角度,坐在显示屏两侧的用户,可以同时看到相同的内容。

苹果新专利
有不少业内人士分析,苹果的可折叠设备可能不局限于iPhone,也可以应用于iPad、MacBook,甚至是Apple Watch。
苹果新申请的专利除简图外,专利申请材料基本上没有披露与折叠屏iPhone实际工作方式有关的细节。可以说苹果公司在折叠屏iPhone的进展比较缓慢。虽然早在2017年就有消息曝光该公司将会在2020年推出折叠屏手机,但是关于这款产品更多信息,我们仍然一无所知。
日前,外媒LetsGoDigital根据苹果最新的折叠手机专利,制作了一组折叠屏iPhone的概念图。
当可折叠iPhone折叠起来时,尺寸会更小,更方便携带;当手机展开时,手机显示屏长度将略长于普通手机。当手机两部分显示屏呈一定角度摆放时,坐在两侧的人可以同时观看相同内容。相比之下,这款折叠屏iPhone的设计思路和其他厂商产品有一点不同。目前大部分的折叠屏产品都是为了取代平板电脑。而折叠屏iPhone似乎只是为了让手机更便携。
折叠屏iPhone概念图
苹果新专利显示,该款设备将采用柔性OLED显示屏,“柔性显示屏固定在机身上,盖过铰链。当两部分发生相对旋转时,显示屏可以弯曲。铰链可以使两部分显示屏呈现面对面或背对背的形态。”
据悉苹果这项名为“柔性显示屏设备”的专利申请时间是2018年10月12日,但在上周末才对外公布。与其他任何专利一样,目前尚不清楚苹果是否会将这项专利描述的技术用于产品中,而且设计可能会发生改变。
苹果这项专利的公布,恰好正值其他主要手机厂商发布折叠屏手机之际。三星将在明天发布三星首款折叠屏手机,而华为将在2月24日发布折叠屏手机。而苹果预计在2020年推出可折叠设备。苹果相比于其他手机厂商在折叠屏设备上发展要慢的多,以往苹果新品都是其它手机厂商争相模仿的对象,现在苹果却落后与其他手机厂商,这也暴露出苹果在创新力方面的不足。