时间:2019-12-30 08:09
人气:
作者:admin
便携式产品制造商一直在寻找降低电力需求的方法,以最大限度地延长电池寿命。随着物联网的发展,以及诸如移动电话等智能设备的普遍使用,用于网络控制和监控目的,对提高电源效率的需求变得更加迫切。便携式设备上的LED背光可以占有效系统总功率的很大一部分。单独的LED背光驱动器可以使用高达40%,使其成为节能工作的主要目标。
采用各种技术来最小化背光功耗。选择针对低功耗和高效率进行优化的LED驱动器IC是一个明确的起点。诸如环境光传感器和动态背光控制以及调光等技术可以为节省电池电量做出重要贡献。
图1:动态背光控制使用调光以节省电池电量,例如在黑暗中使用智能手机时。
本文将考虑通过高级设计和明智选择LED驱动器可以做出的贡献。仔细研究的因素包括拓扑结构,支持额外节能技术所需的特性,以及它们对效率和电路尺寸的影响。
将参考Richtek RT9285升压转换器,适用于单个电池的操作锂离子电池和德州仪器(TI)的LM3530电流模式升压转换器可驱动单串最多11个LED,LM3532和LM3697驱动三个LED串。
超低功耗和可穿戴设备,带有电荷泵的低压差(LDO)稳压器,如Richtek的RT9361,是一种选择,或降压 - 升压稳压器,包括Intersil的RT6150A/B或ISL9111。
Boost是最佳
恒流升压转换器通常被认为是为电池供电应用中用于显示器背光的LED供电的最佳节能设备。有许多此类器件的供应商,其中一些已经制作了一些有用的应用指南,以帮助设计人员最大限度地降低功耗并提高效率。
恒流转换器很重要,因为LED需要用特定电流驱动保持特定的光输出。升压转换器用于将输入电压升压至更高的输出电压。德州仪器(TI)在其许多器件数据表中提供设计,并在文章中提供:降低背光功耗的整体方法 1 。
通常,文章指出,电感式升压拓扑用于驱动串联运行的LED,而开关电容器方法是并联LED架构的选择。开关电容器装置往往限于固定数量的电压增益,并且存在过度升压的风险,但它们具有最小化所需外部元件数量的优点。相反,电感式升压转换器可以产生支持LED串所需的精确升压增益。
另一位电源管理专家Richtek在题为“电源管理简介 2 ,电感式升压转换器通过内部Mosfet开关对电感充电,并在Mosfet开关关闭时通过整流器将电感放电至负载。从电感器充电到放电的过渡将使电感器两端的电压反向,从而使电压升高到高于VIN。 Mosfet开关的额定电流和升压比将决定最大负载电流,Mosfet额定电压将决定最大输出电压能力。在一些升压转换器中,整流器集成为Mosfet以提供同步整流。
TI建议通过最小化Nmos电源开关的导通电阻和串联电阻来优化电感式升压转换器。电感器。然而,与具有相同电感值的较大电感器相比,较小电感器通常具有较高电阻。增加升压开关频率可以允许使用较低值的电感器,但也会增加开关损耗。
TI建议,选择具有低正向导通电压(VF)的肖特基二极管将提高升压效率;虽然设计人员被警告说低VF肖特基二极管通常比具有更高电压的二极管更大。此外,与串联背光驱动器相关的高占空比(》 80%)将最大限度地降低低VF二极管的影响,因为器件仅在一小部分开关周期内导通。
在串联转换器中,需要一个电流吸收器来控制通过每个LED串的电流。为了进一步提高效率,TI建议,电流源调节电压应设置为略高于电流源的净空(或压差)电压的电平。这可以防止由于输入电压的下降和/或输出电容的充电/放电周期引起的输出电压纹波引起的LED串中的电流变化。
动态背光
对于耗电量大的便携式设备,例如智能手机,制造商越来越多地采用环境光传感器:环境越暗,显示器所需的光输出越少。通过这种方式可以显着减少从电池汲取的电力。 TI指出,设计人员可以设置五个亮度等级的用例,对应于阳光,户外阴天,室内明亮,昏暗的房间和夜晚。亮度水平可以设置为100%至50%,相当于LED驱动电流从25 mA降至12.5 mA。
另一种选择是建立用户可调节的显示亮度选项,鼓励用户确定他或她在显示亮度和电池寿命之间的妥协。然而,最近,设计师开发了动态或内容调整的背光控制功能。在这种情况下,亮度级别取决于所显示信息的类型。例如,在观看视频内容时,动态背光控制器可以自动调节亮度等级以节省电力。不可避免地会对图像质量产生影响,但设计人员可以确定降低功耗和保持图像质量之间的最佳点。
在所有这些情况下,LED驱动器应提供灵活的调光支持,需要控制输出电流,从而控制LED光输出。提供不同的调光技术,包括模拟和PWM调光
功能和权衡
虽然有大量基于升压的LED驱动器可供选择,但选择取决于应用的性质。 Richtek总结了选择LED驱动器的关键参数:输入电压,LED串电压和LED串电流,单/多串LED和调光要求。 TI强调了在性能折衷方面需要关注的关键规格,即:开关频率和电感值/尺寸。
让我们简单介绍一些适用于为背光显示器和键盘供电的LED器件在电池便携式产品中。

图2:Richtek的RT9285高频升压转换器的典型应用电路。
Richtek的RT9285是一款高频异步升压转换器内置二极管,最多可支持五个白光LED,用于背光。该器件采用1 MHz固定开关频率和4至5 W LED工作;推荐的电感值为10至22μH。在2.7至5.5 V VIN范围内,效率高达85%。功能包括具有零浪涌的数字调光,但也可以实现PWM调光控制。通过设置电流检测电阻来调节LED电流(5至20 mA,分5步),为了提高精度,建议使用精密电阻。
对于较大的显示器,驱动多达11个串联的白光LED,一根井经过验证的解决方案是德州仪器公司的LM3530。该器件的开关频率为500 kHz,在2.7至5.5 V输入电压范围内效率为90%。 LED电流可通过I 2 C兼容接口调节,工作电压范围为0至29.5 mA,具有127个电流阶跃和8个最大电流电平。提供带有内部设定电阻的可编程双环境光传感器输入,并且该设备支持内容调整的背光功能。提供外部PWM输入以进行线性亮度调整。

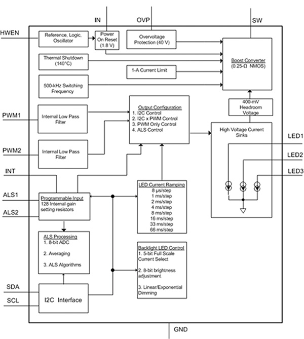
图3:TI LM3532基于升压的LED驱动器的功能框图。
《 p》更高版本的LM3532设计用于驱动三个并联的高压LED串,电压为40V。具有相同的规格,声称效率高达90%,它提供三个高压,低电压的电源。侧电流吸收并使用自适应电流调节方法来支持每个电流吸收器中的不同LED电流。
调光技术的进一步发展产生了TI的LM3697;再次使用升压转换器驱动多达三个并联的高压LED串,但这次采用11位指数调光。结果是亮度级别之间的转换更均匀。有趣的是,该设备提供两种开关频率设置。在500 kHz时,由于降低的开关损耗,在较轻负载条件下效率被认为更好。在此模式下,电感必须介于10和22μH之间。但是,在1 MHz时,效率在较高负载条件下得到优化,从而降低了MOSFET和电感器的导通损耗。在这种情况下,电感值可以介于4.7和22μH之间。
可穿戴设备的降压 - 升压
可穿戴设备和超低功耗设备可以从不同的方法中受益。 Richtek建议使用电荷泵设备,例如不需要外部电感的RT9361A,或降压 - 升压拓扑。当电池电压低于稳压输出电压值时,降压 - 升压可延长电池寿命。该公司的RT6150A/B值得在此进行调查。 Intersil还专注于可穿戴设备的电源管理设备,并推荐降压 - 升压。查看ISL91110,声称对于最大限度地提高单节锂离子电池的能量利用率非常有用,该电池在低于系统电压的电压下具有显着的容量。
结论
最大化电池生命仍然是便携式设备设计者的首要考虑因素,这些设备将用于蓬勃发展的物联网市场。最小化点亮显示器所需的功率是一个关键目标。基于Boost的LED驱动器可以做出有价值的贡献,但设计人员需要了解效率,开关频率,电感器尺寸和元件数量方面的权衡,这将取决于特定应用中预期的负载水平。