时间:2019-02-05 13:34
人气:
作者:admin
在去年12月份,也就是上个月,微软申请的多项专利被美国专利商标局局批准通过,而今天该系列专利中的第四项也最后通过了该机构的审批。综合之前的媒体报道来看,微软这次所有的四项专利似乎都围绕着针对Xbox One游戏机手柄的改进而设计。
其实在这些专利之前,微软已经对Xbox One游戏机的手柄进行了大量的增强和完善,其中就包括了新型Xbox自适应控制器,这是一种专为残疾人设计的游戏手柄,可以使Xbox One成为迄今为止市面上最容易使用的游戏主机。此外,它还具有任天堂Switch上的部分功能。
除了Xbox自适应手柄之外,根据专利来看微软似乎还在开发一种更适用于移动设备的Xbox手柄。这种Xbox自适应控制器可能是多年来游戏领域幅度最大、提升最明显的改进。而微软后来又为Xbox One增加了鼠标和键盘支持。
微软Xbox One触觉反馈专利
那么在这些基础上,微软在改进Xbox One手柄的道路上还会有哪些提升呢?最近公布的这批专利似乎表面上看起来并没有像Xbox自适应手柄那样有明显的提升,但绝对是朝着更高品质的沉浸式体验方向又有了提升。而最新的这项专利是微软希望通过在游戏中添加更高层次的反馈机制来提升沉浸感。
目前,游戏机的手柄已经具有了一定的触觉反馈功能。随着时间的推移,更多的游戏对这一功能进行了支持,体验也越来越好。在转向力反馈之前,早在1976年,游戏机的摇杆就具有了最招的触觉反馈功能。长期发展以来,游戏机手柄操纵杆一直是最大的特色,普通手柄可以与任天堂N64 Rumble Pak、索尼DualShock和微软的Impulse Trigger一起使用。简单地说,触觉反馈机制试图通过通过手柄发出的振动来产生某种感受。比如在游戏中玩家开车撞上墙壁,手柄就会震动。另外发射重机枪也会震动。这种应用方式虽然简单但很有效,很多玩家现在已经习惯了这种方式。
另一方面,力觉反馈实际上提供了一定的阻力。力觉反馈机制通常出现在高端的游戏方向盘配件上,它可以比游戏本身更有效的提升玩家的感受。通常来说,你会发现有时候这些反馈会提供更真实的“阻碍”式体验。比如当你在冰面上对赛车失去控制时,轮子会以不想要的方式转动,而当你试图重新获得控制时,会遇到很大的阻力。这些汽车的车轮由于内部马达原因,可以明显推动玩家仿佛在掌控一个真正的方向盘,就跟真实的场景一样。

从这项最新的专利来看,上面我们所介绍的内容这就是微软想要展示的内容,只是规模要相对小一些。而微软在专利的详细描述中说明了这一点:“虽然振动器可以以振动的形式提供反馈,但振动器不能调整任何其他用户感知到的触发状态,如电阻/张力、返回速度和/或行程/旋转长度。此外振动器不能根据不同的条件(例如计算设备/视频游戏的参数或用户首选项)动态更改触发器的用户感知状态。”
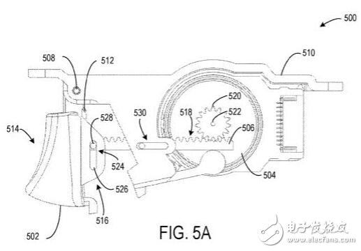
如果参考之前微软申请的专利来看,这种由电动机驱动的可调张力触发器,实际出现在了三个专利的图表中,均能提供的力量反馈效果。
综上所述,这只是一个力量反馈机制的例子,微软可以把它整合进手机手柄中,但由于它目前只适用于触发器,所以它的应用方位肯定会受到限制,但可以大幅提高沉浸感。
例如在赛车类游戏中,你会撞上一堵墙,加速触发器会锁定甚至提供反弹的效果。在FPS射击游戏中,你用完了弹药,没子弹了也会锁定。当然具体的效果取决于开发人员,但是这种相反都是很好例子。而我们能想到的唯一缺点是控制器是否容易损坏,但相信微软一旦决定使用这种技术,对于内置马达的使用强度也会有基本的保障如果有些玩家尝试试图强行激活,那么就有可能会把马达弄坏。当然,这只是猜测而已。
我们认为在手柄中加入力觉反馈机制是个非常不错的注意,鉴于微软已经申请了专利,因此这种技术可能只会出现在Xbox One身上。尽管这种技术并没有改变游戏规则,但肯定会给游戏带来更多的优势。不过如果微软的这种想法被证明是成功的话,你很可能会看到微软通过向索尼和其他公司出售使用权来获取利润。而我们现在需要做的就是等待看微软是如何在手柄中实现的这种效果,以及游戏开发者如何使用这个新功能。