全球最实用的IT互联网信息网站!

AI人工智能P2P分享&下载搜索网页发布信息网站地图

当前位置:诺佳网 > 电子/半导体 > 便携设备 >

佳能在日本申请了一项全新的机身防抖专利

时间:2018-11-06 16:32

人气:

作者:admin

标签: 佳能相机 

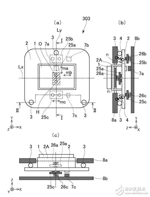
导读:佳能在日本申请了一项全新的机身防抖专利-近日我们发现佳能在日本申请了一项全新的专利,似乎就是全新的佳能机身防抖专利,并且从专利图中来看,这种防抖方式主要还是基于单反...

佳能的全画幅专微EOS R上市之后,消费者普遍对于机身防抖的缺失有所失望,机身防抖对于相机视频的成片率有着巨大的帮助,相信佳能也在为此而努力。

佳能在日本申请了一项全新的机身防抖专利

近日我们发现佳能在日本申请了一项全新的专利,似乎就是全新的佳能机身防抖专利,并且从专利图中来看,这种防抖方式主要还是基于单反的机内防抖。目前尚不清楚佳能会在哪款机器中应用全新的防抖技术,不过随着专利的披露,相信离最终的应用也不会太远了。

佳能在日本申请了一项全新的机身防抖专利

温馨提示:以上内容整理于网络,仅供参考,如果对您有帮助,留下您的阅读感言吧!
相关阅读
本类排行
相关标签
本类推荐

CPU | 内存 | 硬盘 | 显卡 | 显示器 | 主板 | 电源 | 键鼠 | 网站地图

Copyright © 2025-2035 诺佳网 版权所有 备案号:赣ICP备2025066733号
本站资料均来源互联网收集整理,作品版权归作者所有,如果侵犯了您的版权,请跟我们联系。

关注微信