时间:2018-11-24 11:46
人气:
作者:admin
“双屏”这个词汇最近频繁的出现在科技类新闻中,有关微软要推出双屏Surface移动设备的消息,也有多年的传闻了。而近期微软曝光的多项专利技术,不仅加深了双屏Surface的可信度,并且也预示着双屏Surface离我们越来越近了。最近美国专利商标局(USPTO)公布了一项名为《在铰链式多平设备上呈现虚拟对象》的专利,其中详细介绍了微软的一款双屏设备。换言之,该设备支持 3D 渲染与显示。
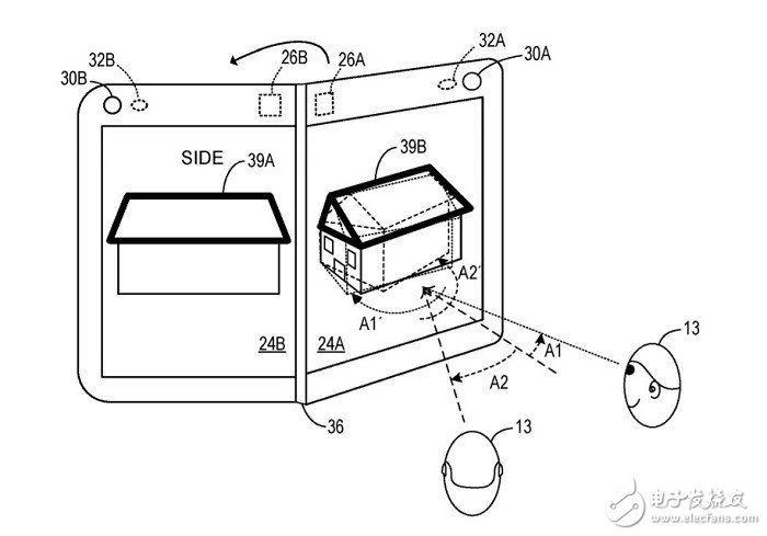
微软在申请文件这样描述:用户能够在各种位置与多屏移动设备进行交互,在垂直状态下,两块屏幕可分别对准用户和其它位置/方向。基于设备开合的角度,处理器可渲染主屏上显示的虚拟对象的二维视图,以及在副屏呈现虚拟对象的三维视图。

通过铰链连接两块屏幕的壳体,传感器可安在壳体中,配置后可检测屏幕展开的角度
此外上周,微软还被曝光了更多的可折叠移动设备专利,比如双屏摄像头对焦、3D 音频、以及如何在双屏上运行应用程序等。