时间:2018-07-07 11:52
人气:
作者:admin
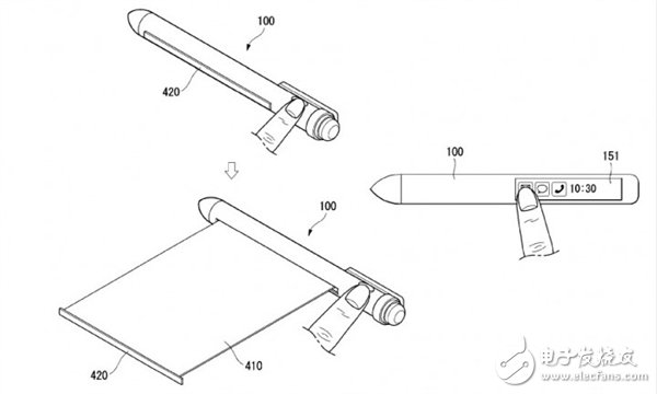
手机能做成手表形状,能做成折叠书本形状,这些都不难理解。但是手机做成笔状,你能接受么?近日外媒报道,LG正在为智能手写笔申请专利,而这款智能笔就是一款智能手机。


从设计图我们可以看到,智能笔上拥有一块小尺寸屏幕,可以显示通知信息,还有一块转轴式的柔性大屏幕,可以用来浏览网页等操作。手写笔上集成了陀螺仪、电子罗盘、眼球追踪传感器、指纹识别等传感器,支持拍照,拥有麦克风和耳机,几乎与正常的智能手机没有差别。
当然,智能手写笔还保留了它本身的功能,可以与其他智能设备连接,在配对设备上进行书写操作。