时间:2018-05-08 09:22
人气:
作者:admin
最近又有多方消息传出了三星要推出可折叠屏幕手机的Galaxy X,我还记得一开始看到这样的新闻是在前年要爆出三星S8的时候就有人说要出折叠屏幕了,不过那时候还不叫X。
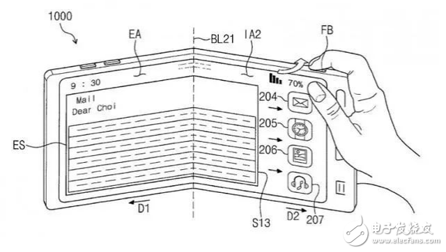
可折叠式屏幕手机对于目前来说是有点偏科幻的创意,中兴也曾经推出了双屏手机,虽然并不是真正意义上的可折叠屏幕,更像是一部翻盖双屏手机。
而三星在此之前已经推出过了曲面屏,而且也曾经展示过可以随意弯曲的屏幕。
所以三星成为了最有可能率先推出可折叠屏幕手机的厂商。根据外媒The Bell报道,这款可折叠手机内部代号已经从“Valley”调整至“Winner”,并且已经和多家供应商讨论内部组件和其他元件。

根据最新泄露,三星的原型总共使用了3块OLED面板,每个面板大约为3.5英寸,在展开之后能够形成7.0英寸的屏幕,而背面还有一块3.5英寸的屏幕,这样即使在折叠闭合状态也能有相应的屏幕。虽然目前该机的设计工作已经进入尾声,预计最早会在2018年11月份开始小批量试产。
你们觉得明年能看到真正的可折叠屏幕吗?