时间:2017-02-13 15:51
人气:
作者:admin
为了巩固胜利果实,苹果总是专利不断,最近曝光的新专利再次向我们展示了苹果巨大的脑洞,它们准备将触摸功能扩大化,把全机身都变成触控板。
与这款专利搭配使用的材料名就非常科幻,专利描述显示,这种“量子隧穿”材料可以彻底“废掉”使用多年的物理按键,让机身每一个角落都拥有触控能力。
据悉,这种量子隧穿材料实现全机身触控主要靠复杂的电子交换作用,苹果的专利主要集中于让iPhone的保护壳拥有触控能力,但未来该技术也能应用至iPhone本身。

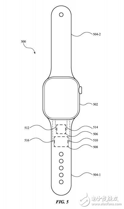
除此之外,该材料也能应用于Apple Watch的表带,不过到底如何实现还是个未知数,毕竟表带会时刻贴在用户手腕上,因此实现该功能的难度较大。

除了手机和手表,量子隧穿材料的出现还能解放EarPods笨拙的线控。不过,该专利申请于2015年,当时苹果恐怕还没有下决心砍掉iPhone的耳机接口呢。

虽然专利描述让人对该技术抱有无限期待,但它短期内还实现不了,而且按照苹果的传统,许多专利恐怕一辈子都无法成真。