时间:2016-11-03 14:09
人气:
作者:admin
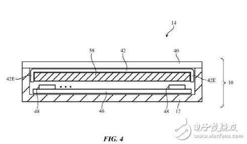
通过了一项新专利,这项专利介绍了一款使用碳纳米管印刷电路的弯曲或折叠屏幕智能手机。这项专利苹果在2014年8月28日提出申请,专利名为“碳纳米管阴极电子设备印刷电路”。
从专利细节来看,苹果希望通过创建更灵活的电路板来创建曲面智能手机或平板电脑。虽然目前市面上已经有一些曲面显示屏产品,但是屏幕无法改变形状,如果继续弯曲,那么内部的组件就会受到损害。

在某些情况下,电子设备印刷电路板在使用上很难让人满意,在一些设备的使用周期中,通过多次按去弯曲和平整,不小心会造成电路损坏。而这就有可能导致印刷电话和信号线路性能变差,影响设备正常使用。虽然如果限制电路的弯曲程度可以延长使用时间,但是这样的产品也会在吸引力上大大折扣。

而苹果认为,如果使用碳纳米管印刷电路的话,不仅可以形成信号传播路径,同时不会导致开裂,就算多次弯曲使用也不会损坏。而碳纳米管可以实际印刷到各个部位,无论是显示设备还是铰链设计的内部,都可以在不同的形势下进行工作。

苹果还表示,如果使用碳纳米管技术,可以让设备变得更轻同时强度更高。而这对于一些每天需要多次进行折叠的设备来说,可以很好的延长铰链部分的使用时间。