时间:2023-10-12 10:51
人气:
作者:admin
HD6001型多功能全自动振荡仪符合GB/T 17623-1998《绝缘油中溶解气体组分含量的气相色谱测定法》及DL429.4-91《水溶性酸定量测定法》的方法;用于实验室中变压器油等样品的恒温震荡脱气。本仪器采用5寸彩色液晶屏,显示内容丰富,使用方便。用户可根据用户需求自定义设置仪器加热和震荡时间,功能灵活多样,操作简单方便、控温精度高。仪器采用高品质的电机及先进的传动机制,具有体积小、重量轻、低噪音等特点。
使用本产品时,还需遵守实验室对于此类设备的相关使用要求以及相关的操作规程。如果您在使用仪器的过程中遇到一些技术问题,请查阅本说明书相关部分,或者直接与我公司联系。感谢您的合作。
HD6001型多功能全自动振荡仪试验的功能有哪些
色谱脱气振荡:恒温50℃,振荡时间20分钟,恒温静止时间10分钟。
水溶性酸振荡:恒温75℃,振荡时间5分钟
其他物理振荡:温度0-100℃内任意设置,振荡时间0-99分钟内任意设置。
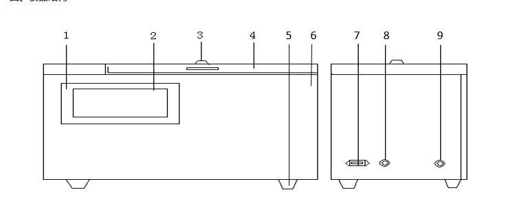
HD6001型多功能全自动振荡仪仪器结构


1、屏幕面框 2、触摸显示屏 3、温度计插孔
4、仪器上盖 5、仪器底脚 6、仪器前挡板
7、电源插孔 8、保险丝 9、电源开关
五、使用方法
1、通电后进入开机界面


2、按“色谱脱气振荡”,进入色谱脱气振荡界面;


按“开始”健,仪器开始自动升温、振荡、恒温至试验结束。



试验结束后,仪器蜂鸣器会发出提示音。
试验在进行中,按“停止”键,仪器会停止升温、振荡、恒温。
按“退出”键,即退出当前界面返回开机主界面。

3、按“水溶性酸振荡”,进入水溶性酸振荡界面;

按“开始”健,仪器开始自动升温、振荡至试验结束。


试验在进行中,按“停止”键,仪器会停止升温、振荡、恒温。
按“退出”键,即退出当前界面返回开机主界面。
4、按“其他物理振荡”,进入其他物理振荡界面;

可根据使用要求任意设定温度、振荡时间与静止时间;试验在进行中,按“停止”键,仪器会停止升温、振荡、恒温。按“退出”键,即退出当前界面返回开机主界面。
5、按“直接开始振荡” 可检查仪器振荡功能是否正常;
六、外插温度计方法
1、将上开门的温度计插孔密封螺钉取下,按照下图(左图)规定的温度计插入尺寸。


2、把温度计在上图(右图)规定的尺寸处用胶布粘好,使其高出一个台阶,能将温度计定位并卡在插孔上。
七、注意事项
1、仪器需安装在水平坚固的工作台上;
2、仪器不得安装在有腐蚀性气体的室内;
3、仪器不得安放于湿度大的地方;
4、仪器显示屏不要用手或硬物冲击、碰撞。
上一篇:测量器具的技术性能指标