时间:2023-05-04 15:07
人气:
作者:admin
地温是指地表面及其以下不同深度处土壤温度的统称,其直接表征着大气和土壤层的热量交换,是地表和大气界面的重要参量,尤其在农业和气象领域有着重要意义。在温度测量中,铂电阻因其性能稳定、电阻随温度变化呈线性关系而得到广泛应用。本文主要介绍了以SC1641(原型号SC3794)芯片为核心部件的高精度多通道的温度测量技术在地温测量中的应用,以期为地温数据采集提供新途径。
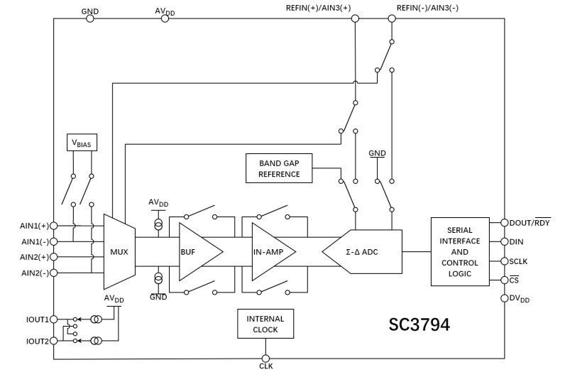
SC1641为三通道24位的设计,适合高精度测量应用的低功耗、低噪声、完整模拟前端,芯炽内置一个低噪声24位Σ-Δ型模数转换器,其中含有3个差分模拟输入,还集成了片内低噪声仪表放大器,因而可直接输入小信号。当增益设置为64、更新速率为4.17Hz时,均方根(RMS)噪声为52nV。较好地满足了地温测量中高精度温度测量、多通道测量的要求。

SC1641功能模块图
为保证温度测量的精度,SC1641内置一个精密低噪声、低漂移内部带隙基准电压源,而且也可采用一个外部差分基准电压。其它片内特性包括可编程激励电流源、熔断电流控制和偏置电压产生器。利用偏置电压产生 器可将某一通道的共模电压设置为 AVDD/2。
SC1641可以采用内部时钟或外部时钟工作,输出数据速率可通过软件编程设置,可在4.17Hz至940Hz的范围内变化。SC1641采用2.7V至5.25V电源供电,典型功耗为355µA,采用16引脚TSSOP封装。
注:如涉及作品版权问题,请联系删除。