时间:2022-12-01 14:57
人气:
作者:admin
激光跟踪仪是利用激光干涉、测距仪和两个相互垂直的角编码器组成的三维光学坐标测量仪器,通俗地说,它是利用光的反射、光的干涉和光电信号转换等原理实现测量的仪器,它使用激光来跟踪目标反射镜,通过自身的测角系统和激光测距系统来确定空间点的坐标,从而实现完整的测量过程,其测量精度最高可达到10um。
激光跟踪仪像所有的三坐标测量设备一样,提供了丰富的建坐标方式,除了传统的三点建坐标、点线面建坐标、多点拟合坐标系等方式以外,还提供了一种复杂拟合建坐标方式,这种建坐标方式允许使用工件上的任意曲面、平面、定位孔、定位点组合起来作为建坐标的基准,拟合计算出工件坐标系。
工作原理
测量目标点距离和水平、垂直方向偏转角。其基本原理是在目标位置上安置一个反射器,激光跟踪头发出的激光射到反射器上并返射回到跟踪头,当目标移动时,跟踪头调整光束方向来对准目标。同时,返回光束为检测系统所接收,用来测算目标的空间位置。总之,激光跟踪仪是通过测量一个在目标点上放置的反射器的位置,进而确定目标点的空间坐标。
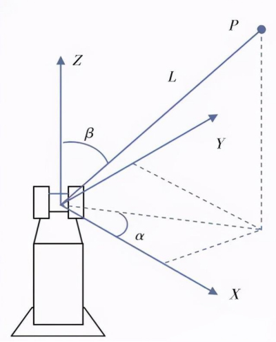
激光跟踪仪能直接测量出空间点的三维坐标,这些三维坐标是在激光跟踪仪的仪器坐标系下得到的。该坐标系定义为:以跟踪头中心为原点,以度盘上的0读数方向为X轴,以度盘平面的法线向上方向为Z轴,以右手坐标系规则确定Y轴,如此建立起仪器坐标系。
激光跟踪仪测量原理图当反射器离开基准位置(基准位置距仪器中心的距离已知),并在空间移动时,激光跟踪仪会自动跟踪反射器,同时记录干涉测距值D及垂直度盘和水平度盘上的角度值α、β,用这3个观测值,依据公式:

就可得到点的空间三维直角坐标(x, y, z)。
GTS激光跟踪仪被誉为移动式三坐标测量机,它是基于球坐标系的便携式坐标测量系统,具有高精度、效率高、实时跟踪测量、安装快捷、操作简便等特点,适合于大尺寸工件配装测量。测量精度达到微米级,且测量范围可达160米,不仅可以对静止的空间目标进行高精度三维测量,还可以对运动的目标进行跟踪测量,广泛应用于飞机、轮船、火箭、卫星、雷达、动车、汽车、工业机器人、风电叶片、水轮机/汽轮机、球磨机、盾构机等领域。
上一篇:光学轮廓仪检测仪器有哪些?
下一篇:三坐标测量仪是干嘛的?