时间:2022-11-22 16:01
人气:
作者:admin
示波器是一种使用非常广泛,且使用相对复杂的仪器。本章从使用的角度介绍一下示波器的原理和使用方法。
01示波器工作原理
示波器是利用电子示波管的特性,将人眼无法直接观测的交变电信号转换成图像,显示在荧光屏上以便测量的电子测量仪器。它是观察数字电路实验现象、分析实验中的问题、测量实验结果必不可少的重要仪器。示波器由示波管和电源系统、同步系统、X轴偏转系统、Y轴偏转系统、延迟扫描系统、标准信号源组成。
1、示波管
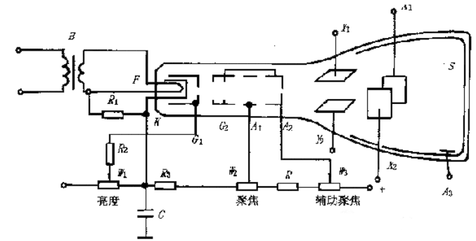
阴极射线管(CRT)简称示波管,是示波器的核心。它将电信号转换为光信号。正如图1所示,电子枪、偏转系统和荧光屏三部分密封在一个真空玻璃壳内,构成了一个完整的示波管。

图1 示波管的内部结构和供电图示
(1)荧光屏
现在的示波管屏面通常是矩形平面,内表面沉积一层磷光材料构成荧光膜。在荧光膜上常又增加一层蒸发铝膜。高速电子穿过铝膜,撞击荧光粉而发光形成亮点。铝膜具有内反射作用,有利于提高亮点的辉度。铝膜还有散热等其他作用。
当电子停止轰击后,亮点不能立即消失而要保留一段时间。亮点辉度下降到原始值的10%所经过的时间叫做“余辉时间”。余辉时间短于10μs为极短余辉,10μs—1ms为短余辉,1ms—0.1s为中余辉,0.1s-1s为长余辉,大于1s为极长余辉。一般的示波器配备中余辉示波管,高频示波器选用短余辉,低频示波器选用长余辉。
由于所用磷光材料不同,荧光屏上能发出不同颜色的光。一般示波器多采用发绿光的示波管,以保护人的眼睛。
(2)电子枪及聚焦
电子枪由灯丝(F)、阴极(K)、栅极(G1)、前加速极(G2)(或称第二栅极)、第一阳极(A1)和第二阳极(A2)组成。它的作用是发射电子并形成很细的高速电子束。灯丝通电加热阴极,阴极受热发射电子。
栅极是一个顶部有小孔的金属园筒,套在阴极外面。由于栅极电位比阴极低,对阴极发射的电子起控制作用,一般只有运动初速度大的少量电子,在阳极电压的作用下能穿过栅极小孔,奔向荧光屏。初速度小的电子仍返回阴极。
如果栅极电位过低,则全部电子返回阴极,即管子截止。调节电路中的W1电位器,可以改变栅极电位,控制射向荧光屏的电子流密度,从而达到调节亮点的辉度。第一阳极、第二阳极和前加速极都是与阴极在同一条轴线上的三个金属圆筒。前加速极G2与A2相连,所加电位比A1高。G2的正电位对阴极电子奔向荧光屏起加速作用。
电子束从阴极奔向荧光屏的过程中,经过两次聚焦过程。第一次聚焦由K、G1、G2完成,K、K、G1、G2叫做示波管的第一电子透镜。第二次聚焦发生在G2、A1、A2区域,调节第二阳极A2的电位,能使电子束正好会聚于荧光屏上的一点,这是第二次聚焦。A1上的电压叫做聚焦电压,A1又被叫做聚焦极。有时调节A1电压仍不能满足良好聚焦,需微调第二阳极A2的电压,A2又叫做辅助聚焦极。
(3)偏转系统
偏转系统控制电子射线方向,使荧光屏上的光点随外加信号的变化描绘出被测信号的波形。图8.1中,Y1、Y2和Xl、X2两对互相垂直的偏转板组成偏转系统。Y轴偏转板在前,X轴偏转板在后,因此Y轴灵敏度高(被测信号经处理后加到Y轴)。两对偏转板分别加上电压,使两对偏转板间各自形成电场,分别控制电子束在垂直方向和水平方向偏转。
(4)示波管的电源
为使示波管正常工作,对电源供给有一定要求。规定第二阳极与偏转板之间电位相近,偏转板的平均电位为零或接近为零。阴极必须工作在负电位上。栅极G1相对阴极为负电位(—30V~—100V),而且可调,以实现辉度调节。第一阳极为正电位(约+100V~+600V),也应可调,用作聚焦调节。
第二阳极与前加速极相连,对阴极为正高压(约+1000V),相对于地电位的可调范围为±50V。由于示波管各电极电流很小,可以用公共高压经电阻分压器供电。
02示波器的基本组成
从上一小节可以看出,只要控制X轴偏转板和Y轴偏转板上的电压,就能控制示波管显示的图形形状。我们知道,一个电子信号是时间的函数f(t),它随时间的变化而变化。因此,只要在示波管的X轴偏转板上加一个与时间变量成正比的电压,在y轴加上被测信号(经过比例放大或者缩小),示波管屏幕上就会显示出被测信 号随时间变化的图形。电信号中,在一段时间内与时间变量成正比的信号是锯齿波。
示波器的基本组成框图如图2所示。它由示波管、Y轴系统、X轴系统、Z轴系统和电源等五部分组成。

图2示波器基本组成框图
被测信号①接到“Y"输入端,经Y轴衰减器适当衰减后送至Y1放大器(前置放大),推挽输出信号②和③。经延迟级延迟Г1时间,到Y2放大器。放大后产生足够大的信号④和⑤,加到示波管的Y轴偏转板上。为了在屏幕上显示出完整的稳定波形,将Y轴的被测信号③引入X轴系统的触发电路,在引入信号的正(或者负)极性的某一电平值产生触发脉冲⑥,启动锯齿波扫描电路(时基发生器),产生扫描电压⑦。
由于从触发到启动扫描有一时间延迟Г2,为保证Y轴信号到达荧光屏之前X轴开始扫描,Y轴的延迟时间Г1应稍大于X轴的延迟时间Г2。扫描电压⑦经X轴放大器放大,产生推挽输出⑨和⑩,加到示波管的X轴偏转板上。z轴系统用于放大扫描电压正程,并且变成正向矩形波,送到示波管栅极。这使得在扫描正程显示的波形有某一固定辉度,而在扫描回程进行抹迹。
以上是示波器的基本工作原理。双踪显示则是利用电子开关将Y轴输入的两个不同的被测信号分别显示在荧光屏上。由于人眼的视觉暂留作用,当转换频率高到一定程度后,看到的是两个稳定的、清晰的信号波形。
示波器中往往有一个精确稳定的方波信号发生器,供校验示波器用。
03示波器使用
本节介绍示波器的使用方法。示波器种类、型号很多,功能也不同。数字电路实验中使用较多的是20MHz或者40MHz的双踪示波器。这些示波器用法大同小异。本节不针对某一型号的示波器,只是从概念上介绍示波器在数字电路实验中的常用功能。
1、荧光屏
荧光屏是示波管的显示部分。屏上水平方向和垂直方向各有多条刻度线,指示出信号波形的电压和时间之间的关系。水平方向指示时间,垂直方向指示电压。水平方向分为10格,垂直方向分为8格,每格又分为5份。垂直方向标有0%,10%,90%,100%等标志,水平方向标有10%,90%标志,供测直流电平、交流信号幅度、延迟时间等参数使用。根据被测信号在屏幕上占的格数乘以适当的比例常数(V/DIV,TIME/DIV)能得出电压值与时间值。
2、示波管和电源系统
(1)电源(Power)
示波器主电源开关。当此开关按下时,电源指示灯亮,表示电源接通。
(2)辉度(Intensity)
旋转此旋钮能改变光点和扫描线的亮度。观察低频信号时可小些,高频信号时大些。
一般不应太亮,以保护荧光屏。
(3)聚焦(Focus)
聚焦旋钮调节电子束截面大小,将扫描线聚焦成最清晰状态。
(4)标尺亮度(Illuminance)
此旋钮调节荧光屏后面的照明灯亮度。正常室内光线下,照明灯暗一些好。室内光线不足的环境中,可适当调亮照明灯。
3、垂直偏转因数和水平偏转因数
(1)垂直偏转因数选择(VOLTS/DIV)和微调
在单位输入信号作用下,光点在屏幕上偏移的距离称为偏移灵敏度,这一定义对X轴和Y轴都适用。灵敏度的倒数称为偏转因数。垂直灵敏度的单位是为cm/V,cm/mV或者DIV/mV,DIV/V,垂直偏转因数的单位是V/cm,mV/cm或者V/DIV,mV/DIV。实际上因习惯用法和测量电压读数的方便,有时也把偏转因数当灵敏度。
踪示波器中每个通道各有一个垂直偏转因数选择波段开关。一般按1,2,5方式从5mV/DIV到5V/DIV分为10档。波段开关指示的值代表荧光屏上垂直方向一格的电压值。例如波段开关置于1V/DIV档时,如果屏幕上信号光点移动一格,则代表输入信号电压变化1V。
每个波段开关上往往还有一个小旋钮,微调每档垂直偏转因数。将它沿顺时针方向旋到底,处于“校准”位置,此时垂直偏转因数值与波段开关所指示的值一致。逆时针旋转此旋钮,能够微调垂直偏转因数。垂直偏转因数微调后,会造成与波段开关的指示值不一致,这点应引起注意。许多示波器具有垂直扩展功能,当微调旋钮被拉出时,垂直灵敏度扩大若干倍(偏转因数缩小若干倍)。例如,如果波段开关指示的偏转因数是1V/DIV,采用×5扩展状态时,垂直偏转因数是0.2V/DIV。
在做数字电路实验时,在屏幕上被测信号的垂直移动距离与+5V信号的垂直移动距离之比常被用于判断被测信号的电压值。
(2)时基选择(TIME/DIV)和微调
时基选择和微调的使用方法与垂直偏转因数选择和微调类似。时基选择也通过一个波段开关实现,按1、2、5方式把时基分为若干档。波段开关的指示值代表光点在水平方向移动一个格的时间值。例如在1μS/DIV档,光点在屏上移动一格代表时间值1μS。
“微调”旋钮用于时基校准和微调。沿顺时针方向旋到底处于校准位置时,屏幕上显示的时基值与波段开关所示的标称值一致。逆时针旋转旋钮,则对时基微调。旋钮拔出后处于扫描扩展状态。通常为×10扩展,即水平灵敏度扩大10倍,时基缩小到1/10。例如在2μS/DIV档,扫描扩展状态下荧光屏上水平一格代表的时间值等于
2μS×(1/10)=0.2μS
TDS实验台上有10MHz、1MHz、500kHz、100kHz的时钟信号,由石英晶体振荡器和分频器产生,准确度很高,可用来校准示波器的时基。
示波器的标准信号源CAL,专门用于校准示波器的时基和垂直偏转因数。例如COS5041型示波器标准信号源提供一个VP-P=2V,f=1kHz的方波信号。
示波器前面板上的位移(Position)旋钮调节信号波形在荧光屏上的位置。旋转水平位移旋钮(标有水平双向箭头)左右移动信号波形,旋转垂直位移旋钮(标有垂直双向箭头)上下移动信号波形。
4、输入通道和输入耦合选择
(1)输入通道选择
输入通道至少有三种选择方式:通道1(CH1)、通道2(CH2)、双通道(DUAL)。选择通道1时,示波器仅显示通道1的信号。选择通道2时,示波器仅显示通道2的信号。选择双通道时,示波器同时显示通道1信号和通道2信号。测试信号时,首先要将示波器的地与被测电路的地连接在一起。
根据输入通道的选择,将示波器探头插到相应通道插座上,示波器探头上的地与被测电路的地连接在一起,示波器探头接触被测点。示波器探头上有一双位开关。此开关拨到“×1”位置时,被测信号无衰减送到示波器,从荧光屏上读出的电压值是信号的实际电压值。此开关拨到“×10"位置时,被测信号衰减为1/10,然后送往示波器,从荧光屏上读出的电压值乘以10才是信号的实际电压值。
(2)输入耦合方式
输入耦合方式有三种选择:交流(AC)、地(GND)、直流(DC)。当选择“地”时,扫描线显示出“示波器地”在荧光屏上的位置。直流耦合用于测定信号直流绝对值和观测极低频信号。交流耦合用于观测交流和含有直流成分的交流信号。在数字电路实验中,一般选择“直流”方式,以便观测信号的绝对电压值。
5、触发
第一节指出,被测信号从Y轴输入后,一部分送到示波管的Y轴偏转板上,驱动光点在荧光屏上按比例沿垂直方向移动;另一部分分流到x轴偏转系统产生触发脉冲,触发扫描发生器,产生重复的锯齿波电压加到示波管的X偏转板上,使光点沿水平方向移动,两者合一,光点在荧光屏上描绘出的图形就是被测信号图形。
由此可知,正确的触发方式直接影响到示波器的有效操作。为了在荧光屏上得到稳定的、清晰的信号波形,掌握基本的触发功能及其操作方法是十分重要的。
(1)触发源(Source)选择
要使屏幕上显示稳定的波形,则需将被测信号本身或者与被测信号有一定时间关系的触发信号加到触发电路。触发源选择确定触发信号由何处供给。通常有三种触发源:内触发(INT)、电源触发(LINE)、外触发EXT)。
内触发使用被测信号作为触发信号,是经常使用的一种触发方式。由于触发信号本身是被测信号的一部分,在屏幕上可以显示出非常稳定的波形。双踪示波器中通道1或者通道2都可以选作触发信号。
电源触发使用交流电源频率信号作为触发信号。这种方法在测量与交流电源频率有关的信号时是有效的。特别在测量音频电路、闸流管的低电平交流噪音时更为有效。
外触发使用外加信号作为触发信号,外加信号从外触发输入端输入。外触发信号与被测信号间应具有周期性的关系。由于被测信号没有用作触发信号,所以何时开始扫描与被测信号无关。
正确选择触发信号对波形显示的稳定、清晰有很大关系。例如在数字电路的测量中,对一个简单的周期信号而言,选择内触发可能好一些,而对于一个具有复杂周期的信号,且存在一个与它有周期关系的信号时,选用外触发可能更好。
(2)触发耦合(Coupling)方式选择
触发信号到触发电路的耦合方式有多种,目的是为了触发信号的稳定、可靠。这里介绍常用的几种。
AC耦合又称电容耦合。它只允许用触发信号的交流分量触发,触发信号的直流分量被隔断。通常在不考虑DC分量时使用这种耦合方式,以形成稳定触发。但是如果触发信号的频率小于10Hz,会造成触发困难。
直流耦合(DC)不隔断触发信号的直流分量。当触发信号的频率较低或者触发信号的占空比很大时,使用直流耦合较好。
低频抑制(LFR)触发时触发信号经过高通滤波器加到触发电路,触发信号的低频成分被抑制;高频抑制(HFR)触发时,触发信号通过低通滤波器加到触发电路,触发信号的高频成分被抑制。此外还有用于电视维修的电视同步(TV)触发。这些触发耦合方式各有自己的适用范围,需在使用中去体会。
(3)触发电平(Level)和触发极性(Slope)
触发电平调节又叫同步调节,它使得扫描与被测信号同步。电平调节旋钮调节触发信号的触发电平。一旦触发信号超过由旋钮设定的触发电平时,扫描即被触发。顺时针旋转旋钮,触发电平上升;逆时针旋转旋钮,触发电平下降。当电平旋钮调到电平锁定位置时,触发电平自动保持在触发信号的幅度之内,不需要电平调节就能产生一个稳定的触发。当信号波形复杂,用电平旋钮不能稳定触发时,用释抑(HoldOff)旋钮调节波形的释抑时间(扫描暂停时间),能使扫描与波形稳定同步。
极性开关用来选择触发信号的极性。拨在“+”位置上时,在信号增加的方向上,当触发信号超过触发电平时就产生触发。拨在“-”位置上时,在信号减少的方向上,当触发信号超过触发电平时就产生触发。触发极性和触发电平共同决定触发信号的触发点。
6、扫描方式(SweepMode)
扫描有自动(Auto)、常态(Norm)和单次(Single)三种扫描方式。
自动:当无触发信号输入,或者触发信号频率低于50Hz时,扫描为自激方式。
常态:当无触发信号输入时,扫描处于准备状态,没有扫描线。触发信号到来后,触发扫描。
单次:单次按钮类似复位开关。单次扫描方式下,按单次按钮时扫描电路复位,此时准备好(Ready)灯亮。触发信号到来后产生一次扫描。单次扫描结束后,准备灯灭。单次扫描用于观测非周期信号或者单次瞬变信号,往往需要对波形拍照。
上面扼要介绍了示波器的基本功能及操作。示波器还有一些更复杂的功能,如延迟扫描、触发延迟、X-Y工作方式等,这里就不介绍了。示波器入门操作是容易的,真正熟练则要在应用中掌握。值得指出的是,示波器虽然功能较多,但许多情况下用其他仪器、仪表更好。例如,在数字电路实验中,判断一个脉宽较窄的单脉冲是 否发生时,用逻辑笔就简单的多;测量单脉冲脉宽时,用逻辑分析仪更好一些。
04数字示波器使用必须注意问题
1、前言
数字示波器因具有波形触发、存储、显示、测量、波形数据分析处理等独特优点,其使用日益普及。由于数字示波器与模拟示波器之间存在较大的性能差异,如果使用不当,会产生较大的测量误差,从而影响测试任务。
2、区分模拟带宽和数字实时带宽
带宽是示波器最重要的指标之一。模拟示波器的带宽是一个固定的值,而数字示波器的带宽有模拟带宽和数字实时带宽两种。数字示波器对重复信号采用顺序采样或随机采样技术所能达到的最高带宽为示波器的数字实时带宽,数字实时带宽与最高数字化频率和波形重建技术因子K相关(数字实时带宽=最高数字化速率/K),一 般并不作为一项指标直接给出。
从两种带宽的定义可以看出,模拟带宽只适合重复周期信号的测量,而数字实时带宽则同时适合重复信号和单次信号的测量。厂家声称示波器的带宽能达到多少兆,实际上指的是模拟带宽,数字实时带宽是要低于这个值的。例如说TEK公司的TES520B的带宽为500MHz,实际上是指其模拟带宽为500MHz,而最高数字实时带宽只能达到400MHz远低于模拟带宽。所以在测量单次信号时,一定要参考数字示波器的数字实时带宽,否则会给测量带来意想不到的误差。
3、有关采样速率
采样速率也称为数字化速率,是指单位时间内,对模拟输入信号的采样次数,常以MS/s表示。采样速率是数字示波器的一项重要指标。
(1)如果采样速率不够,容易出现混迭现象
如果示波器的输人信号为一个100KHz的正弦信号,示波器显示的信号频率却是50KHz,这是怎么回事呢?这是因为示波器的采样速率太慢,产生了混迭现象。混迭就是屏幕上显示的波形频率低于信号的实际频率,或者即使示波器上的触发指示灯已经亮了,而显示的波形仍不稳定。混迭的产生如图1所示。
那么,对于一个未知频率的波形,如何判断所显示的波形是否已经产生混迭呢?可以通过慢慢改变扫速t/div到较快的时基档,看波形的频率参数是否急剧改变,如果是,说明波形混迭已经发生;或者晃动的波形在某个较快的时基档稳定下来,也说明波形混迭已经发生。根据奈奎斯特定理,采样速率至少高于信号高频成分的2倍才不会发生混迭,如一个500MHz的信号,至少需要1GS/s的采样速率。有如下几种方法可以简单地防止混迭发生:
a.调整扫速;
b.采用自动设置(Autoset);
c.试着将收集方式切换到包络方式或峰值检测方式,因为包络方式是在多个收集记录中寻找极值,而峰值检测方式则是在单个收集记录中寻找最大最小值,这两种方法都能检测到较快的信号变化。
如果示波器有InstaVu采集方式,可以选用,因为这种方式采集波形速度快,用这种方法显示的波形类似于用模拟示波器显示的波形。
(2)采样速率与t/div的关系
每台数字示波器的最大采样速率是一个定值。但是,在任意一个扫描时间t/div,采样速率fs由下式给出:
fs=N/(t/div)N为每格采样点
当采样点数N为一定值时,fs与t/div成反比,扫速越大,采样速率越低。
综上所述,使用数字示波器时,为了避免混迭,扫速档最好置于扫速较快的位置。如果想要捕捉到瞬息即逝的毛刺,扫速档则最好置于主扫速较慢的位置。
审核编辑:汤梓红
上一篇:示波器探头参数,你了解多少?
下一篇:深度解析电机谐波分析跟踪测量