全球最实用的IT互联网站!
人工智能P2P分享搜索全网发布信息网站地图标签大全
思仪科技的5G多通道基站综测仪解决方案
阅读全文2023-05-25
高(低)频信号混入低(高)频噪声小信号时频
磐石测控:PS-6000SN系列多工位插拔力试验机的数
会议邀请 | 5月30日-6月1日127展位,纳特通信邀您
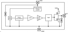
低功耗高灵敏全极性霍尔开关芯片AH464概述
普洛帝便携式颗粒计数器应用介绍
阅读全文2023-05-24
下一代设计的测试数据流
自查!化工仪表必备66条自动化知识
为何接收机要线性放大呢?
磐石测控:PS-9105S系列小三轴荷重试验机的分析?
替代水浸泡水法,气密性检测仪成产品防
高温热重分析仪是什么
示波器怎么看峰峰值呢?
输出过冲原因及改善措施
CPU | 内存 | 硬盘 | 显卡 | 显示器 | 主板 | 电源 | 键鼠 | 网站地图
Copyright © 2025-2035 诺佳网 版权所有 备案号:赣ICP备2025066733号 本站资料均来源互联网收集整理,作品版权归作者所有,如果侵犯了您的版权,请跟我们联系。