全球最实用的IT互联网站!
人工智能P2P分享搜索全网发布信息网站地图标签大全
4525DO-SS3AS015AP气压高度传感器风速测量
阅读全文2023-05-12
SS2118氧气传感器用于环境监测
KPSI-730水位传感器投入式液位变送器
CM-01接触式传感器应用详情
SP1-25拉绳位移传感器钢丝绳怎么维护
致真精密仪器MOK E磁滞回线测量仪介绍
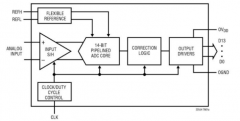
国芯思辰 |兼容LTC2245,14位GAD2245可用于手持数字
温度循环试验箱的用途及产品特色
MHR 100位移传感器使用注意事项
1005802-1压电电缆应用及使用
替代水浸泡水法,气密性检测仪成产品防
高温热重分析仪是什么
示波器怎么看峰峰值呢?
输出过冲原因及改善措施
CPU | 内存 | 硬盘 | 显卡 | 显示器 | 主板 | 电源 | 键鼠 | 网站地图
Copyright © 2025-2035 诺佳网 版权所有 备案号:赣ICP备2025066733号 本站资料均来源互联网收集整理,作品版权归作者所有,如果侵犯了您的版权,请跟我们联系。