全球最实用的IT互联网信息网站!
AI人工智能P2P分享&下载搜索网页发布信息网站地图
汇顶科技携手涂鸦进军智能追踪器市场 打造Sma
阅读全文2022-08-19
触觉反馈技术为人机交互带来更多的细节之处
无感考勤,让打卡签到更轻松!
阅读全文2022-08-17
基于电容的MCU 触控感应方案
阅读全文2022-08-16
如何使用Python OpenCV进行面部标志检测
阅读全文2022-08-12
大华视觉智能实景感知应用助力产业数智化升级
松下PT-FRZ99C激光工程投影机增强在博物馆等大型
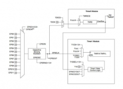
基于mcu微控制器的电容感应触控技术
阅读全文2022-08-11
还在使用指纹打卡?“无感考勤”你值得拥有
阅读全文2022-08-10
德施曼智能锁助阵《阳光姐妹淘》第三季 快来
阅读全文2022-08-09
浅谈瑞萨触摸芯片低功耗功能的实际应用
TDK触觉技术助力提升驾驶安全性
TITAN Haptics推出DRAKE LFi触觉马达,助力紧凑
基于生物识别的门禁系统解决方案
CPU | 内存 | 硬盘 | 显卡 | 显示器 | 主板 | 电源 | 键鼠 | 网站地图
Copyright © 2025-2035 诺佳网 版权所有 备案号:赣ICP备2025066733号 本站资料均来源互联网收集整理,作品版权归作者所有,如果侵犯了您的版权,请跟我们联系。