时间:2023-08-03 08:31
人气:
作者:admin
前言:
最近接触到QCA7500,有要做电力猫的需求。就趁这个机会了解下。QCA7500是符合HPAV2标准的MAC/PHY收发器,设计用于将多流乙太网内容从电力网路桥接到乙太网路的SoC。范例包括高清和标准清晰度电视(HDTV、SDTV)以及其他数位多媒体档共享和数据应用。
PLC网络范例:
智能家庭中,使用HomePlug Green PHY, 以及HomePlug AV/AV2的示意图。

图中虚线的部分代表着电力线。在上面可以重叠运行HomePlug AV/AV2以及HomePlug Green PHY协议。
我们把PLC的部分当作个黑盒子,对外接口都是RJ45,这样看整个HomePlug就变成了一台Switch了。每一个QCA7500做的电力猫,就代表Switch上的一个RJ45口。
利用QCA7500做电力猫:
电力猫原意是“电力线通信”(也有人叫他“电力网络(互联网)路由器”或“电力调制解调器”),英文缩写叫PLC(Power Line Communication)。是利用传输电流的电力线作为通信载体,将1个电表回路下的任何1个电源插座转换为网络(互联网)接口,即插即用,无须另外布线,就可以和以太网互联,并接入Internet网。QCA7500 的界面有 HPAV2 MAC/PHY 可以直接挂载到电力线上,还有RGMII/RMII Ethernet 可以直接当作以太网路的接口。
QCA7500 特征:
HomePlug AV2 Compliant
IEEE 1901, IEEE 1905.1 and HomePlug AV Compliant
Coexistence with HomePlug 1.0/Turbo nodes
Integrated MAC/PHY, analog front end and line driver
Supports RGMII/RMII Ethernet with both MAC and PHY mode
Supports DDR2 and DDR3 Memory
Powered from a single 3.3VDC rail with an integrated power management unit
HomePlug AV2 Compliant PHY
HomePlug AV2 Compliant MAC
RoHS Compliant
QCA7500 方框图:
qca7500芯片方框图

QCA7500 function bloc

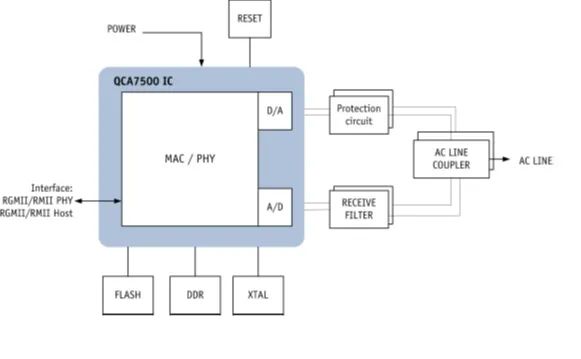
简单墙上适配器概述:
在最简单的配置中,乙太网 PHY (AR8035) 连接到QCA7500的RGMII引脚,用于完成主机和墙上适配器之间的乙太网界面。内部线路驱动器以及构成接收带通滤波器的分立元件,以及发射瞬态保护完善了类比前端(AFE)。AFE 连接到与电力线界面的耦合电路。

PL41 参考设计的方块图(下图)中可以清楚地看到,从最左边的AC LINE 经过 PL Coupling,QCA7500,AR8035,到最右边的 Ethernet,物理界面从电源线,变成了网路线。电力猫的电力线通信就可以实现。所以说QCA7500 就等于是电力猫也不为过。

结语:
QCA7500符合HomePlug AV2 规范,RGMII可以达到1000Mbit/s 高速乙太网路。有电力猫需求的用户,非常适合直接拿来使用。高通提供的参考设计PL41也是非常简单,几乎是一颗QCA7500就搞定了。
常见问题:
Q: PLC 的好处?
A: 使用电力猫最大的好处就是不需要布置网路线。
Q: 有参考设计吗?
A: Design Package, Top Assembly, PL41 QCA7500 Wall Adapter 洽询下载。
Q: HomePlug Green PHY, 以及HomePlug AV/AV2 有什么不同?
A: HomePlug Green PHY 可看成是省电版本的规格。速度慢。应用场景是充电桩的pilot wire。
Q: QCA7500 有哪些应用?
A: 1Gbit/s 的网速应用都可以。例如:
High Definition (HD) and Standard Definition (SD) video distribution
Internet Protocol Television (IPTV) distribution
Home networking backbone for Hy-Fi, Wi-Fi, and Wireless USB
High speed broadband sharing
Audio and video streaming and Internet downloading
Voice over Internet Protocol (VoIP)
PC files and applications sharing
Printer and peripheral sharing
Network and interactive Online gaming
Security Hy-Fi cameras
Q: QCA7500 支持哪些PLC 规格?
A:
IEEE 1901
IEEE 1905.1
HomePlug AV
HomePlug AV2
Q: 为何要用QCA7500?
A: 高通支持,有参考设计,FW。
Q: 可支持几个装置?
A: QCA7500 可支持63 active nodes
下一篇:常用塑胶材质判定方法
Samtec应用漫谈 | 新VITA™93.0 QMC™标准为坚