时间:2017-11-22 11:00
人气:
作者:admin
本文基于随着通信市场模块化、小型化、低互调、高效率的发展趋势,重点讨论了通信设备内模块与设备外模块的连接器设计与实现,主要讨论如何实现快插连接器的低互调以及降低电磁泄漏,介绍了母端连接器采用劈6 槽的接触主体与公端腔体侧壁力接触实现低互调的指标,以及采用C 型环填充公母端外导体之间的间隙实现较低电磁泄漏,通过HFSS 电磁仿真软件对VSWR 以及电磁泄漏进行仿真模拟,最后分析测试结果,并总结实际产品的问题以及后续改善的空间。
从目前市场分析,随着移动通信技术的迅猛发展,高效率和能适应多种系统的射频连接器,已成为当前国内外重要研究课题。另外,城镇化不断发展,站址资源的稀缺,同时人们对高质量网络要求越来越高,促使连接器朝着轻便快捷的操作方式、小型化、宽频化的方向发展,而且随着集成化程度提高,各种通信模块逐步形成标准模块,这些模块在终端通信设备厂家可自由进行模块与模块的连接; 以及模块与通信设备外模块的连接。目前,市场上普遍存的通信设备箱内模块与设备箱外的模块之间的连接依然采用的是通过一根射频线缆组件完成内外的连接[5],如图( 1-a) 。因为设备箱内的模块与设备箱外的模块的连接,不但要求较高的互调指标而且需要较低的电磁泄漏指标,设备外部的连接端口也需要很强的耐候性。本文重点研究了设备箱内的模块与设备箱外的模块的连接方式,即将原本采用的射频线缆组件压缩成一对单独的连接器,采用快插的方式实现通信模块与通信箱外的端口连接,如( 图1-b) 。该方案压缩了设备箱体的空间,便于通信设备的小型化,同时进一步提高了通信模块标准化。

图1-a、常见的端口连接方式

图1-b、快插端口连接方式
2.1、特性阻抗
射频连接器最基本的要求是跟传输线的特性阻抗相匹配,对于均匀同轴传输线,在理想导体条件下的特性阻抗公式为[1]:
(1)
式中,εr为介质介电常数; D 为外导体内径; d为内导体外径[2]。
2.2、无源互调
无源互调( Passive Inter-Modulation,PIM) 是由发射系统中各种无源器件的非线性特性引起的。在大功率、多信道系统中,这些无源器件的非线性会产生相对于工作频率的更高次谐波,这些谐波与工作频率混合会产生一组新的频率,其最终结果就是在空中产生一组无用的频谱从而影响正常的通信。所有的无源器件都会产生互调失真。无源互调产生的原因很多,如机械接触的不可靠、虚焊和表面氧化等。随着移动通信系统新频率的不断规划、更大功率发射机的应用和接收机灵敏度的不断提高,无源互调产生的系统干扰日益严重,因此越来越被运营商、系统制造商和器件制造商所关注。无源互调有绝对值和相对值两种表达方式。绝对值表达方式是指以dBm 为单位的无源互调的绝对值大小; 相对值表达方式是指无源互调值与其中一个载频的比值( 这是因为无源器件的互调失真与载频功率的大小有关) ,用dBc 来表示。典型的无源互调指标是在两个43dBm 的载频功率同时作用到被测器件DUT 时,DUT 产生-100dBm( 绝对值) 的无源互调失真,其相对值为-143dBc。[4]
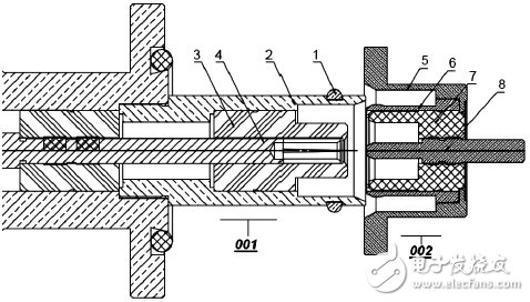
根据目前市场普遍存在的模块结构以及外箱结构,本文采用面板锁紧,002 产品与通信模块在成模块厂内完成组装测试,001 连接则通过连接器厂家完成组装测试,最终通信模块在终端通信厂家采用001 快插连接器完成与通信模块组装测试,有利完成通信模块的标准化以及集成化和小型化,同时第4 期吴文进等: 快插低互调射频连接器设计与实现7简化了终端通信厂家的单独模块的组装测试,有效的提高通信设备的效率以及小型化。本文根据公式1 计算出内导体结构尺寸为:
内导体2.12mm,外导体7.0mm,绝缘体采用介电常数为2.05 的PTFE。
为了有效提高无源互调指标值,002 连接器采用劈6 槽的接触主体,使其有效的001 的主体在插拔时,其有效与001 主体存在侧向接触力,可有效提高无源互调指标值。设计方案如图2 所示。

图2、设计方案示意图

图3-a、HFSS 仿真软件建立模型

图3-b、电压驻波比仿真结果
采用HFSS 仿真软件建立模型[3],如图3-a。其电压驻波比仿真结果如图3-b,其电磁场仿真结果见图4。

图4、电磁场仿真结果
根据仿真结果分析,电压驻波比6GHz 最大1.06,完全可以满足通信模块的电压驻波比指标值。但是,电磁泄漏仿真在劈槽主体的连接器处有较大的电磁泄漏出现,无法满足通信模块的使用场景。为了满足在不影响较大盲插配合的情况下降低电磁泄漏,需充分降低连接时连接主体间的间隙,则需要采用柔性的配合结构,本文采用在连接主体间隙内增加一个C 型卡环,充分地填充了公母端配合时主体间的间隙,且不影响盲插配合。
分别对8 组通道同时测试无源三阶互调,如图( 5-a)。测试结果全频段( 0 ~3GHz) 均小于-115dBm;通常此类板对板盲插的连接器仅仅满足频段( 0 ~3GHz)均小于-85dBm。该连接器的无源互调指标值远远优越于目前市场存在的板到板盲插连接器,并分别测试其电磁泄漏值,如图( 5-b) 结果均小于-100dB( 0 ~3GHz) ,也优于与目前该类产品的指标值(-75dB)。

图5-a、无源三阶互调测试

图5-b、电磁泄漏测试
该连接器通过公母端配合时,其外导体内壁存在侧向力接触,实现了低互调指标。通过C 型环结构的加入,在不影响大容差情况下,实现了电磁低泄漏。同时在标准化、集成化、高频化的今天,能够有效地满足设备箱内模块与设备箱外模块盲插,并且有着稳定的无源互调指标的连接器将会越来越受青睐,但本文设计的连接器在长期可靠性的验证方面还需长期考验,还有一些未知的因素可能会带来产品性能的恶化,还需要长期追踪验证。
Samtec应用漫谈 | 新VITA™93.0 QMC™标准为坚