网站首页 全球最实用的IT互联网站!

人工智能P2P分享Wind搜索发布信息网站地图标签大全

当前位置:诺佳网 > 电子/半导体 > 电源和新能源 >

TPS65720 2 通道电源管理 IC (PMIC),带电池充电器

时间:2025-04-28 16:04

人气:

作者:admin

标签: 电源管理  锂离 

导读:TPS6572x 器件是一款小型电源管理单元,适用于蓝牙耳机或其他便携式低功耗消费类终端设备。该器件包含一个 USB 友好型锂离子电池充电器、一个高效降压转换器、一个低压差线性稳压器...

TPS6572x 器件是一款小型电源管理单元,适用于蓝牙耳机或其他便携式低功耗消费类终端设备。该器件包含一个 USB 友好型锂离子电池充电器、一个高效降压转换器、一个低压差线性稳压器和其他支持功能。该设备由 I 控制^2^C 接口。通过使用工厂编程的非易失性存储器,可以自定义几个设置。
*附件:tps65720.pdf

2.25MHz 降压转换器在轻负载时进入低功耗模式,可在尽可能宽的负载电流范围内实现最高效率。对于低噪声应用,可以使用 I 强制器件进入固定频率 PWM 模式^2^C 兼容接口。

该器件允许使用小型电感器电容器来实现小尺寸解决方案。该TPS65720在 DC-DC 转换器上提供高达
200 mA 的输出电流,而 TPS657201、TPS657202 和 TPS65721 提供高达 400 mA 的电流。TPS6572x 还集成了一个 200mA LDO。LDO 在 1.8 V 至 5.6 V 的输入电压范围内工作,因此可以由降压转换器的输出或直接由系统电压供电。

TPS65720、TPS657201 和 TPS657202 采用小型 25 焊球 2 mm × 2 mm 晶圆芯片尺寸封装 (DSBGA),焊球间距为 0.4 mm,或采用
4 mm × 4 mm 间距为 0.4 mm 的 WQFN 封装 (TPS65721)。

特性

  • 具有电源路径管理的电池充电器
  • 额定功率路径为 28V,具有:
    • 100mA 输入电流限制
    • 500mA 输入电流限制
  • 300mA 充电电流
  • 用于 TPS65720 的 200mA 降压转换器
  • 用于 TPS65721、TPS657201 TPS657202 的 400mA 降压转换器
  • 效率高达 92%
  • VDCDC 转换器的范围为 2.3 V 至5.6 V
  • 2.25MHz 固定频率作
  • 轻负载电流下的省电模式
  • PWM 模式下的输出电压精度 ±2%
  • 100% 占空比,实现最低压差
  • 1 个通用型 200mA LDO
  • VLDO 范围为 1.8 V 至 5.6 V
  • 我^2^C 兼容接口
  • 4 个 GPIO
  • 采用间距为 0.4mm 的 25 焊球 DSBGA 封装和 4mm × 4mm 32 引脚 WQFN 封装

参数
image.png

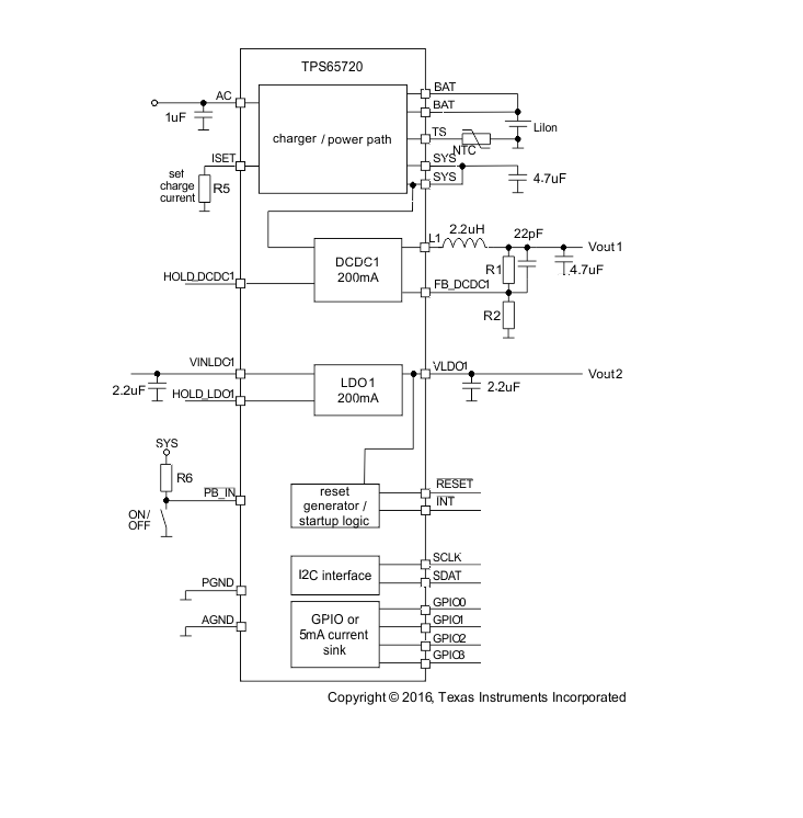
方框图
image.png

1. 产品概述

TPS65720是一款集成了电池充电器、一步降转换器(DC-DC)和低压差线性调节器(LDO)的电源管理IC(PMIC),适用于蓝牙耳机、手持设备、可穿戴设备等低功耗便携式应用。

2. 主要特性

  • 电池充电器‌:
    • 支持USB友好的锂离子电池充电。
    • 具有功率路径管理功能,可独立为系统供电和电池充电。
    • 充电电流可达300mA。
  • DC-DC转换器‌:
    • 固定频率2.25MHz操作。
    • 输出电流高达200mA(TPS65721/TPS657201/TPS657202可达400mA)。
    • 轻载时进入低功耗模式,提高效率。
  • LDO‌:
    • 通用200mA LDO。
    • 输入电压范围1.8V至5.6V。
  • 其他特性‌:
    • I2C兼容接口,可定制设置。
    • 4个GPIO或5mA电流汇。
    • 提供25球DSBGA和32引脚WQFN封装。

3. 应用领域

  • 蓝牙耳机
  • 手持设备
  • 可穿戴设备
  • 便携式配件

4. 功能描述

  • 电池充电器与功率路径管理‌:
    • 自动减少充电电流以适应系统负载增加。
    • 电池可在适配器无法提供峰值系统电流时补充系统电流需求。
  • DC-DC转换器‌:
    • 使用快速响应电压模式控制方案,支持小陶瓷电容
    • 自动进入PFM模式以提高轻载效率。
  • LDO‌:
    • 宽输入电压范围,允许从DC-DC转换器输出或系统电压直接供电。

5. 电气特性

  • 提供了详细的电气特性参数,包括输入电压范围、输出电压精度、负载调节、线性调节等。
  • DC-DC转换器在PWM模式下的输出电压精度为±2%。
  • LDO的输出电压精度为±1.5%至±2.5%。

6. 典型应用

  • 数据手册中提供了典型应用电路,包括输入/输出电容器、电感器的选择以及布局指南。
  • 强调了正确布局对于保证电路性能的重要性。

7. 编程与接口

  • 通过I2C接口可定制大多数功能,如充电电流、输出电压、工作模式等。
  • 提供了详细的寄存器映射和编程指南。

8. 热管理

  • 内置热保护和热关断功能,防止芯片过热损坏。
  • 提供了热阻和结温等热信息,以帮助设计人员进行热设计。

9. 封装与尺寸

  • 提供25球DSBGA和32引脚WQFN两种封装选项。
  • 封装尺寸和引脚布局在数据手册中详细列出。

10. 文档与支持

  • 提供了详细的数据手册、应用报告、参考设计等文档支持。
  • TI E2E在线社区提供技术支持和协作平台。

11. 注意事项

  • 在使用过程中,应严格遵守数据手册中提供的绝对最大额定值和推荐操作条件。
  • 注意静电放电(ESD)防护,避免损坏设备。
  • 在布局时,应遵循提供的布局指南,以确保电路性能。
温馨提示:以上内容整理于网络,仅供参考,如果对您有帮助,留下您的阅读感言吧!
相关阅读
本类排行
相关标签
本类推荐

CPU | 内存 | 硬盘 | 显卡 | 显示器 | 主板 | 电源 | 键鼠 | 网站地图

Copyright © 2025-2035 诺佳网 版权所有 备案号:赣ICP备2025066733号
本站资料均来源互联网收集整理,作品版权归作者所有,如果侵犯了您的版权,请跟我们联系。

关注微信