时间:2025-07-15 18:18
人气:
作者:admin
近日,全国企业破产重整案件信息网披露了两条破产申请信息,申请人均为苏州新能环境技术股份有限公司,两宗破产案件分别是(2025)浙0591破申30号、(2025)浙0591破申31号,被申请人是湖州见闻录科技有限公司、见闻录(浙江)半导体有限公司,其中湖州见闻录是见闻录半导体的全资子公司,下文以“见闻录”指代。
这宗破产案引起广泛关注,见闻录是我国MEMS射频芯片产业发展中的一家较知名的企业。

10亿元建MEMS射频芯片产线,突破5G 国产BAW滤波器卡脖子困境
见闻录成立于2016年,从事射频芯片的研发和量产工作。
彼时,中国移动通信设备发展迅猛,射频芯片领域被国外巨头“卡脖子”的困境逐渐显现,在国外巨头价格、技术和专利的围剿下,国产射频芯片产生艰难求生。
曾任职于日本东京精密的盛荆浩,在杭州成立见闻录,后公司迁至湖州,瞄准布局进入5G射频通信领域,选择国家列为35项被卡脖子技术之一的高频滤波器进行攻关。
2018年,为了避开国外巨头的技术专利围剿,掌握全产业链技术,见闻录确定IDM的发展模式,筹备建设MEMS BAW射频芯片产线。
2019年,首版拥有自主知识产权的谐振器流片成功,获得浙江清华长三角研究院的天使投资。
2020年,首版拥有自主知识产权的Band3滤波器流片成功,据报道显示,该款滤波器采用氮化铝压电薄膜器件结构,使用MEMS技术制造,是国内首个避开国际巨头专利围剿的体声波(BAW)滤波器产品。
随着该基于MEMS技术的BAW滤波器流片成功,见闻录获得资本青睐,自2020年后连续获得多轮融资,见闻录也藉此建设MEMS射频芯片产线。
从爱企查资料显示,2019年见闻录获得浙江清华长三角研究院的天使轮投资,之后,2021~2022年连续获得德汇集团、春阳资本、乾莳资产等机构的多轮投资。

2021 年 3 月,总投资 10 亿元的“年产 16.3 亿颗 MEMS 射频芯片项目”在湖州开工,用地19亩,是浙江省光电通信及半导体产业链的链主项目,该项目获评“浙江省引领性重大产业项目”,被认为对湖州重点培育的八大新兴产业之一的光电通信及半导体产业集聚和发展具有引领作用。
2022年8月,见闻录MEMS 射频芯片产线一期投产,报道显示,该MEMS产线投产前,就已接获不少订单:
该企业所生产的MEMS射频芯片在国内处于领先位置,其质量与国际主流产品水平相当,并且在成本上更具优势,立项以来便得到许多国内下游厂商的关注,如今投产在即,订单便纷至沓来。
见闻录MEMS射频芯片产线的建设,正是新冠疫情期间,为此面临不少困难,甚至湖州地方出台“固定专员服务、全时段保障、全过程跟踪”等一系列精准化帮扶举措。
从2016年成立,到2022年见闻录MEMS射频芯片产线的建成投产,被记录在见闻录官网中,是其企业发展的高光时刻。

此时,见闻录完整掌握了体声波滤波器(高频滤波芯片)、双工器、多工器的量产制备工艺,获57项发明专利,其中国内专利35项,PCT国际专利22项,低成本实现FBAR滤波器商业化,打破国外垄断,性能达到国际领先水平,订单纷至沓来。

赢了技术,却输了生存?曾经的明星企业,见闻录为什么倒下了?
据2024年1月,见闻录有关负责人接受媒体采访时,仍表示2024年营收有望突破5亿元,并已与中国联通、努比亚、爱立信、阿尔卡特等多家国内外知名企业达成合作:
2024年1月该公司负责人接受“潮新闻”采访时曾表示:“我们是2023年7月正式投产,到目前订单已过亿元,现在每天都是满负荷生产。把产能提上去,是我们今年的大任务。”产能初期是每月1500片,预计2024年四季度满产可达每月5000片产能,产线满产一年的产值是14亿。该负责人还预计,2024年营收将超过5亿元。
客户方面,见闻录半导体负责人当时还透露,其已经和中国联通、努比亚、爱立信、阿尔卡特等多家国内外知名企业达成合作,“从客户的反馈来看,他们对我们的产品总体上很满意。特别是性能方面,我们达到了国际先进的水平,真的不输给国外同行。”“但价格只有海外进口的一半。”
此时,见闻录的发展仍一片“欣欣向荣”。
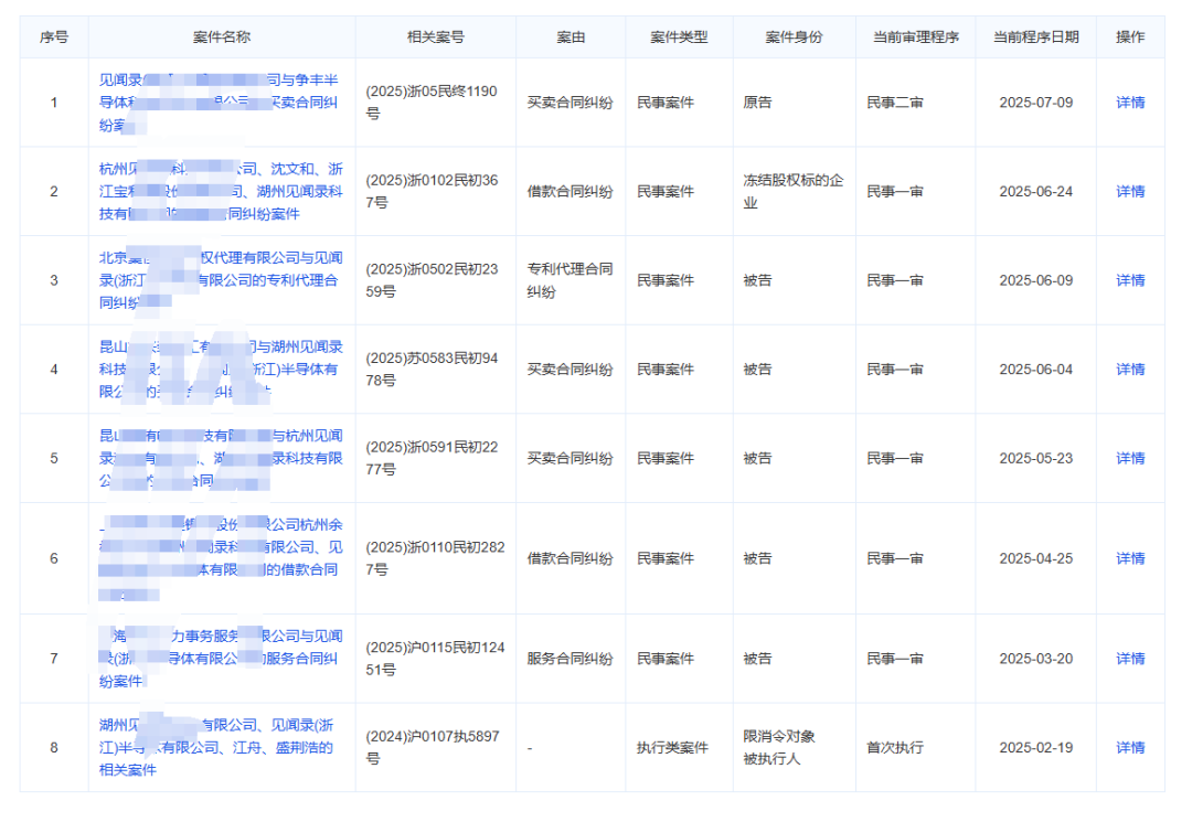
但到了2024年7月份,企业法律问题集中爆发,见闻录先后面临专利代理合同纠纷、金融借款合同纠纷、服务合同纠纷、创始人盛荆浩被限制高消费、股权被冻结、旗下湖州见闻录科技有限公司被查封等众多法律诉讼。
国际射频芯片巨头巨头博通(Broadcom),亦向见闻录发起专利诉讼,但当诉讼律师函寄到湖州时,见闻录的法务团队已经解散,连应诉的力气都没有了。

此后,有离职员工爆料,见闻录从 2024 年四季度就开始欠薪,社保断缴的消息在内部群里引发恐慌。生产线彻底停摆,那些价值数亿的 MEMS 设备蒙着灰尘,曾经号称 "年产能 33 亿颗" 的产线,最后连 1 亿颗的订单都接不到。
其实,见闻录的困境,在2023年就已显现——此时其MEMS射频芯片产线刚刚投产不到半年,由于新冠疫情影响,全球消费电子及通信产业需求陷入低迷,以智能手机为代表的通信设备出货量下滑,射频芯片需求萎缩,全球射频芯片产业进入寒冬。
在此市场环境下,国际射频芯片巨头降价抢夺市场,见闻录“半价策略”失效,竞争不过国际巨头,同时市场增量乏力,多方影响下,造成见闻录的MEMS射频芯片工厂在投产后,产能利用率一直处于低位,到2024年更是只有30%左右。
低迷的产能利用率,意味着工厂不仅无法盈利,还将面临着高昂的设备折旧费用和巨额的亏损。此时,资本态度转变,C 轮融资搁置,见闻录面临严峻资金考验。
由此,见闻录的轰然倒塌似乎一切都变得有迹可循:
2021年10亿巨资建设MEMS射频芯片产线,2023年投产,此时全球射频芯片市场低迷,在国际巨头压价抢市场+增量乏力的双重压力下,见闻录产线开工率不足,无法实现盈利的同时还需面临维护产线的巨额开销,此时资本态度转变无意帮助企业度过寒冬。
于是进入2024年,见闻录资金链断裂,最终在2025年的今天,被申请破产审查。
有见闻录老员工不仅叹息“赢了技术,却输了生存”,高科技企业除了有突破
“卡脖子”的技术实力外,还需有足够的经营智慧,让企业能够穿越周期、度过寒冬。
5年复合增长率达16%,成长最快的MEMS赛道,前景广阔的MEMS射频芯片
MEMS射频芯片产业,是不是一个好赛道?
毫无疑问,是的。
从Yole的《Status of the MEMS Industry 2025》报告数据显示,以MEMS射频芯片为代表的MEMS通信市场(Telecom),是未来5年增长最快的MEMS赛道,5年CAGR达16%,将从2024年的2亿美元增长到2030年4亿美元。相关信息参看:最新全球MEMS TOP 30名单:中国传感器技术已落后西方2~3代,4.5家中国公司进入!(附全名单)
在MEMS 30强企业名单中,MEMS射频芯片企业博通 (Broadcom) 、 Qorvo排在第二和第三,仅次于MEMS王者博世,甩开了一众MEMS传感器厂商。
而在全球MEMS 30强名单中,我们看不到任何一家中国MEMS射频芯片公司的身影,这意味着,无论是市场增量还是国产替代,中国MEMS射频芯片企业均有广阔的市场空间。

结语
见闻录的发展,是中国近几年MEMS射频芯片产业成长的缩影。
在市场亟需“国产替代”时,众多资本融入该赛道,多家企业创立,随后迎来快速发展。但产业的发展是螺旋上升的,并非线性增长,在未来广阔的市场前景前夕,隐藏着一片片短暂的寒冬,许多高科技企业倒在了寒冬里。
如同此前见闻录老员工的感慨“赢了技术,却输了生存”,道路是正确的,技术是具有突破性的,前景是光明的,最终却倒下了,问题出在哪?
如何坚持到达终点,考验着企业的经营智慧。