时间:2024-05-06 09:15
人气:
作者:admin
据麦姆斯咨询报道,美国专利商标局近日公布了一项苹果公司的新专利申请,该发明申请提出了一种新型MEMS扬声器或微型扬声器设计,苹果公司指出这种微型扬声器适用于各种智能电子设备。
在这件专利的发明背景介绍中,苹果公司指出,随着当前智能设备的外形尺寸越来越小、越来越轻薄,加上用户对高质量音频的需求不断提高,因此,在便携式电子设备等紧凑型设备中,对能够提供高质量音频的扬声器提出了挑战。
用于音频组件的圆柱形MEMS结构
苹果公司在专利申请中指出,智能手机(iPhone)、智能手表(Apple Watch)、平板电脑(iPad)、笔记本电脑(MacBook)、AirPods以及其它可穿戴等便携式电子设备,通常都包含一颗用于产生声音的扬声器。

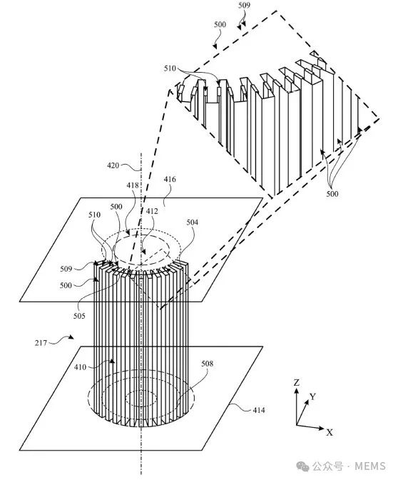
圆柱形波纹状MEMS扬声器实施例图,圆柱形波纹状MEMS结构可围绕开放的圆柱形芯在圆周方向上延伸
这件发明专利提出了一种包含圆柱形波纹状MEMS结构的扬声器。专利中被称为MEMS扬声器或微型扬声器的新型扬声器设计,具有一个开放的圆柱形芯,波纹状MEMS结构围绕开放圆柱形芯在圆周方向上延伸。开放的圆柱形芯可以耦接到MEMS扬声器的前腔,和/或形成MEMS扬声器前腔的一部分或全部。

多个圆柱形波纹状MEMS结构可以组成阵列
在专利实施例中,这种扬声器可以包括多个圆柱形波纹状MEMS结构,例如圆柱形波纹状MEMS结构的阵列。一个或多个圆柱形波纹状MEMS结构,可以安装在扬声器的前腔和后腔之间。

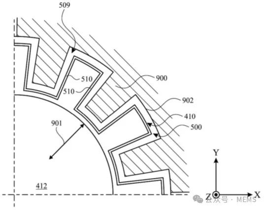
通过向波纹状MEMS结构中的电极施加电压,使得电极彼此排斥和吸引,以驱动波纹状结构弯曲变形,推动圆柱形芯中的空气运动,进而发出声音

一项实施例中圆柱形波纹状MEMS结构的俯视图,其中,当电压被施加到固定径向电极(900)和/或圆柱形波纹状MEMS结构的电极(510)时,电极(510)可被排斥或吸引到固定径向电极(900),以驱动波纹状结构(509)变形或弯曲
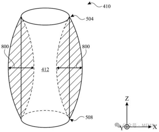
这种圆柱形波纹状MEMS结构可以通过施加的电压产生形变,在顶部和底部固定边之间的中间位置产生弯曲,推动圆柱形芯中的空气运动,以发出声音,顶部和底部边缘密封固定在顶部和底部基板上,以防止顶部和底部固定边周围的空气泄漏。

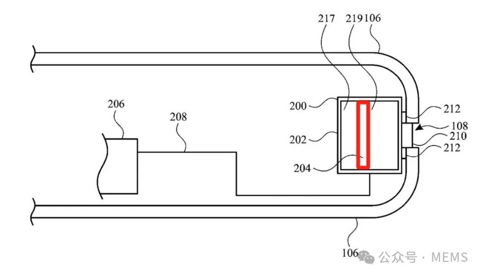
安装有圆柱形波纹状MEMS扬声器(红色框)的电子设备剖视图

应用圆柱形波纹状MEMS扬声器(红色框)的真无线立体声(TWS)耳机
审核编辑:刘清
下一篇:高精度测量仪传感器