时间:2023-10-24 09:59
人气:
作者:admin
电动窗帘作为每个智能家庭生活中必须的家居用品之一,电动窗帘主要由控制窗帘开合的智能控制器系统、操作和设置主控制器的无线控制器、拉动窗帘的执行机构组成,是通过电机驱动无线控制窗帘的一种方式,而霍尔开关在里面主要起到控制电机作用。
拉动窗帘的执行机构内部电机使用的传感器主要由霍尔开关控制,霍尔开关一般采用双极锁存霍尔开关,中科阿尔法AH542是一款基于BCDMOS 技术设计的高灵敏度双极霍尔开关芯片。芯片包括温度补偿、比较器和输出驱动器。此外,机械应力对芯片的磁性参数影响很小,也非常适用于工业环境和汽车应用,符合AEC-Q100汽车电子行业测试标准。

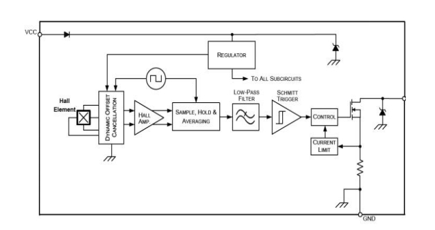
AH542是一种单片集成电路。如果将垂直于敏感区域的磁通线的磁场施加到芯片上,偏置使霍尔电压与磁场成正比。霍尔电压与比较器中的实际阈值电平进行比较,如果磁场超过阈值水平,则输出开关到适当的状态。内置的回差消除了振荡,并提供了锁存的输出开关状态。
该芯片使用斩波补偿技术可以补偿由机械应力引起的偏移,且内置反向电压保护,无需电源线上的串联电阻或二极管。在以下任何一种故障情况下,漏极开路输出都被强制进入安全的高阻抗状态:过热和欠压。另外,输出电流受到限制(短路保护)。

AH542霍尔开关芯片特征:
•工作电压: 3.0 V~30 V
•ESD高达:±12KV
•过压保护高达40V
•有较强的抗机械应力特性
•温度范围:-40°C~150°C
•电源引脚具有反向电压保护
双极锁存霍尔开关AH542有三种封装形式,分别是TO92S、Small-SOT23、SOT23-3L,且封装符合ROHS标准,该芯片有一定的价格优势,国芯思辰可提供稳定的供货服务和技术支持。总之,电动窗帘霍尔开关的应用可以提高电动窗帘的精确控制和安全性,使其更加智能化和便利。
注:如涉及作品版权问题,请联系删除。