时间:2023-09-09 10:36
人气:
作者:admin
刹车灯相当于是一个行程开关,可以分为拉动型和压缩型两种;当我们踏下刹车踏板,杠杆下移,刹车灯开关内部的弹簧被拉伸,触发内部触点接通,电路形成回路,刹车灯就亮了;反之我们松开踏板,内部触点在弹簧力作用下复位,触点断开,刹车灯就熄灭了。压缩型的原理相同,但安装方向相反。
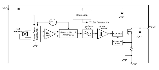
霍尔开关刹车位置原理:霍尔开关可以检测刹车踏板的位置,从而触发刹车灯的点亮。霍尔刹车位置开关3根接线分别为供电、搭铁、信号。里面通过霍尔元件,感应刹车位置,信号经过处理后,输出给汽车ECU,使用霍尔开关的特点是传感器无触点,使用寿命更长。

本方案推荐使用中科阿尔法AH501高灵敏度双极霍尔开关芯片,是基于BCDMOS技术设计的,芯片包括温度补偿、比较器和输出驱动器。此外,机械应力对AH501的磁性参数影响很小,所以非常适用于工业环境和汽车的应用,符合AEC-Q100汽车电子行业测试标准。
AH501有三种封装形式:TO92S、Small-SOT23、SOT23-3L,封装符合 ROHS标准;性能参数如下:
•低功耗:2.5mA;
•工作电压:2.7 V~30 V;
•ESD高达:±12KV;
•有较强的抗机械应力特性;
•温度范围:-40℃~150℃;
•电源引脚具有反向电压保护;
注:如涉及作品版权问题,请联系删除。