时间:2023-07-18 10:09
人气:
作者:admin
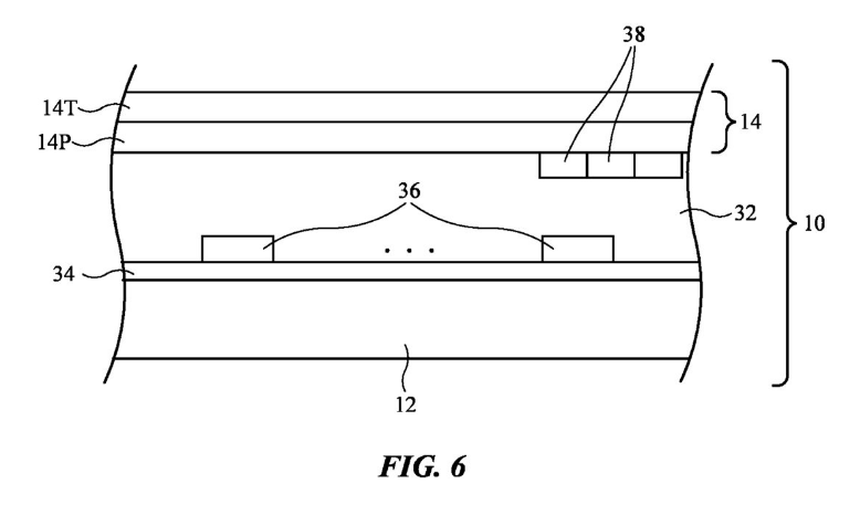
据苹果公司最近发表的“具有可滚动显示屏的电子设备”的申请专利披露,专利的内容是“电子装置可以有滚动显示屏,显示屏展现的状态和说的状态之间可以移动。卷起来的状态下显示屏能卷起来的部分卷起来很方便储存。

苹果表示:“这个面板形象生成的像素排列及其排列有重迭的透明保护层,保护层,透明的玻璃层,包含着说“可以,玻璃层的部分是显示器可以轻易说使他可以部分地变薄,可以提及,所以非常有趣。
在专利申请中,它还解释了滚动的屏幕是如何工作的,“例如,柔性显示屏…”它可以部分或完全烘干,以压缩的形式储存,也可以在需要在显示屏上观看影像时打开。显示器可以在显示器烘干时,在玻璃层面向外面的表面上施加压缩应力。屏幕在移动过程中弯曲时,面向外侧的玻璃表面的压缩力可以帮助防止画面受损。”

苹果公司的专利介绍说:“例如,安装在面板外部(正面)表面的玻璃层可以防止在操作用户手指、手写笔和其他装置时显示屏变形或受损。”当与外部物体正面接触时,保护性聚合物层或其他保护层成为玻璃层的涂层,可以防止玻璃层被划伤。“
该专利申请中还包括“变形计、蓄电池式力传感器、电阻式力传感器等”。然而,苹果继续使用普通的专利方法,并列出了可能影响这一想法的传感器数量,其中包括用于“三维非接触手势测量”的传感器。因此可以打开显示屏,对用户的手势做出反应。
最新提交的文件归功于两位发明人:que anh s nguyen和christopher d jones的功劳。加强了对iphone画面的研究,Jones开发出了自动感知显示屏龟裂和损伤的系统。