时间:2022-11-10 17:52
人气:
作者:admin
虹科多轴光纤
加速度传感器

HK-MR660系列多轴光纤加速度传感器系统为纯光学无源设计,为测量高压或危险环境中的振动和运动提供了创新的解决方案。典型应用包括受电弓监测、风力涡轮机叶片、MRI、变压器、发电机、采矿和石油和天然气。如您有相关需要,欢迎随时联系我们!
产品介绍

HK-MR660系列多轴光纤加速度传感器
HK-MR660光纤加速度传感器系统设计用于在电子或机电传感器无法测量的区域来测量加速度(振动)。传感器纯粹是无源的,并在光学基础上工作,使不受 EMI、RFI、高压和磁场的影响。
l 3个轴
l 动态范围:0 – 50g
l 温度范围:-40°C - +200°C
l 传感器-控制器之间最远可达200米。
l IP68

工作原理

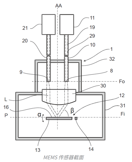
传感器的主要部分是一个带有反射面的MEMS。 入射光束通过棱镜被引导到反射镜上,以便让反射光束以尽可能高的强度耦合到返回光纤中。如果反射镜的水平位置 由于外部的加速度发生变化,反射光束的方向则会略微移动,且反射信号的强度会降低。反射信号强度的下降与外部的加速度成正比。HK-MR660系列加速度传感器采用高度灵敏的 MEMS 膜来提供强大的系统,能够产生 100mV/g pk-pk 的输出信号,带宽为 0.5Hz 至1100Hz。
应用案例

受电弓加速度

发电机振动

变压器振动
叶片振动
用于测量高压环境或潜在爆炸性环境中的振动和运动。典型应用包括受电弓监测、 风力涡轮机叶片、MRI、变压器、发电机、采矿以及石油和天然气。
关于我们
虹科传感器技术
我们致力于更加精确简单的测量方案,与全球领先的高精度、高可靠性的传感器厂家进行技术合作,为客户提供全球先进的测量方案,包括激光测距、粘密度测量、光纤传感器、机电传感器等。通过提供各种不同的技术进行关键测量,消除了在恶劣严苛环境中对传感的限制,使客户能够得到最理想的结果。