时间:2023-05-18 10:31
人气:
作者:admin
物联网传感器技术的发展
传感器已经存在很长时间了,业界第一台恒温器诞生于19世纪80年代末,用途广泛的红外传感器自20世纪40年代末开始出现,主要用于测量设备物理特性或使用情况的传感器可以追溯到20世纪60年代。然而,真正将传感器用于物联网设备上的时间要延后很多年。据信,世界上第一台物联网设备是在20世纪80年代初诞生于卡内基梅隆大学,它被使用并安装在可口可乐自动售货机上。自此,物联网及其对应的工业物联网(IIoT)将传感器的使用提升到一个全新的水平。
现在的物联网传感器有多种不同的形式和尺寸,在我们的家中、工作场所、购物中心以及医院里,传感器无处不在。虽然传感器的类型、用途以及需求不断变化,但在大多数情况下,其成本和复杂性都在显著降低,并因此极大地减轻了开发人员的开发难度。
广义地说,传感器是一种能够检测和响应环境变化的设备,它的输入可以有各种来源,如光、温度、运动和压力等。如果将其连接到网络,传感器就可以与其他连接的设备和管理系统共享感知的数据。
选择物联网传感器的5个要点
物联网技术正以惊人的速度蓬勃发展,预计到2030年,全球将有约500亿台物联网设备。借助物联网技术,企业正在进入一个通过实时数据远程处理运营的世界。选择合适的物联网设备,包括传感器,可以帮助企业提高效率并快速实现目标。传感器虽小,但它却是物联网的核心器件,在选择时需要重点考虑从以下五个方面入手。
精准度
与其他常规设备一样,物联网设备或传感器的准确性对于确保在特定位置高效使用设备非常重要,传感器应能够精确跟踪并获取所需的信息。比如一家生物技术公司,当需要密切监控温度敏感的生物医学材料时,对收集实时温度/状况数据的传感器的精准度就会有很高的要求。
成本
投资回报是物联网项目能否上马的重要一环,企业会充分考虑诸如可重用性、可维护性、需要部署的IoT设备和传感器的成本等。此时物联网设备或传感器的成本就成为影响决策的关键因素。
安全性
由于最终用户往往不知道物联网设备或传感器在物联网生态系统中建立的连接在哪里,因此连接到企业网络的物联网设备极易受到很多安全威胁。在将设备或传感器接入网络之前,安全性是首先要考虑的因素之一,设备需包含更强大的安全功能。
长寿命
大多数物联网设备需要长期部署并实施远程维护,在选择传感器时应充分考虑在不断变化的环境中,随着时间的推移器件的老化情况以及生命周期。
连通性
在物联网生态系统中,连通性是一个至关重要的组成部分。物联网网络使用各种不同的通信协议,包括短距无线协议如ZigBee、蓝牙、Wi-Fi,移动网络以及远程无线协议如LoRa、NFC。物联网设备和传感器必须能够连接并支持这些通信协议。
10大物联网主流传感器类型
物联网使用的传感器种类繁多,下面是10种主流的物联网传感器以及对应的部分产品。
1、加速度计
主要检测物体的静态或动态加速度的电子传感器。在汽车应用中,加速计负责在汽车碰撞发生后打开安全气囊,是一种能在危险情况下挽救生命的传感器。此外,加速计还可用作防盗保护,当本应静止的物体突然移动时就会向系统发出警报。
2、陀螺仪
用于测量旋转或保持方向的传感器,它可以测量物体的角速率或速度。陀螺仪通常用于导航环境,是飞机、空间站、摩托车和船舶中的关键器件。在汽车中,陀螺仪可用于汽车导航和电子稳定控制系统。其他的用例还包括视频游戏的运动传感和相机抖动检测等。
在实际应用中,陀螺仪和加速度计很多时候是合在一起使用的,比如能够感知智能手机是直立还是处于横向模式的传感器就是陀螺加速度传感器。就物联网应用而言,大多数的加速度计芯片都会带有陀螺仪。
陀螺仪和加速度计的主要区别在于:陀螺仪是一种利用地球引力来确定物体方向的装置。根据百度百科的介绍,陀螺仪的主要部分是一个对旋转轴以极高角速度旋转的转子,转子装在一支架内,通过在转子中心轴上加一内环架,陀螺仪就可环绕平面两轴作自由运动。按用途划分,陀螺仪可分为传感陀螺仪和指示陀螺仪。其中,传感陀螺仪用于飞行体运动的自动控制系统中,作为水平、垂直、俯仰、航向和角速度传感器。指示陀螺仪主要用于飞行状态的指示,作为驾驶和领航仪表使用。加速计是一种用于测量非重力加速度的紧凑型传感器。当它所集成的物体从静止到产生速度时,加速计就会对与这种运动相关的振动作出响应。在物联网中,加速度计是振动传感器的核心,可以将加速度数据转换为振动频率(即将g转换为Hz)。
MPU6050是TDK InvenSense推出的集成了3轴陀螺仪与3轴加速器的6轴运动处理组件,另有一个可扩展的数字运动处理器DMP(Digital Motion Processor),可用 I2C接口连接一个第三方的数字传感器,比如磁力传感器。扩展之后就可以通过其I2C接口输出一个9轴的信号。MPU-6050也可以通过其 I2C接口连接非惯性的数字传感器,比如压力传感器。由于MPU6050自带一个数据处理子模块,内置了硬件滤波算法,因此在许多应用中使用输出的数据就能满足要求,无需软件再做滤波。
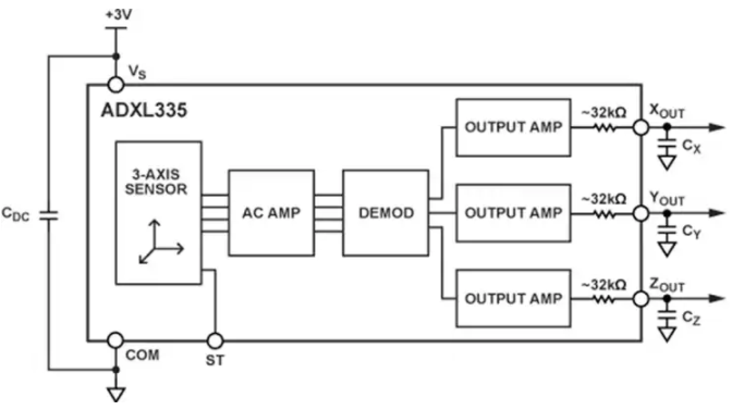
ADXL335是ADI公司提供的一款小尺寸、薄型、低功耗、完整的三轴加速度计,提供经过信号调理的电压输出,该产品的满量程加速度测量范围为±3g(最小值),既可以测量倾斜检测应用中的静态加速度,也可以测量运动、冲击或振动导致的动态加速度。

图2:三轴加速度计ADXL335功能框图(图源:ADI)
3、图像传感器
作为一种收集物理世界信息的设备,图像传感器是一种将光学图像转换成电信号的器件。在物联网中,图像传感器使用户能够远程可视化对象和位置。
图像传感器主要有CCD和CMOS两种。CCD具有低照度效果好、信噪比高、通透感强、色彩还原能力佳等优点,主要用于交通、医疗等高端应用。因成本高、功耗大,一定程度上制约了CCD的市场发展空间。随着CMOS工艺和技术的不断提升,加之高端CMOS的价格不断下降,在安防高清摄像市场,CMOS的市场份额越来越高。
近些年,图像传感器的应用范围不断扩大,机器人、无人机、人员计数、人工智能驱动的模式识别等场景均有其身影。
OmniVision公司的OS02F10是一款200万像素(MP)的图像传感器,支持1080p(1920x1080)分辨率的视频,帧率为30帧/秒,本身的功耗小于120mW,采用了最具性价比的背面照度(Back Side Illumination)解决方案,专为入门级物联网、工业、商业及住宅领域的安防监控摄像头提供高清晰图像质量。

图3 :OS02F10图像传感器功能框图(图源:OmniVision)
4、接近和运动传感器
接近传感器与运动传感器有时会被混淆,实际上它们并不是一回事。接近传感器用于非接触式检测传感器附近的物体,它通过发射电磁场或电磁辐射束(如红外线)并观察磁场的变化,在没有任何物理接触的情况下检测附近物体的存在,也有一些设备使用超声波测量自身与被检测物体之间的距离。
作为一种常见的传感器类型,接近传感器在物联网中有着广泛的应用。在零售业,接近传感器可以检测客户对哪些产品感兴趣,并通知用户附近产品的折扣或特别优惠。接近传感器也可用于家居、体育场馆和大型停车场、工厂装配线等。
运动检测传感器则是将周围区域的人或物体的运动转化为电信号,在维护建筑安全方面特别有用。
ams OSRAM提供的TMD26XX系列是一种先进的接近传感器,通过测量反射的红外线(IR)能量来检测物体或人的存在。该系列器件包含集成的LED驱动器,有的还集成了LED,并提供四路可编程LED驱动电流。内置的接近检测电路可补偿环境光,使其无论在明亮日照还是黑暗房间中均可以工作。
射频/通信是一个庞大复杂的技术领域,面向每一个不同的领域都会延伸出全新的模式和协议,这引发出业界的一个分歧点。有从业者认为化繁为简的通信系统是必要的,迟早会到来;也有从业者认为,随着万物互联下探到更广阔的场景中,射频/通信系统将更加繁复。而无论结果如何,在贸泽电子都能够找到合适的开发工具,最终呈现给工程师朋友们的开发界面都会是简单易用的。

图4 :TMD2620二合一小孔径接近传感器模块功能框图(图源:ams OSRAM)
5、温湿度传感器
它们多以温湿度一体式的探头作为测温元件,采集到的温度和湿度信号经过稳压滤波、放大、非线性校正、V/I转换、恒流及反向保护等电路处理后,转换成与温度和湿度成线性关系的电信号,它们通常捆绑在其他物联网模块中。
村田公司的土壤传感器在一个产品套装中内含3个传感器,可在土壤和水中同时计测EC(导电率)、湿度(体积含水量VWC)和温度。使用9个电极的EC传感器可有助于消除因多种测量模式带来的不确定性。
莱尔德(Laird)的Sentrius RS1xx温度和湿度传感器支持使用LoRaWAN和蓝牙4.2的电池供电,是一款小巧、坚固耐用且易于配置的传感器,功耗低,可配置为在同一组两节可更换AA电池上不频繁传输且持续数年。
6、光学传感器
也被称为光电器件或光电传感器。光学传感器在智能手机中很常见,主要用于检测环境照明,通过调整手机屏幕亮度来匹配环境照明,有助于延长电池的寿命。光学传感器也常常用于生物医学领域中的心率监测和呼吸分析。现在,光学传感器在无人驾驶汽车的发展中正在扮演着重要角色,它能识别标志、障碍物以及驾驶员在驾驶或停车时需注意的周边环境。
ams OSRAM的环境光传感器(ALS)产品可测量环境光强度,匹配人眼在各种照明环境下对光的反应。每个器件都有特定工作范围的性能,从微弱光线到明亮太阳光。高灵敏度结合宽动态范围,即使在深色玻璃背后工作,这些ALS产品也能完全胜任。消费电子设备制造商若想实现显示屏调光和亮度控制功能,从而达到节能的目标,ALS产品是个不错的选择。

图6 :TSL2520环境光传感器(图源:ams OSRAM)
7、红外传感器
红外传感器(IR sensor)是红外波长范围850 nm--50 µm内对某一光谱范围敏感的光电器件,主要通过发射或探测红外辐射来感知周围环境的特征,他们可以测量物体发出的红外线(又称热量)。红外传感器用于各种不同的物联网场景,包括简化医疗保健,如监测血流和血压。在家里,电视多年来一直使用红外传感器来检测遥控器发出的信号。
InfraTec公司生产的热释电传感器广泛应用于气体分析、火焰传感、光谱分析仪以及非接触式测温仪。
8、流量和气体传感器
气体传感器主要用于监测和检测空气质量的变化,包括有毒、可燃或有害气体的存在。使用气体传感器的行业包括采矿、石油和天然气、化学研究以及制造业。许多家庭中使用的二氧化碳探测器就是气体传感器的应用实例。流量传感器是用来测量流动的液体或气体流量或数量,当与气体传感器搭配使用时,气体传感器主要负责检测和识别气体的类型。随着NB-IoT的大规模部署,预计到2025年流量和气体传感器将会出现较大增长。
Sensirion SFC5500多气体质量流量控制器是基于CMOSens的器件,测量范围宽,具有零漂移性能,几乎不用考虑环境温度和压力变化带来的影响。因采用紧凑型单芯片设计,SFC5500还具有很强的抗电磁干扰(EMC)能力。
9、压力传感器
其工作原理是感应压力并将其转换为电信号,其中,信号的强度取决于施加压力的大小。比如,用于气体或液体的泄漏测试时,压力传感器可准确地检测到气体和液体发生的变化并将其传送到连接的控制系统。
TE Connectivity(TE)拥有一系列适应各种应用的压力传感器。其中,M9100液压传感器是一种工业级压力传感器,可测量极端条件下高达700 bar的液体压力。MS5837-02BA是一款凝胶填注、超紧凑的防水型压力和温度传感器模块,主要针对健身跟踪器、无人机和可穿戴设备等消费类应用,耐压范围达到10 bar。
欧姆龙的流量传感器E8FC和压力传感器E8PC基于一种独特的技术,对流量或压力的主要参数进行双重监测。此外,它们还提供温度控制,并可通过鲜艳的视觉信号和易于读取的高可见度黑白有机指示器上的参数,对过程异常发出提前警告。由于对液压的精确监控,E8PC可用于防止不同类型压力机或CNC和其他先进加工中心的压力机和加工缺陷。
10,空气质量传感器
当我们谈论空气质量时,首先想到的是污染。那么要如何测量它呢?这里就要用到所谓的颗粒物(PM)传感器,并根据在空气中发现的颗粒物大小和数量(主要由PM10和PM2.5两种类型组成)来确定空气等级。能够检测PM10颗粒物的传感器比较常见,检测PM2.5及更小颗粒物会更加困难。气体传感器在识别空气变化方面也起着很大作用,通常与PM传感器一起使用。
颗粒物和气溶胶是空气中最危险的成分,这些微粒的大小和成分决定了它们的毒性。Alphasense公司的PM传感器OPC系列可提供PM1、PM2.5和PM10(以及可选的PM4.25)每种尺寸的颗粒计数直方图,在清洁和高度污染的城市环境中广泛使用,并越来越多地开始用于工业应用。
物联网传感器的5个发展趋势
Emergen Research报告称,全球物联网设备中的传感器市场将在2028年达到2050亿美元,复合年增长率为30.8%。这一增长很大程度上归因于可穿戴医疗设备等技术的普及,以及智能工厂和制造自动化的发展。总体来看,物联网传感器发展主要体现在以下5个方面:
第一,AI与IoT深度融合(AIoT)
通过将AI嵌入到物联网传感器中,可实现AI技术与物联网技术的深度融合。IDC预测,AI将很快支持所有可实施的物联网计划,如果没有AI增强,物联网部署数据的价值将非常有限。
第二,智能工厂成物联网传感器的主力市场
在智能工厂中,来自传感器和机器的数据通过物联网传感器和设备传输到云,然后通过物联网软件平台进行分析,最终可以帮助企业提高总体收入。IDC报告称,制造业在物联网支出上投资了近2000亿美元,这一数字是第二大物联网垂直市场消费物联网的两倍,其中,智能工厂起到了关键作用。
第三,可穿戴医疗成为物联网传感器的重要市场
可穿戴医疗设备被统称为“Healthtech”,它正在改变我们获得医疗保健的方式以及医疗专业人员、医疗保险公司和服务提供商做出决策的方式。在数十种医用可穿戴物联网设备中,血压监测器的效果尤为显著。
第四,物联网传感器芯片推陈出新
微处理器技术的进步使物联网传感器制造商能够制造更小、更便宜、速度更快的芯片。一些高端物联网传感器芯片甚至可以运行在仓库环境中拉动物品的机器人。
第五,边缘计算与物联网传感器融合发展
最新的物联网传感器通过与边缘计算服务器通信,能帮助企业管理执行商业大数据分析所需的海量数据,这是对基于云的物联网的改进。物联网传感器可以向边缘服务器提供分析算法,使数据处理能够在本地进行,或在将数据发送到集中站点进行深入分析或存储之前聚合数据。
审核编辑:郭婷