时间:2023-04-06 18:09
人气:
作者:admin





▲圆柱形电容式接近开关结构示意图
特点:不但能检测金属,还能检测塑料,玻璃,水,油等物质。易受干扰,注意安装位置。感应距离可调整。频率约50HZ.
应用:依据其特点,特别适合于非金属物的检测,如食品、化工等行业电容式接近开关对任何介质都可检测,包括导体、半导体、绝缘体,甚至可以用于检测液体和粉末状物料。
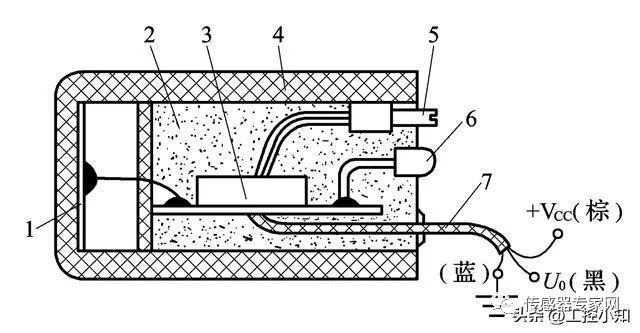
4.3 霍尔式接近开关
当一块通有电流的金属或半导体薄片垂直地放在磁场中时,薄片的两端就会产生电位差,这种现象就称为霍尔效应。两端具有的电位差值称为霍尔电势U.这种接近开关的检测对象必须是磁性物体。



五、接近开关参数
检测距离:传感器能检测到物体的最大距离。电源范围:在此范围内传感器能正常工作的电源电压。输出电流:传感器能提供给负载的最大电流。输出压降:传感器输出时自身所占的电压降。响应频率:传感器最大每秒可以检测多少次物体。回差范围:检测到物体时,拉远检测到检测不到时之间的距离,一般以检测距离的百分比表示。消耗电流:传感器没有输出时所消耗的电流。重复精度:传感器多次检测距离之间的差别。短路保护电流:当输出负载短路或太大时,输出电流达到短路保护电流时,传感器将处于保护状态。
5.1 回差的距离
如没有回差的话,接近动作距离时就会发生反复ON/OFF的来回转换的现象。一般回差距离控制在检测距离的5-15%以内。

















8.5 三线 NPN输出(常闭)

