时间:2022-05-26 09:28
人气:
作者:admin
电容传感器广泛用于各种工业应用,例如液位监测、压力测量、位置检测、流量计、湿度检测等。ΣΔ(Sigma-Delta)电容数字转换器(CDC)用方波激励未知电容,并将产生的电荷转换成单位数字输出流。然后,由数字滤波器处理位流,输出精确的低噪声电容测量值。
电容传感器广泛用于各种工业应用,例如液位监测、压力测量、位置检测、流量计、湿度检测等。ΣΔ(Sigma-Delta)电容数字转换器(CDC)用方波激励未知电容,并将产生的电荷转换成单位数字输出流。然后,由数字滤波器处理位流,输出精确的低噪声电容测量值。图1所示的电路来自24位电容数字转换器(CDC),在17 pF最大体电容下,默认满量程输入范围为±4.096 pF,但在最大体电容为200 pF时,可以扩展到±50 pF。输出数据速率可以从9.1 sps调节到90.9 sps,在16.1 sps设置速率下提供对50Hz和60Hz电力线噪声的高度抑制。CDC还提供分辨率为0.1°C、精度为±2°C的温度测量,以执行温度补偿和系统校准。CN0552兼容I2C Pmod平台板,具有2.7 V至5.5 V I/O电压。

图1.CN0552功能框图
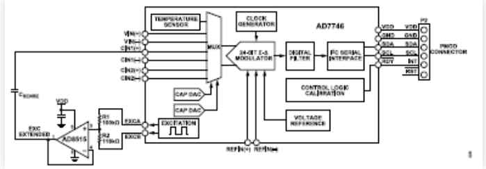
图1所示的电路的核心为AD7746,是一款24位Σ-Δ电容数字转换器(CDC),具有I2C串行通信接口,提供高分辨率(24位无失码,最高21位有效分辨率)、高线性度(±0.01 %)和高精度(±4 fF工厂校准)电容测量。它使用二阶调制器和三阶数字滤波器。将一个方波激励信号施加到CXn的一端,调制器连续地对通过相应CINn引脚的电荷进行采样。调制器输出经过数字滤波器处理、按比例缩放,并应用工厂校准系数,最终结果通过串行接口读出。AD7746电容输入范围为±4.096 pF(改变)。它可以接受最高17 pF共模电容(不会改变),可以由可编程的片上数字电容转换器(CAPDAC)进行平衡,可以使用AD8515扩展至±50 pF输入范围(改变),AD8515是一款轨到轨运算放大器,作为增益缓冲器给传感器提供驱动信号。如图2所示,AD7746有两个电容输入通道(每个可配置为单端或差分通道),以及板载温度传感器和辅助电压输入通道。AD7746针对浮动式容性传感器而设计。所以,两个CX板都必须接地隔离。

图2.AD7746功能框图两个激励引脚EXCA和EXCB都可以独立编程。它们的功能相同,所以可以使用任意一个来实现电容传感器激励,但是,建议使用单独的激励引脚来测量每个电容通道。
AD7746包含两个电容数模转换器,或者CAPDAC,如图3所示。CAPDAC可以理解为在内部连接到CIN引脚的负电容。可用于改变输入范围和补偿传感器元件的大电容。CAPDAC具有7位分辨率,满量程值为21pF ± 20%。例如,假设传感器具有17pF大电容。可以按如下公式计算所需的CAPDAC设置:

有两个独立的CAPDAC。一个连接到CIN(+)引脚,第二个连接到CIN(-)引脚,但两个电容通道共用同一个CAPDAC。电容输入和输出数据之间的关系如公式1所示:

图3.AD7746CAPDAC
典型的电容测量设置要求在AD7746的CIN和EXC引脚之间连接容性材料。默认情况下,标称输入范围为±4.096 pF,根据CAPDAC的设置值,中间值可能会变化。有两种测量模式可用:单端模式或差分模式。是使用单端模式,还是使用差分模式作为输入转换模式,取决于要测量的电容类型。例如,可以将采用塑料封装的浮动湿度传感器视为单端电容,因为它具有非常低的自电容,所以AD7746将其视为共模组件。相反,采用接地不锈钢封装的电容压力传感器的共模电容可能高于差分电容。由于该差分电容可以代表传感器输出,所以在转换期间,必须至少部分取消该共模电容。
在单端转换模式下,必须从内部断开AD7746的CIN(-)引脚的连接,这种断开是通过写入CAP_SETUP_REGISTER,并将CAPDIFF位设置为等于0来实现的。图4显示单端转换配置的基本连接图。

图4.AD7746单端输入模式在此配置下,CDC可以测量±4 pF范围内的输入电容。表1显示如何使用CAPDAC来改变大电容输入范围(CX1),以在该值下实现整个± 4pF测量范围。
表1.采用CAPDAC值时的AD7746单端电容输入范围

使用差分转换模式时,AD7746测量CIN(+)和CIN(-)电容输入之间的差值。这是通过写入CAP_SETUP_REGISTER并将CAPDIFF位设置为等于1来配置的。图5显示差分转换的基本连接图。

图5.AD7746差分输入模式在不使用CAPDAC的情况下,EXC和CIN引脚之间的两个输入电容CX和CY必须小于4 pF,或必须小于21 pF并由CAPDAC进行平衡。通过CAPDAC进行平衡意味着CX–CAPDAC(+)和CY–CAPDAC(–)都小于4 pF。如果EXC和CIN引脚之间的不平衡电容大于4 pF,则CDC会引入增益误差、失调误差和非线性误差。只要CX–CAPDAC(+)和CY–CAPDAC(–)始终低于4 pF,那么可以使用几种输入范围组合。表2显示其中几个范围。
表2.采用CAPDAC值时的AD7746差分电容输入范围

图6显示扩展AD7746电容数字转换器的电容输入范围所需的电路。扩展后的范围设置测量AD7746 CIN引脚和AD8515输出之间的电容值。AD8515运算放大器在电路中也作为一个低阻抗源,确保在AD7746开始采样时,传感电容完全充电。

图6.输入范围扩展电路
AD7746 CDC使用开关电容技术测量电容,以构建一个电荷平衡电路,使用公式2所示的电荷、电容和电压表示方法。

其中:Q为电荷,V是电压,C为电容。因此,转换结果表示输入电容与内部基准电容之间的比值。激励电压和内部基准电压都是已知的固定值。输入范围扩展电路确保输入电容内的电荷转移始终在AD7746的输入范围内。要实现这种输入范围扩展,激励电压需要按比例减小,以便与输入端相连的输入电容能按该比例增大。AD7746有两个独立的激励电压源EXCA和EXCB,为了扩展输入范围,在设置激励源时,必须使EXCB与EXCA反相。图6所示的电阻(R1和R2)用于计算得出的范围扩展因数(使用公式3)。

其中:F表示范围扩展因数VEXC(A−B)表示激励源之间的电压VEXCS表示衰减电压(约为VDD/2)R1和R2表示电阻值
要计算扩展因数,用户首先必须确定哪些传感器参数是帮助实现所需的范围扩展的主要因素:大电容或动态范围。假设一个典型的相对湿度传感器,其大电容为150 pF ±50 pF,坡度为0.25 pF/% RH。传感器的大电容可能高达200 pF,因此所需的范围扩展因数为:

其中:FFIX表示范围扩展因数200pF是传感器的最大体电容17pF是CAPDAC可接受的最大电容(在正常范围设置中)可以使用以下公式,利用传感器坡度(pF/%RH)和满量程输入范围计算传感器(CDYN)的动态范围:

所以,该传感器的大电容确定了范围扩展因数,应设置为11.76。
选择R1值为100 kΩ。在以下公式中,计算R2的电阻值,并将其向下舍入为标准E96系列电阻中的下一值,这个公式是对公式3重新排列,以求解R2的值。注意,任一电阻(R1或R2)值的小幅变化都可导致范围扩展因数的大幅变化。

,或约为±50 pF。
AD7746包含CAPDAC,可用于补偿传感器元件的大电容。对于AD7746,CAPDAC的满量程最小值为17 pF,典型值为21 pF。因此,对于给定的CAPDAC设置,电容可能会因器件不同而有很大差别。其原因在于,AD7746片内电容可能会随各批次所采用的生产工艺不同而有所变化。不过,片内电容之间的比率变化非常小。AD7746电容输入经过出厂校准,增益校准(GAIN_CAL)存储在电容增益校准寄存器(0xF)中。存储在电容增益校准寄存器中的校准因数可以通过公式6计算得出:

其中:FGAIN_CAL表示增益校准因数GAIN_CAL表示数字码值,存储在电容增益校准寄存器(0xF)中考虑采用出厂编程值0x69(十六进制)或105(十进制)的特定器件。增益校准因数为:

内部基准电压源电容(CREF)可定义为AD7746的允许满量程输入电容与增益校准因数(FGAIN_CAL)的乘积,CREF的值可使用公式7计算得出:

设计AD7746时,保证满量程CAPDAC电容(CCAPDAC)与内部基准电压源电容之间的比值为3.2。所以,CAPDAC的满量程可以使用公式8计算得出:

范围扩展电路确保检测电容内的电荷转移始终在AD7746的输入范围内。当CAPDAC从CIN1±或CIN2±输入端的检测电容中获取电荷时,被检测的电容下降。这个被检测电容(CDAC_EFF)用于补偿传感器的大电容。CAPDAC电容的1个LSB表示对检测电容的补偿,使用公式10进行计算:

其中:DAC_SET表示7位数字码DAC值CSENSOR表示需要范围扩展的基本电容。CSENSOR表示中等范围,具有±动态范围的幅值得出的输入电容范围为CSENSOR±动态范围。

其中0x26是一个7位DAC值(00100110)第8位是DACAENA位,需要使能,设置为1,以将CAPDACA连接到电容输入。产生的字节是10100110,这相当于0xA6十六进制值,该值可以写入到CAPDAC A寄存器(0xB)中,以得出47 pF中等范围值。所以,新扩展输入范围为(47 pF ± 50 pF)≈-3 pF至97pF。
图7显示在11ms转换时间(91sps)模式下,没有外部电容连接到模拟输入(CIN和EXC引脚)的CN0552 CDC的典型噪声直方图。根据10个不同的给定数据集,得出所需的平均RMS噪声值为85.4 aF。

图7.AD7746噪声,11ms转换时间模式
EVAL-CN0552-PMDZ使用双输入通道CDC AD7746。如果只需单个输入通道,可使用AD7745。两款芯片均针对浮地电容传感器而设计。若需一块极板接地的电容传感器,推荐使用AD7747。
本节介绍使用CN-0552测试和测量电容材料的设置和步骤。有关更多信息,请参阅CN-0552用户指南。

图8.EVAL-CN0552-PMDZ顶视图
图9所示为CN-0552测试设置的功能框图。

图9.测试设置功能框图
要测试该板,请执行以下步骤:

图10.EVAL-CN0552-PMDZ连接至EVAL-ADICUP3029

图11.IIO示波器连接面板

图12.IIO示波器DMM选项卡
ESD(静电放电)敏感器件。带电器件和电路板可能会在没有察觉的情况下放电。尽管本产品具有专利或专有保护电路,但在遇到高能量ESD时,器件可能会损坏。因此,应当采取适当的ESD防范措施,以避免器件性能下降或功能丧失。ADI公司的CircuitsfromtheLab™电路由ADI工程师设计构建。每个电路的设计和构建都严格遵循标准工程规范,电路的功能和性能都在实验室环境中以室温条件进行了测试和检验。然而,您需负责自行测试电路,并确定对您是否适用。因而,ADI公司将不对由任何原因、连接到任何所用参考电路上的任何物品所导致的直接、间接、特殊、偶然、必然或者惩罚性的损害负责。CircuitsfromtheLab电路仅供与ADI公司产品一起使用,并且其知识产权归ADI公司或其授权方所有。虽然您可以在产品设计中使用参考电路,但是并未默认授予其它许可,或是通过此参考电路的应用及使用而获得任何专利或其它知识产权。ADI公司确信其所提供的信息是准确可靠的。不过,CircuitsfromtheLab电路是以“原样”的方式提供的,并不具有任何性质的承诺,包括但不限于:明示、暗示或者法定承诺,任何适销性、非侵权或者某特定用途实用性的暗示承诺,ADI公司无需为参考电路的使用承担任何责任,也不对那些可能由于其使用而造成任何专利或其它第三方权利的侵权负责。ADI公司有权随时修改任何参考电路,恕不另行通知。
作者:ADI公司参考原文:Capacitance to Digital Converter with Extended Range