时间:2021-03-22 17:40
人气:
作者:admin
可编程逻辑控制器(PLC)和分布式控制系统(DCS)用于监测和控制工业自动化应用中的智能(支持 HART)和模拟现场仪表。
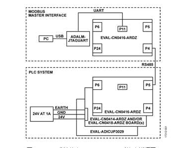
图 1 所示的电路是一个简单的 DCS 系统,由一个主机和一个节点组成,其中有两个 4 通道隔离模拟输入板和两个 4 通道隔离模拟输出板,由一个 Arduino 形状因子基板本地控制。RS-485 收发器与 PC 机或其他主机接口,用户可从中使用 Modbus 协议与节点交换数据。

图 1. PLC(或单节点 DCS)Modbus 系统功能框图
模拟输入数据在本地读取,并通过使用行业标准 Modbus 协议的串行接口提供,确保数据完整性和与一系列软件应用程序和库的兼容性。类似地,通过写入 Modbus 寄存器来设置模拟输出,然后将其转换为模拟电压或电流信号。
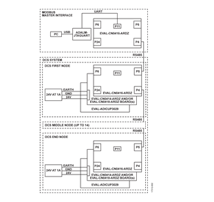
每个节点最多可以有四个模拟输入和输出板的任意组合。如图 2 所示,可以使用提供的硬件和软件基础设施设计多达 16 个节点的多节点系统。该电路支持点对点 HART 通信,可扩展到多点 HART 网络,由同一通道上的多个 HART 设备组成。

图 2. 多节点 DCS-Modbus 系统功能框图
模拟输入和模拟输出均为每板电隔离(四组),模拟输入具有开路检测功能,简化了故障检测和诊断。这些特性增强了在苛刻的工业自动化环境中工作时的健壮性。
电路说明
该应用程序着重于演示由 Modbus 主机控制的 PLC/DCS 系统的开发,并举例说明如何使用关键组件的最新功能。单节点系统通常称为 PLC,而较大的系统通常称为 DCS。
每个节点可以控制多达 16 个模拟现场设备、传感器或执行器,可以与 HART 兼容,也可以仅与模拟设备兼容,并且系统可以扩展到包括多达 16 个单独节点。该系统还可用于一般用途的精密模拟数据采集应用,如仪表、模拟数据记录或测试和测量。
PLC/DCS 技术
支持多个连接技术。在单节点(PLC 或单节点 DCS)系统中,主机可以通过微型 USB 电缆直接连接到 EVAL-ADICUP3029 平台板上的 USB 串行端口,适用于主机和节点之间距离小于 2 米的实验室测试和测量应用。
在这种点对点的技术结构中,每个电路板有四组模拟输入和输出仍然与主机隔离。虽然通常与实验室设备无关,但 Modbus 协议为与节点通信提供了一种方便和标准的方法。哈特连接允许配置智能传感器和执行器。
当主机和节点之间的距离超过 2 米时,信号完整性、噪声拾取和电气故障成为更大的问题。在这些情况下,EVAL-CN0416-ARDZ 提供到主机的可靠 RS-485 连接。在单节点中,点对点系统支持全双工或半双工通信,根据波特率的不同,距离可达 1km
对于多节点(更好地描述为 DCS),EVAL-CN0416-ARDZ 包括菊花链端口、可切换半 / 全双工操作和可切换终端,允许组装 2 到 16 个节点之间的系统。
由于 Modbus 被用作串行通信协议,通过串行链路在设备之间传输信息,因此无论规模大小,都可以获得简单、可靠和健壮的系统。PLC/DCS 应用硬件栈由三种不同的参考设计组成。
模拟输入板
图 3 所示的 CN-0414 用于测量四个全差分或八个单端电压和四个电流信号。该电路的核心是一个低功耗、低噪声的 24 位∑-Δ模数转换器(ADC),集成了±10 V 和 20 毫安的模拟前端。
电压输入支持高达±10 V 的输入范围。AD4111 具有一个独特的功能,当在 5 V 或 3.3 V 单电源上工作时,可以在±10 V 电压输入上进行开路检测,而以前的解决方案通常需要大于±10 V 的电源。
电流输入支持 0 至 24 毫安的输入范围。电路的输入阻抗为 250Ω(AD4111 内部为 60Ω),所有输入均参考隔离接地。电流输入端的 250Ω输入阻抗是使 AD5700-1 HART 兼容调制解调器与 AD4111 一起工作所必需的。
电路的模拟前端 AD4111 和 AD5700-1 通过 ADuM5411 和 ADum315 与处理侧隔离,与基于离散变压器的解决方案相比,节省了大量空间。
CN-0414 板由 9.5 V 至 36 V 直流电源供电,这是典型的工业自动化系统,因此很容易改装到您的系统中。
Figure 3. Analog Input Board
模拟输出板
图 4 所示的 CN-0418 是基于 AD5755-1 DAC 的四通道电压和电流输出板,具有动态功率控制。
该电路提供 4 毫安至 20 毫安的电流输出,以及单极或双极电压输出(±10 伏)。该板还包括 AD5700-1 哈特调制解调器,以提供完整的模拟输出解决方案与哈特连接。外部瞬态保护电路也包括在内,这对位于恶劣工业环境中的应用非常重要。
电流和电压输出在单独的管脚上可用,但一次只有一个管脚处于活动状态,因此允许两个输出管脚连接在一起并连接到一个端子。模拟输出短路,开路保护。
AD5755-1 包含使用 dc-dc 升压变换器电路的集成动态功率控制,允许在电流输出模式下降低功耗。
AD5755-1 有四个图表管脚,对应于四个输出通道中的每一个。HART 信号可以耦合到这些管脚中,如果该输出被启用,则会出现在相应的输出上。
RS-485 收发器板
图 5 所示的 CN-0416 是一个隔离和非隔离的 RS-485 收发器板,它允许在多个系统或节点之间轻松实现数据传输,特别是远距离传输。
电路使用 ADM2682E RS-485 收发器进行隔离通信,LTC2865 用于非隔离 RS-485 通信。两者都可以配置为全双工或半双工操作,以及开放或终止传输线。
该电路具有板载 RJ-45 插孔,允许使用普通的 5 类以太网电缆进行节点的快速物理布线。终端电阻默认设置为 CAT5 电缆特性阻抗 100Ω,但可以配置为支持标准 RS-485 电缆阻抗 120Ω。
ADM2682E 的数据速率高达 16Mbps,并具有真正的故障保护接收器输入和调整的差分电压阈值。它使用 iCoupler 数据通道提供 5 千伏信号隔离,使用等功率集成 dc-dc 转换器提供 5 千伏电源隔离。
LTC2865 的数据速率可达 20 Mbps,并具有完全故障保护接收器输入。内部窗口比较器在不需要调整差分输入电压阈值的情况下确定故障安全条件。
图 5. RS-485 收发器板
HART-Compatible Field 的现场设备布线
图 6. HART-Compatible 的现场设备布线
HART 网络
HART 设备可以在点对点或多点两种网络配置中运行。
在点对点模式下,4 毫安至 20 毫安的信号用于传送一个过程变量,而附加的过程变量、配置参数和其他设备数据则使用 HART 协议进行数字传输。4 毫安至 20 毫安模拟信号不受哈特信号影响,可用于控制。HART 协议允许访问可用于操作、调试、维护和诊断目的的二次变量和其他数据。
Modbus 协议
运行在 EVAL-ADICUP3029 上的软件实现了 Modbus 协议,这是一个事实上的、开放的工业通信标准。Modbus 提供了一种与单个节点交换数据的健壮方法,CRC 错误检测确保了数据的完整性。作为一个开放的标准,有许多开源和商用 Modbus 软件库可供使用,目标是各种平台(如 Windows?、Linux?、嵌入式平台等)。
该软件还提供了一个简单的命令行界面(CLI)模式,允许从串行终端手动验证系统,而不需要在主机上安装任何其他软件。
硬件和软件堆栈
PLC/DCS 节点系统软硬件堆栈如图 7 所示。
图 7. PLC/DCS 节点系统软硬件堆栈
配置完 PLC/DCS 硬件后,用户通常会根据语言(如 C、Python、MATLAB)和主机平台(如 Linux、Windows、embedded)选择合适的 Modbus 库。然后必须编写一个简单的测试应用程序,将模拟和 HART 参数转换为 Modbus 寄存器地址和值
CN-0435 用户指南提供了此应用程序的 Modbus 寄存器映射的完整描述,并使用开源 Modbus 调试器验证了 Modbus 的符合性
还提供了几个顶级应用程序示例,这些应用程序构建在开源 Modbus 库上,包括以下内容: 检测系统配置:查询所有 Modbus 节点并显示配置。
读或写输出保持寄存器:检查或改变所有检测板上输出保持寄存器的状态。
读取模拟输入寄存器:检查所有检测板上输入寄存器的状态。
读取模拟数据:读取单个模拟输入或所有模拟输入,并将数据显示到控制台。
写入模拟数据:写入模拟输出以产生电压或电流。
模拟回波:从模拟输入板读取模拟电压或电流,并将相同的模拟电压或电流写入模拟输出板。
常见变化
CN-0435 软件读取模拟输入值并写入模拟输出值,无需本地处理。该软件可以扩展到包括故障监测和响应或闭环 PID 控制回路等功能,将这些功能从主机上卸载,并在通信总线上节省带宽。
覆盆子皮可以作为一个紧凑和低成本的主机解决方案。Raspberry Pi 提供有线或无线以太网连接,它可以直接连接到 EVAL-ADICUP3029 的 USB-UART。
目前使用的三种最常见的 Modbus 版本是 Modbus ASCII、Modbus RTU 和 Modbus TCP。所有 Modbus 消息都以相同的格式发送。三种 Modbus 类型之间的唯一区别在于如何对消息进行编码。
可以通过 Modbus 连接的设备数量取决于物理层和数据协议。如果 RS-485 物理层与 Modbus RTU 或 Modbus ASCII 数据协议一起使用,则可以寻址的最大节点数为 32,而如果以太网物理层与 Modbus TCP 数据协议一起使用,则可以寻址 247 个节点。
设备地址是一个从 0 到 247 的数字。发送到地址 0(广播消息)的消息可以被所有从机接受,但从 1 到 247 的数字是特定设备的地址。
CN-0414 和 CN-0418 的 Arduino 外形确保了与支持多种其他自动化通信协议的开发平台的兼容性,这些协议包括过程现场网(PROFINET)、过程现场总线(PROFIBUS)、控制自动化技术以太网(EtherCAT)、以太网 /IP、Modbus Plus 等。
电路评估与测试
概述开始参考演示所需的必要设备和一般步骤。可以使用软件的 CLI 选项组装和测试 DCS 系统的基本功能。
所需设备
The following equipment is needed:
PC with a USB port and Windows 7 (32-bit) or higher
Serial terminal program such as TeraTerm or Putty
One or more EVAL-CN0414-ARDZ circuit evaluation board and/or EVAL-CN0418-ARDZ circuit evaluation board for every node
One or more EVAL-CN0416-ARDZ circuit evaluation board for the Modbus interface and another EVAL-CN0416-ARDZ board for every node
One ADALM-UARTJTAG evaluation board with an additional EVAL-CN0416-ARDZ board (or other halfduplex RS-485 adapter)
One EVAL-ADICUP3029 evaluation board for each node
Micro USB cable
One RJ-45 cable for the RS-485 interface and another for every node
PLC system software or pre-built hex file
A 24 V DC at 1 A power supply
入门
以下是设置的基本步骤:
1. 将 EVAL-ADICUP3029 的 USB 电缆插入 PC,并将固件闪存到每个使用过的板上。
2.配置硬件。遵循分布式控制系统(DCS)演示 Wiki 用户指南。确保每个板上的跳线和开关设置正确。可选地,对于模拟输入板,分别连接传感器或信号源,对于模拟输出板,连接执行器或万用表。
3. 对于每个节点,按以下顺序将平台和屏蔽板堆叠在一起:
EVAL-CN0416-ARDZ (top)
EVAL-CN0414-ARDZ or EVAL-CN0418-ARDZ (optional)
EVAL-CN0414-ARDZ or EVAL-CN0418-ARDZ (optional)
EVAL-CN0414-ARDZ or EVAL-CN0418-ARDZ (optional)
EVAL-CN0414-ARDZ or EVAL-CN0418-ARDZ (optional)
EVAL-ADICUP3029 (bottom)
4. 在节点和 RS-485 适配器(可能是 ADALM-UARTJTAG 和 EVAL-CN0416-ARDZ)之间连接 RJ-45 电缆。
5.将 RS-485 适配器连接到主机。
6. 按下 3029_ 重置按钮或关闭系统电源。
Figure 9. DCS Analog I/O System
编辑:hfy
Fidus Sidewinder-100集成PCIe NVMe 控制系统,有