时间:2010-03-02 11:12
人气:
作者:admin
具备定位功能的ZigBee® SoC
今日相容于IEEE 802.15.4且适用于ZigBee的无线射频收发器、微控制器及系统单芯片(SoC)半导体装置已相当普及。高度整合的多功能SoC解决方案是促成ZigBee无线网络得以广泛运用在众多应用中的重要因素,包括工业监控、家庭及建筑自动化、传感器网络,乃至于无线医疗解决方案。在以上解决方案中增添无线射频装置的定位功能使得这些网络的价值得以大幅提升。
定位功能
定位数据在许多应用中可以显著提升所交换信息的价值。对于病患监控、资产追踪、库存控制、保全、仓储、制造物流以及对于高度敏感的服务与计费等相关应用而言,定位功能可以说是驱动了无线传感器网络的发展。节点或传感器位置信息也有助于无线网络的传递及调整。例如,无线节点可以使用全球定位系统(GPS)之类的现有系统取得位置信息。然而,GPS型系统可能相当昂贵,而且对于低成本且大范围的简易网络应用而言,也可能过于耗电且复杂。此外,GPS可以在室外环境有效又精确地发挥定位功能,但在室内则未必如此。
在许多无线个人局域网络(WPAN)应用中,针对具备定位功能的网络来说,其吸引力在于低成本的传感器装置,以及以低功耗自动运作达到较长的设备使用寿命。由于ZigBee传感器网络具有多样性,而且预期未来会相当普遍,因此区域定位很可能成为这类无线系统中最令人兴奋的特色之一。其中的概念是,透过简易且符合成本效益的方式,在大量的 ZigBee网络加入定位功能,即将定位功能加入传感器节点硅芯片装置中,这只会稍微提高复杂程度和成本。若将此类位置模块整合于芯片,并且运用无线信号处理过程中既有的信号指示器估计位置,例如接收信号强度指针(RSSI),即可将增加的尺寸大小与功耗以及位置估计工作的复杂程度降至最低。无线射频定位是相当繁复的过程。透过分布式方法(算法),可以将整个过程分成多个可管理的工作项目,这不仅能够使节点所需的资源量相对减轻,且相较于集中式的方法也能够明显减少位置相关的网络流量。
内建定位引擎的ZigBee SoC
对于大多数ZigBee型无线应用而言,若要使应用系统的成本及设计复杂程度降低,却又不减损 IEEE 802.15.4/Zigbee技术的功能,具备最优设计的系统单芯片装置是重要关键。真正实行系统单芯片解决方案,也就是将无线射频收发器、数据处理单元、内存及使用者应用功能等所有的运作功能,整合于一个硅芯片,即可达到高效能、低成本及快速上市等优点。低功耗之所以能够发挥高效能,是因为芯片内建专门功能紧密交互作用,使得耗用的资源大幅降低。透过最低程度的系统物料清单 (BOM)、较小的体积尺寸与较少的组件、较简易的组装与测试,以及简单且可靠的设计,其制造成本得以降低并能加速上市时程。
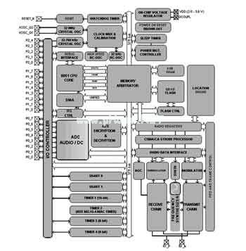
图1是市售硅芯片解决方案中具有代表性的CC2431,这是一款真正的系统单芯片CMOS器件,不仅能够发挥高效能,而且能够满足以2.4GHz ISM频带运作的IEEE 802.15.4/ZigBee无线标准对于低成本及低功耗的需求。由于2.4GHz ISM频带具备最大频宽且全球通用,能够促进全球市场的发展及应用设计的弹性,IEEE 802.15.4标准的2.4GHz PHY因而具有相当大的潜力。CC2431将高效能2.4GHz直接序列展频(DSSS)无线射频收发器结合广受业界肯定的精巧型高效率8051微控制器、8KB RAM、128KB嵌入式闪存,以及其他实用的支持功能。其中一项是强大的RSSI定位引擎,适用于低功耗ZigBee无线传感器网络应用,例如,资产追踪、病患监控、库存控制、保全及试行网络。芯片内建定位引擎的一项主要功能是分布算法,例如,在各个节点进行位置计算。由于过程中只传输计算的位置,而非进行计算所使用的数据,因此在节点进行位置计算能够减少集中式运算法会出现的网络流量及通信延迟。

图1 具备定位功能的ZigBee SoC装置
分布式定位功能(Distributed Localization)
CC2431的定位引擎是数字硬件区块,能够使无线节点在IEEE 802.15.4或ZigBee网络中以迅速有效的方式决定自身的平面位置坐标。利用相同引擎的多个参照节点或其他动态邻近节点所接收到的信号值,可以统计、演算与估计最可能的位置,以完成无线节点的定位。
定位引擎模块的设计使其便于使用及与芯片内建的微控制器接合。这个独立模块的功耗相当低并且运作快速,因此能够持续使用,完全不会耗用装置的运算资源。
在网络中,已知位置的节点称为参照节点,位置未知而需要计算的节点则称为待测节点(blind node)。根据距离最近的参照节点所收到的信息,CC2431能够运用分布式定位功能得知待测节点的位置。
其中的网络流量仅局限于(待测)节点的通信范围内所涵盖的节点,而不会扩及到可能相距甚远的中央节点。此分布式方法能够处理相同网络的大量待测节点,而集中式方法的网络流量则会因为待测节点过多而急遽增加。在参照节点与待测节点间交换的必要信息为参照节点的X与Y坐标。参照节点接收到的信息中内含所测得的RSSI值,定位引擎会根据参照(X,Y)坐标以及此RSSI值,计算出自身的(X,Y)坐标。
两个无线射频之间的RSSI值深受环境(变化)的影响,为了补足这个变动,CC2431的定位引擎会收集3~16个参照节点的数据,以用于计算位置。如果接收到的数据来自16个以上的节点,则会将接收的参照节点位置加以排序,并使用其中16个最强的参照RSSI值。
ZigBee网络使用CC2431进行的实际室内测量如图2所示。

图2 CC2431的分布式定位
结论
低功耗无线网络的应用除了具备可观的商机,还能够提升日常生活的安全性、舒适性及效率。采用高稳定IEEE 802.15.4标准的ZigBee具有技术质量与业界支持,能够促进无线传感器解决方案的普及。
整合于CC2431的定位引擎能够运用既有的ZigBee基础架构来发挥定位功能,并且能够以ZigBee网络中传感器节点的‘室内智慧’精确度进行分布式位置估计,不仅相当节能,而且能大幅降低通信所需的经费。重要的位置信息可用于对位置相当敏感的服务、追踪与监控,以及导航用途。