时间:2006-04-16 19:49
人气:
作者:admin
单片调频收音机采用先进电子电路及新一代高集成度的集成电路TDA7021T设计而成,灵敏度高,体积小,如同BB机,可挂扣在裤腰带上或装在胸袋内,使用一节五号电池,设有调谐指示,配用微型耳机收听。装置调试简单,很适宜初学无线电爱好者组装。
电路原理
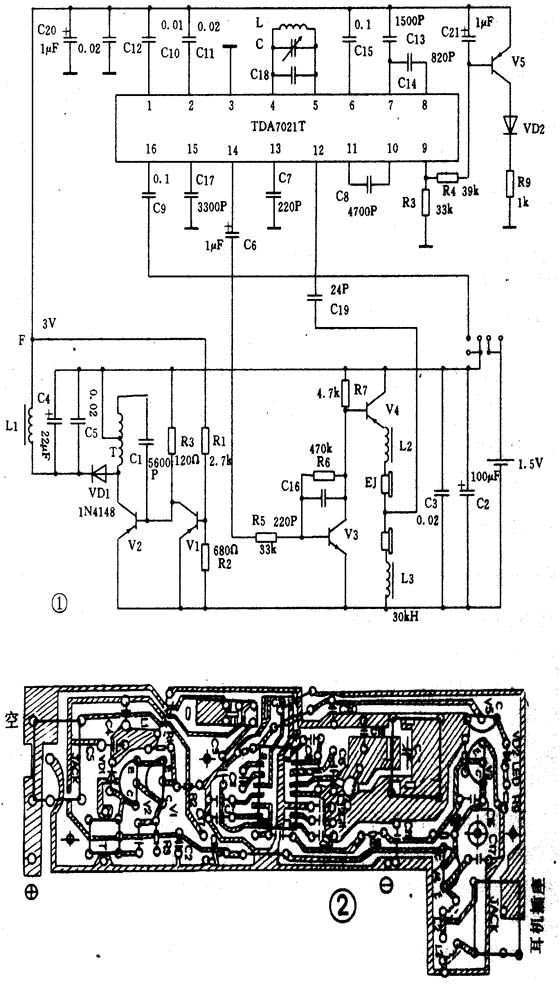
如图l所示,FM信号经C19至IC(12)脚,经内部高频放大后与④⑤脚FM本振信号在内部进行混频、中放、鉴频,从(14)脚经C6、R5至V3、V4等元件组成的低频放大电路至耳机输出。Vl、V2、T等元件组成升压电路,正常时F点3V左右。V5、R9、LED组成调谐指示电路。
安装调试
全部元件均装置在印制电路板上,印制板电路如图2所示。先将阻容元件、三极管、插座装上,再装上IC(焊IC时烙铁功率应在25W左右,焊接时间不宜太长,以免温度太高而烧坏IC),最后装可调电容C。可调电容先不要装外套,先将动片全部旋入定片中,再装上外套,装好电池夹,再把电路板装入面壳内,上好螺丝,再将旋钮底片装在可调电容上,最后把旋钮盖的调谐指示对正87MHz刻度时按下,装好旋钮盖。调整线圈L(拉长或压缩)使之接收到87MHz的信号,此时,本机的覆盖范围约为87MHz至108MHz左右。外壳及调谐部分如图3所示。业余调整接收频率覆盖范围,将旋钮调谐指示转至本地电台频率位置,调整线圈L能清晰地接收到本地电台信号,再装上底壳。

上一篇:四晶体管再生式收音机电路
下一篇:简易二次变频调频收音机