时间:2006-04-16 19:49
人气:
作者:admin
下面介绍一台 适用于信号弱区域和边远山区使用的高灵敏调频收音机,灵敏度达O.5uV,强弱台的接收效
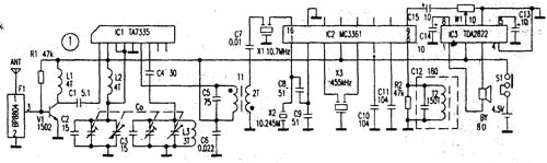
果都较好。该机采用了高性能的收音电路组合,构成了二次变频接收电路,整机电路见附图1. F1(BP8804)是87~108MHz的陶瓷带通滤波器,其中心频率是97.3MHz,外形见图20所示。V1与R1、L1组成一级高频预放,它可以使接收灵敏度明显增加。该机采用了二次变频的方法来提高镜像频率抑制比,这样可增设多级高放电路而不受镜像频率的干扰。
ICl是FM专用高频头电路TA7335,内部包括高放、本振、混频等功能,工作电压为2~6V,引 脚①是信号输入端;②是电源的正端;③和④是高放电路;⑤接地;⑥为中频输出端;⑦是本振回路;⑧接AFC电压。IC2是调频接收机专用的中频放大电路MC3361,只需在其外接少量的元件,就可以完成二次变频、中放、鉴频、音频放大等功能。从ICl的⑥脚输出的第一中频信号进入MC3361的16脚,与X3(10.245MHz)信号再次混频,差出455kHz第二中频信号由X3耦合,因而实现了二次变频,电路的电感均可自制。如果购不到带薄通滤波器BPB804,可用附图2(b)电路代替,
图中的L0用0.5mm漆包线在0.4mm圆棒上绕5圈脱出而成;L1,L2,L3线材及绕制方法与L0相同,L1,L2均为4T,L3为3T;T1,T2采用调帽式中频变压器改制;数据见图1所示,绕制T1时要注意初次级同名端。CO是调频收音机常用的可变电容器,电容值一般在3--20pf可调。整机调试主要调节L2、L3,使能差出1O.7MHz中频信号,然后请整T1,T2使声音最佳为正,必要时可调整电感圈数来满足调试要求。

下一篇:实用声控准双工无线对讲机