时间:2024-03-27 00:12
人气:
作者:admin
电子发烧友网报道(文/莫婷婷)苹果智能手表一直在创新,近期美国商标和专利局(USPTO)公示了部分苹果公司申请的关于智能手表的专利,从这些公开的专利中,我们能看到苹果在智能手表方面的创新,以及创新技术快速的应用情况。
手势识别技术再升级
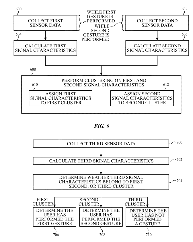
苹果一项专利号为 US 11914772 B2,名为“来自可穿戴设备的动作和手势输入”的专利显示,苹果正在为Apple Watch设计更多的手势交互方式,包括使用传感器检测佩戴者手部、手臂、手腕或者手指的动作,从而识别出特定动作完成手势输入。
根据专利的介绍,智能手表上搭载了多个光电二极管,每个光电二极管可以检测面向用户皮肤表面上的不同位置的光。专利公开的是示例通过识别传感器数据中的模式(每个手势的特征)来检测手势。

图源:苹果“来自可穿戴设备的动作和手势输入”的专利
就在2023年10月,苹果官方宣布Apple Watch Series 9 和 Apple Watch Ultra 2的全新双指互点两下手势已随着 watchOS 10.1 推出,目前来看,苹果已经有两款智能手表系列具备手势交互的功能。从苹果的专利布局来看,苹果正在进一步研究智能手表的手势交互功能,让手势交互技术可以更加成熟。
苹果在这方面的投入,或许会让更多手势交互功能在智能手表上的应用更加普及。此前业内曾研究出隔空操作的手势交互,但可惜的是,至今没能打开消费级市场。
将UWB技术引入智慧零售行业
苹果另一项智能手表的专利提到了UWB技术,只不过跟以往将UWB技术用于通信功能不一样,苹果在该项专利中提到可以利用UWB技术提供智能购物体验。
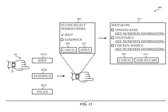
苹果在一项名为“使用 UWB 的自然手势智能购物和信息收集”,专利号US 11922473 B2的专利显示,苹果正在开发一项为使用 UWB 的自然手势智能购物和信息收集。

图源:苹果“使用 UWB 的自然手势智能购物和信息收集”的专利
专利表示,用户可以用智能手表识别出用户的手势,通过让用户佩戴可穿戴或非可穿戴电子设备,或在佩戴时对一件或多件所需物品做出自然手势,为智能购物和其他非接触式体验提供便利。
用户能够使用或同时佩戴可穿戴或非穿戴电子设备来向一个或多个所需物品执行自然手势,从而实现智能购物和其他非接触式体验。
苹果介绍了几个应用示例,其中一个是在特定的应用场景中,电子设备(智能手表)能够利用接收电路来捕获多个物品的位置数据。同时,该设备还能接收关于智能手势的指令。当电子设备识别出这些智能手势指向了多个物品中的一个或多个目标物品时,它会根据这些目标物品执行相应的操作。
而在另一个应用场景中,电子设备集成了接收电路,专门用于接收物品的位置数据,并带有超宽带接收电路,能够捕捉电子设备自身的第一和第二位置信息。同时,该设备还搭载了一个或多个运动传感器,用来接收用户执行智能手势的指示。该设备会识别手势动作,再利用超宽带接收电路提供的位置信息来锁定目标物品。最后,如果处理电路判断智能手势指向了特定的物品,它将执行相关操作。

图源:苹果“使用 UWB 的自然手势智能购物和信息收集”的专利
非侵入式的核心体温监测
另外,苹果还在继续丰富体温监测功能在智能手表上的应用。苹果在2022年12月申请一项名为“可穿戴电子设备的核心温度传感”的专利。苹果认为可穿戴设备进行体温检测存在一定难题,包括可穿戴设备和周边的环境都会发生变化,而核心温度的检测通常是采用口腔或者耳腔温度计的侵入式方式检测,而苹果该专利研究的非侵入式的核心体温检测。
专利介绍,电子设备可以包括内部体积的壳体、设置在前开口处的显示组件,以及设置在后开口处的后盖。在设备的内部空间中,搭载了逻辑板和薄膜热电堆。这个热电堆由两部分组成:一部分是冷接点,它连接到逻辑板上;另一部分是热接点,它连接到后盖上。一个位置靠近设备,一个位置靠近皮肤,当这两个接点之间的温度存在差异时,薄膜热电堆就能根据这种温差产生电压,从而实现对温度的测量。

图源:苹果“可穿戴电子设备的核心温度传感”的专利
目前,苹果的Apple Watch Series 8 或更新机型和所有 Apple Watch Ultra 机型跟踪夜间手腕温度变化。一个在水晶表背上,位置靠近皮肤,另一个位于显示屏下方。苹果表示这种设计可减少外部环境造成的偏差,提高了准确度。再结合AI算法,会将检测到的数据进行汇总。
不过,相对于非侵入式体温检测在智能手表上的应用,大多数消费者还在期待非侵入式血糖检测技术的应用落地。
1TOPS算力+6nm工艺,功耗再降30%!BES6000即将