时间:2022-08-05 11:33
人气:
作者:admin
可穿戴传感器的一个关键驱动因素是健康监测,而小型化一直是这项技术的关键推动力。能够在与微控制器相同的设备上集成多个传感器和数据采集子系统,使设计人员能够将其设备的设计小型化,以适应更多的外形尺寸。
例如,PulseOn 的最新可穿戴健康监测器使用STMicroelectronics的定制微机械 MEMS 传感器及其STM32L微控制器。这提供了准确的连续心率测量,并且在微控制器上运行的算法将数据转化为对每个人有意义的个性化反馈。
MEMS 加速度计将心率测量的准确性和可靠性保持在心电图所提供的水平,并且已经在从身体不活动到高水平的心脏密集型活动的各种条件下进行了测试。加速度计通过跟踪系统中的手部运动和振动来消除光学血流检测中的噪声,从而使系统能够区分代表实际心脏脉搏的信号和仅由手部运动引起的噪声。加速度计还可以确定佩戴者的身体活动水平。

图 1:PulseOn 的智能可穿戴健康监测器使用来自 STMicroelectronics 的 MEMS 加速度计和高度集成的控制器来提高血压测量的准确性。
“芯片的精度和性能使我们能够将最严格的科学标准应用于 PulseOn 心率测量技术,从而产生可靠的结果,包括休息时的节拍精度,”工程主管 Jari Nousiainen 说脉冲开启。“同样重要的是,这些设备的微小尺寸和能量预算已成为市场上最小、最准确的腕戴式心率监测器的竞争优势。”
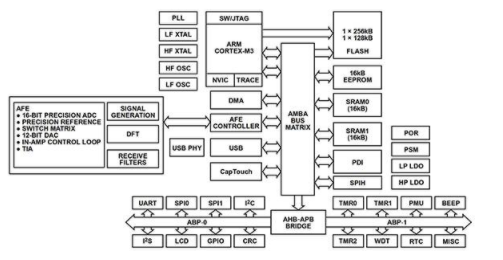
另一种使健康监视器小型化的方法是将尽可能多的数据采集集成在一个芯片上。Analog Devices的ADuCM350是一种高精度片上仪表,设计用于在便携式设备应用(如即时诊断和可穿戴设备)中使用纽扣电池运行。通过将模拟前端中的电流、伏安和阻抗测量功能与灵活的开关矩阵相结合,可以在最小的占位面积内使用各种传感器,从而减小系统的整体尺寸。这使用了一个 16 位、精度、160 kSPS 模数转换器 (ADC);0.17% 精密电压基准;12位、无漏码数模转换器(DAC);以及可重构的超低泄漏开关矩阵。还有一个温度传感器,从 0°C 到 50°C,精度为 ±1°C。
该芯片还包括一个基于 ARM Cortex-M3 的低功耗处理器、384 kB 嵌入式闪存、32 kB 系统 SRAM 和 16 kB 闪存配置 EEPROM,以及支持带显示的便携式仪表的 I/O, USB 通信和有源传感器。AFE 通过高性能总线 (AHB) 从接口以及直接存储器访问 (DMA) 和中断连接连接到 ARM Cortex-M3。

图 2:ADuCM350 将健康监测器所需的所有元素集成到芯片级封装的单个芯片上。
为了缩小系统尺寸,所有这些都封装在一个 120 引脚、8 mm × 8 mm 芯片级球栅阵列 (CSP_BGA) 中,工作温度范围为 -40°C 至 +85°C,以满足许多不同的环境。
当然,功率是系统小型化的重要考虑因素,因为较低的功率允许使用更小的电池。因此,ADuCM350 具有一系列电源模式,例如动态和软件控制的时钟和电源门控。
飞思卡尔半导体的 MK50DX256CLK10同样针对小型传感器应用,具有广泛的集成外设。其中包括两个 16 位逐次逼近型 SAR ADC、一个集成在每个 ADC 中的可编程增益放大器 (PGA)(最高 x64),以及两个运算放大器和两个跨阻放大器。对于数据输出,有两个 12 位 DAC,三个模拟比较器 (CMP),包含一个 6 位 DAC 和可编程基准输入和一个电压基准,所有这些都使系统具有更高的集成度。
通信接口包括一个带有片上收发器的 USB 全速/低速 On-the-Go 控制器、两个 SPI 模块和两个用于连接系统中数字传感器的 I 2 C 模块,以及四个用于连接的 UART 模块其他串行传感器。还有一个 I 2 S 模块可链接到系统中的其他控制器,以及一个用于显示管理的低功耗硬件触摸传感器接口 (TSI)。
所有这些都由带有 DSP 指令的 ARM Cortex-M4 内核控制,每 MHz 提供 1.25 Dhrystone MIPS 并以高达 100 MHz 的速度运行,以最大限度地降低功耗。内存支持包括高达 512 KB 的程序闪存、56 KB FlexNVM 的非易失性存储器和高达 128 KB 的 RAM。一个 16 通道 DMA 控制器支持多达 63 个请求源,并允许从传感器捕获和存储数据,而无需唤醒微控制器内核,从而降低整体功耗并有助于减小设计尺寸。

图 3:飞思卡尔的 MK50DX256CLK10 通过集成来自简单电极的数据采集功能,用于心率测量贴片。
MK50DX256CLK10 可用于可穿戴心脏监测贴片等应用,其中来自电极的信号由运算放大器增强,并由 SAR ADC 转换为 12 位分辨率的数字信号。然后,M4 内核可以处理信号或将它们发送到链接到基本单元的无线收发器。所有这些都可以集成到一个带有柔性锂离子电池的简单贴片中,该贴片可以舒适地放置在患者的胸部以监测活动,而无需复杂的胸带和许多不同的电线。这种小型化水平提高了医院的运营效率,并使患者的生活更加舒适。
然而,不仅仅是 32 位控制器可用于小型化监测健康状况的传感器系统。Texas Instruments的 MSP430 16 位系列专注于低功耗和集成,为传感器系统提供平台。MSP430 系列针对监测糖尿病的血糖仪和心率监测器等应用,利用片上数据转换器。MSP430AFE2x3是一款超低功耗混合信号微控制器,集成了三个独立的 24 位 Σ-Δ ADC、一个 16 位定时器、一个 16 位硬件乘法器、USART 通信接口、看门狗定时器和十一个 I/O引脚。
同样,超低功耗是最小化设计尺寸的关键考虑因素,该架构具有五种低功耗模式,因此可以对其进行优化,以延长便携式测量应用中的电池寿命。该器件具有一个 16 位 RISC CPU,带有 16 位寄存器和常数发生器,有助于最大限度地提高代码效率,从而实现更小、更节能的设计。数控振荡器 (DCO) 允许在不到 1 µs 的时间内从低功耗模式唤醒到活动模式。

图 4:德州仪器 (Texas Instruments) 的 MSP430AFE 系列将 sigma delta 模数转换器与 16 位 RISC 控制器集成在一起,用于紧凑、低功耗的健康监测器设计。
结论
现代微控制器的高级集成极大地促进了健康监视器的小型化,接近将绝大多数功能组合在单个芯片上的程度。系统开发人员总是需要单独的传感器以使他们的设计与众不同,但系统设计的数据采集和模拟前端的小型化允许更多的健康监测功能被包含在更小的外形尺寸中。仔细管理功耗的能力也允许足够的电池寿命,但也意味着可以使用更小的电池来进一步减小系统的大小。
在灵活的总线上安装数据采集外设也有助于减小系统尺寸,因为多个传感器可以连接到同一个数据转换器。只要功能是正交的并且不会同时使用传感器,灵活性就可以实现更小的引脚排列,从而更小的占位面积。
然而,PulseOn 的例子表明越来越多的传感器被一起使用——MEMS 加速度计与光学血流传感器同时使用,以提高最终数据的质量。这为旨在将布局减小到尽可能小的系统尺寸的设计人员提出了更多挑战,但也为缩小健康监视器的尺寸和提高信息质量提供了机会。
1TOPS算力+6nm工艺,功耗再降30%!BES6000即将