时间:2022-08-22 14:26
人气:
作者:admin
随着电池供电的可穿戴设备越来越受欢迎,可穿戴设备制造商为保持产品竞争力在不断地增加更强大的功能。对于消费者经常使用的健身手表而言更是如此。此类设备始终处于开启状态,用户不断寻求新特性和增强的性能。
然而,增加更强大的功能通常需要改用更强大的微控制器,以便控制和监管手表的功能。这样做的弊端是会缩短电池续航时间,需要更频繁地给电池充电,从而影响用户体验。
本文讨论始终开启型可穿戴设备对微控制器的独特需求。首先说明如何配置始终开启型可穿戴设备的微控制器,包括低功耗模式和自主外设。然后介绍 Texas Instruments 的 16 位微控制器和 Maxim Integrated 的 32 位微控制器,并说明如何利用这些微控制器的重要特性来促进可穿戴式设计。
始终开启型可穿戴设备对微控制器的独特需求
对于可穿戴设备,两次充电之间的长续航时间可能是对最终用户而言最重要的特性。在线评论可能会赞扬可穿戴产品的精度和特性,但一星失望评价与五星满意评价之间的区别可能就在于充电间隔时间。
除了频繁充电的不便之外,电池续航时间短还会造成其他严重影响。锂可充电电池会因为频繁充电而损害总容量,使得电池长时间保持良好状况变得更加困难。
此外,虽然用于充电的连接器通常很坚固,但插拔速度毕竟有限,因此每次充电都会导致磨损。
与其他消费类设备相比,可穿戴电子产品具有不同的功耗需求,因为可穿戴设备始终处于开启状态,这需要微控制器必须始终通电。通常,可穿戴电子产品还要进行低功耗蓝牙 (BLE) 连接,蓝牙必须始终处于准备就绪状态,并能与配对的移动设备通信。请注意,可穿戴设备的无线连接将在本系列的第 3 部分中讨论。
然而,可穿戴设备虽然可以在连接可用时将其数据与移动设备同步,但它还必须能够在没有移动连接时独立工作数小时或数天,具体取决于预期用途。
智能手表等可穿戴设备的主要用途除了告知时间之外,还有持续监控和记录与 I2C 和 SPI 等串行端口相连的外部传感器的输入。其中可能包括:用于计步器计步的专用加速度计、用于位置跟踪和导航功能的 GPS 无线电以及心率监测器。虽然这些传感器中的大多数可以由用户个别打开和关闭,但优秀工程师设计的系统应该考虑到所有传感器都打开的最坏情况。
必须持续地记录从这些传感器收集到的数据。在许多物联网 (IoT) 或消费类移动设备中,记录的传感器数据通常存储在闪存或 EEPROM 等非易失性存储器中。然而,对闪存或 EEPROM 的写操作会消耗相当大的电流,致使可穿戴设备中的小电池电量快速耗尽。更好的解决方案是将传感器数据存储在 SRAM 中。
写入 SRAM 消耗的电流要比写入非易失性存储器少得多。由于微控制器始终处于通电状态,因此 SRAM 传感器数据会持续得到安全的保存,除非可穿戴设备断电,或者用户未给电池充电而导致其电量耗尽。而存储的传感器数据以无线方式传输并存储在移动设备中,因此即使断电,传感器数据也不会丢失。
为尽量降低微控制器的功耗,其中一个重要手段是自主外设。具体自主程度随微控制器产品系列而变化。节省电力的另一个常见手段是:通过设置或清除电源寄存器中的某一位来禁用未使用外设的电源,并且不影响微控制器的其余部分。
可穿戴设备的微控制器的低功耗模式
了解了始终开启型可穿戴设备对微控制器的独特需求之后,必须确定低功耗模式应该做什么,包括哪些是有用的,哪些是无用的。
当然,可穿戴设备的最低功耗模式即是关机状态。大多数可穿戴设备都是通过将软件控制的瞬动按钮按住规定时间来启动和关闭的,这可防止意外的电源定序。这种方式优于机械开关,后者不仅成本效益低,而且可能被意外触发。但是,工程师应该假设用户很少会关闭其设备,因此应在两个看似相互矛盾的假设下设计可穿戴设备:设备永远不会被关闭,但它偶尔也会被关闭。
通常,电源管理芯片控制电池的充电,并为微控制器和传感器的电源开启和关断定序。电源管理也在本系列的第 2 部分中讨论。当电源管理芯片关断可穿戴设备时,微控制器的主电源将断开,除了实时时钟 (RTC) 的独立电源。这就需要微控制器能在 CPU、RAM 和大多数外设的外部电源被禁用,只有 RTC 运行的情况下工作。
当可穿戴设备关机时,让微控制器 RTC 运行以维持正确时间是有必要的,因此微控制器应有一个独立的电源引脚为 RTC 持续供电。RTC 由仅耗用几 nA 电流的低频 32.768 kHz 振荡器提供时钟。如果智能手表关机后就会失去计时功能,会无法令用户满意,因此任何禁用 RTC 的低功耗模式都不适用于可穿戴设备。
可以禁用 CPU 以及任何未使用的外设来保存电量。必须始终保留 RAM 的内容,这使得任何禁用整个 RAM 阵列的低功耗模式也不适用于可穿戴设备。
配置微控制器
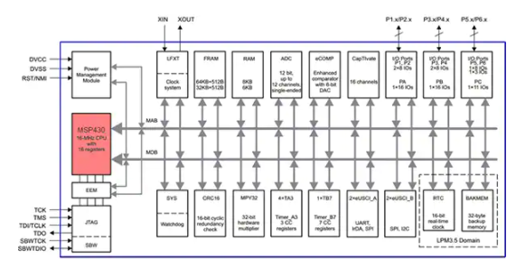
在针对可穿戴设备优化的微控制器中,带有铁电随机存取存储器 (FRAM) 的 Texas Instruments MSP430FR2676TPTR 16 MHz 微控制器(图 1)是其中的佼佼者之一。它属于 Texas Instruments MSP430FR2676 16 位 MSP430™ CapTIvate™ 电容式触摸感应微控制器,包含一个能够通过厚玻璃检测触摸动作的低功耗外设。可穿戴设备上使用的玻璃屏必须厚实耐用,能够经得起平常的严苛使用,因此 CapTIvate 技术很适合于带触摸屏的可穿戴设备。

图 1:Texas Instruments MSP430FR2676TPTR 超低功耗 16 位 FRAM 微控制器具有众多外设,只需极少的外部元件即可控制简单的可穿戴设备。(图片来源:Texas Instruments)
MSP430FR2676TPTR 具有 64 KB 的 Texas Instruments FRAM 程序存储器,与闪存微控制器相比,它能以更低的功耗实现更高的读/写性能。该器件具有 8 KB 的 SRAM 和一整套外设,包括 I2C、SPI 和 UART,可用于连接传感器。32 x 32 硬件乘法器可加速乘法运算,降低功耗。
MSP430FR2676TPTR 上的 RTC 可配置为以几微秒到数小时的间隔唤醒微控制器。这可用于唤醒 CPU 以执行一些任务,例如定期处理传感器数据和将数据无线发送到移动设备。
MSP430FR2676TPTR 的振荡器和时钟系统旨在降低系统成本并实现低功耗运行。该微控制器支持四个内部生成的时钟源和两个外部高精度时钟源。根据所选的低功耗模式和固件配置,这些振荡器和时钟可以在固件控制下启用和禁用。为了运行外设,MSP430FR2676TPTR 提供两个时钟:一个运行速率与系统时钟频率一样快的高速子系统主时钟 (SMCLK) 和一个低速 40 kHz 辅助时钟 (ACLK)。
除了活动模式(CPU 及其他一切皆启用)之外,MSP430FR2676TPTR 还支持可配置的复杂低功耗模式。任何在 MSP430 特定低功耗模式下处于活动状态的片载外设都可以通过固件关断,因而它支持定制的低功耗配置。采用 MSP430FR2676TPTR 的可穿戴设备可使用以下低功耗模式 (LPMx):
LPM0 允许运行除 CPU 外的所有单元。当自主外设需要处于活动状态并在无 CPU 干预下全速运行时,这种模式很有用。
LPM3 禁用 CPU、高速振荡器和 SMCLK。所有启用的外设皆可在省电的 40 kHz ACLK 上运行。当可穿戴设备处于空闲状态且没有按下任何按钮时,这种模式很有用。I2C 和 SPI 等串行外设可以自主运行以收集传感器数据,而直接存储器访问 (DMA) 将数据传输到 RAM。RTC 可以唤醒器件来执行任何需要的任务。
LPM4 关闭除 RTC 外的一切单元。SRAM 关断。这种模式对于用户关闭可穿戴设备的情况很有用。
MSP430FR2676TPTR 可在 1.8 至 3.6 V 电压下工作,适合与 3.6 V 锂电池配合使用。在 RTC 运行且有最少外设的情况下,微控制器的电流可以低于 5 μA。而在主振荡器运行时,MSP430FR2676TPTR 消耗 135 μA/MHz(典型值)。
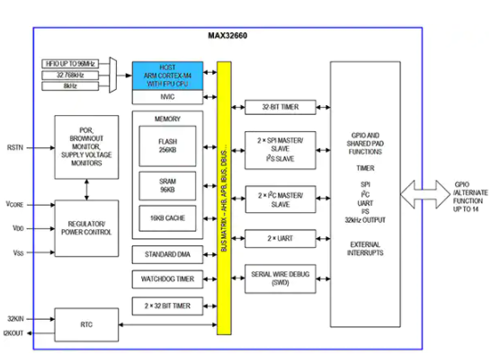
为了让可穿戴设备实现更高性能,Maxim Integrated 推出了 MAX32660GWE 32 位微控制器(图 2)。该器件基于带浮点单元 (FPU) 的 Arm® Cortex®-M4 内核。MAX32660 具有 256 KB 的闪存和 96 KB 的 SRAM。SRAM 分为四个扇区。任何扇区都可以配置为:启用以进行读/写操作;或进入轻度睡眠状态以禁用读/写操作,同时保留内容以节省电力;或完全禁用,以关断该扇区的电源。

图 2:Maxim Integrated MAX32660 专为始终开启型可穿戴电子设备而设计。为了节省功耗,该器件仅保留了与可穿戴应用中的外部传感器连接所需的最少外设。(图片来源:Maxim Integrated)
MAX32660 的工作频率最高可达 96 MHz,所有外设皆运行时功耗仅为 85 μA/MHz。为了尽量减少耗电量并缩小封装尺寸,它有一个用于可穿戴设备的最小外设集,包括两个 SPI、两个 I2C 和两个 UART。
MAX32660 支持两个内部振荡器:一个可通过固件禁用的 96 MHz 高速内部振荡器,以及一个无论何种低功耗模式皆始终开启型低功率 8 KHz 环形振荡器。32.768 kHz 振荡器使用外部晶振,用于 RTC。这三个振荡器中的任何一个都可用于为 CPU 和外设提供时钟。
任何外设都可以通过固件关断电源。此外,固件也可以禁用该外设的时钟,节省宝贵的电量。
根据可穿戴设备要求,无论在何种低功耗模式,RTC 皆始终开启,除非在活动模式下通过固件有意禁用。RTC 和时钟位于一个单独的部分中,称为“始终开启域”。该域与微控制器的其余部分隔离,确保在发生固件故障或篡改时 RTC 不受影响。
除了活动模式,MAX32660 还支持三种专为可穿戴电子设备定制的低功耗模式:
在休眠模式下,CPU 处于关闭状态,而任何已启用的外设都可以自主运行。当可穿戴设备处于空闲状态,且使用 DMA 记录和存储传感器数据时,这种模式会很有用。任何活动的外设都可以将 CPU 唤醒进入活动模式。
在深度休眠模式下,除了 RTC 的 32.768 kHz 时钟外,CPU 和外设的所有内部时钟都关闭。固件可以将 96 MHz 内部时钟配置为在进入深度休眠模式时自动关闭。所有 RAM 内容皆得到保留,包括数据 SRAM 和所有外设寄存器。这对于需要软关断模式的可穿戴设备很有用。在这种模式下,可穿戴设备进行断电以节省电力,但在恢复电源后需要重启到断电前的状态。
后备模式是最低功耗模式。除 RTC 外,CPU 和所有外设的时钟和电源都关闭。默认情况下,SRAM 的所有电源都禁用。当用户关闭可穿戴设备且不保留 SRAM 内容以节省电力时,这种模式很有用。但是,此模式可以选择将四个 SRAM 扇区中的任何一个保持在轻度休眠状态,以保留存储器内容。当可穿戴设备需要通过耗费最少的额外电流来维持最低限度状态时,这种模式会很有用。
MAX32660 需要 1.71 至 3.63 V 的电压,故可使用 3.6 V 锂电池。微控制器还具有自足式电源管理单元,由于无需外部元器件,因而减少了引脚数量。它还支持电池电量计,可监视外部电池并提供电池充电状态的准确读数,该读数可显示在可穿戴设备的用户界面上。
总结
始终开启型可穿戴电子设备向工程师提出了独特的挑战。即使可穿戴设备似乎已断电,它仍然会消耗一定的电力。但是,如本文所述,设计人员可以为其设计增加功能和特性,并使用可配置的低功耗模式来维护和延长电池续航时间。
1TOPS算力+6nm工艺,功耗再降30%!BES6000即将