时间:2021-06-24 11:06
人气:
作者:admin
随着互联健康概念的兴起,医疗智能穿戴设备市场逐渐扩大,根据市场研究公司Counterpoint Research调查指出,疫情促使消费者健康意识提高,这更使得医疗智能穿戴设备受到市场青睐,增长幅度不断攀高。
本次我们通过技术型分销商Excelpoint世健邀请了来自专业医疗智能穿戴设备领域企业的工程师冯工跟大家分享实战案例。该公司是世健多年的客户,主要从事医学诊断产品研发、生产、销售及服务。而冯工有着深厚的学术和实战经验。
项目需求
心率监测方案
心率监测可基于心电信号检测,人体心脏的周期性跳动是有生物电信号精密控制的,只要能够捕捉到心电信号,就能计算心率,但是心电检测需要获取人体多处电位,硬件实现复杂、方案成本高。有一种方案是谐振式检测方案,传感器感应动脉搏动的压力变化,从而统计出心率。但该方案的实现需要将设备放置于人体脉搏明显的部位,对于可穿戴设备佩戴方式将是一种挑战。还有一种方案是光电式检测,基本原理是血液会反射红光而吸收绿光。心脏跳动时,流经皮肤的血液会增加,吸收的绿光也会增加;心跳间隔期,血液在血管中流量减少随之吸收绿光减少。当设备使用绿色LED,配合对光敏感的光电传感器,就可以检测任意时间点流经人体皮肤各处的血液流量,通过统计数据,以每次血流量的最高点作为一次周期,这样就可以计算心率。并且可以将设备设计成手表形态,方便的戴于手腕处。
基于光电式的心率监测方案(也称光电容积脉搏波描记法PPG),硬件上需要有光源驱动、光电转换、模数转换数据处理等模块。一般光源驱动我们选择恒流源(需要可以微调电流和一定的频率开关);光电转换选择光电二极管然后用运放进行流压转换和信号调理;最后用A/D芯片实现模拟量的数字转换并送至MCU进行处理。硬件方案如果采用分立器件,那么芯片数量较多,并且空间受限,所以最好还是采用集成器件。ADI公司拥有多功能光电式测量前端芯片(型号:ADPD105),完全集成式AFE、ADC、LED 驱动器和时序内核, 提供一流的环境光抑制性能,无需光电二极管滤光器;灵活的数字接口SPI、I2C 可供选择;功耗低,1.8 V模拟/数字超低工作电源,待机模式仅0.3μA电流,适合电池供电的设备;灵活的采样频率范围:0.122 Hz ~3820 Hz;多达3个LED恒流源,每通道峰值电流达370mA;拥有WLCSP芯片级封装,极致的小体积适合空间受限应用。其内部功能框图如图1。

图1
血氧饱和度监测方案
光电容积脉搏波描记法(PPG)不仅可以用于心率检测,通过一定算法处理也可测量血氧,为无创式血氧监测提供了很好的方案。
原理:由于氧合血红蛋白(HbO2)和血红蛋白(Hb)这两种物质对波长600 ~ 1000nm的光具有一定的吸收特性。Hb对600 ~ 800nm之间的光吸收系数更高,HbO2对800~1000之间光的吸收系数更高。所以可以利用红光(600 ~ 800nm)和接近红外(IR)(800 ~ 1000nm)的光分别检测HbO2和Hb的PPG信号,再通过程序处理算出相应的比值,这样就得到了血氧值。
利用ADPD105其中两通道LED恒流源分别驱动红光LED和近红外LED,另外一通道恒流源驱动绿光LED用于心率检测,对于光接受器可以使用同一个,分时复用,分别去采集心率信号和血氧信号,在最少的器件下高效完成数据采集,综合成本最低。另外近期关注的ADI新产品ADPD410X,是ADPD系列比较新的产品,它同时拥有8路LED驱动光路和8路的数据采集通道,更高的集成度和采样精度,同时支持PPG,ECG和EDA的测量。它能作为本案的功能拓展方案。
计步功能方案
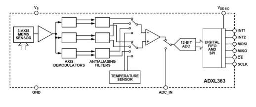
计步方案使用最多的就是三轴加速度传感器,通过算法识别行走时的三轴动态数据,即可实现计步功能。本方案是基于可穿戴设备,因此芯片的功耗、体积成为重要考虑因素。ADXL363是一款超低功耗的3个传感器组合产品,由3轴MEMS加速度计、温度传感器和用于同步转换外部信号的ADC输入端组成。整个系统输出数据速率为100 Hz时功耗低于2µA,在运动触发唤醒模式下功耗为270 nA;1.6~3.5V工作电源范围,便捷的兼容其他器件的电源;ADXL363还提供针对内部ADC的访问,可同步转换外部的模拟输入。紧凑型的LGA封装非常符合可穿戴式设备应用。其内部功能框图如图2。

图2
MCU选型
本方案MCU选型需要兼顾高性能和低功耗。ADI公司的ADuCM3029拥有超低功耗特性:活动模式(完全开启模式):《 30μA/MHz(典型值),休眠模式(带SRAM保留):《750nA(典型值),关断模式(可选RTC活动):《60nA(典型值);集成MPU的ARM® Cortex®-M3处理器,高性能内核处理算法游刃有余;集成ECC的256 KB嵌入式闪存,方便存储离线数据;较低的电压供电(1.74V至3.6V)可以允许使用纽扣电池;片内外设SPI、UART、IIC、Timer、DAC、DMA、Watchdog应有尽有,方便使用;内置32kHz振荡器和26MHz高频振荡器,也支持外部时钟源;拥有两种紧凑型WLCSP/LFCSP可供选择,适用于体积空间受限的应用。
另外可利用高性能的ADuCM4050作为高端升级版本的选择,它拥有更好的性能和更低功耗在休眠和关断模式下,在:活动模式(完全开启模式):《 41μA/MHz(典型值),休眠模式(带SRAM保留):《650nA(典型值),关断模式(可选RTC活动):《50nA(典型值);ARM Cortex-M4F处理器,52 MHz,并带FPU, MPU, ITM, SWD接口,兼容性更强,EEC的升级至512KB,方便存储更多的离线数据;
电源方案
可穿戴式设备需要可充电电源,一般选用锂电池,因此需要锂电池管理芯片。LTC4065L是一款用于单节锂电池的完整恒流/恒压线性充电器,由于外形尺寸小(DFN封装2mm*2mm),能够准确地调节低充电电流,因而非常适用于低容量锂电池;而且可以通过USB标准取电工作;还有强大的充电异常保护功能:自动再充电、低电池电量充电调节(涓流充电)、软器动功能(用于限值涌入电流)。
方案中MCU、加速度传感器、模拟前端芯片都可以工作在1.8V范围,对于锂电池的3.7V还需要LDO用于降压。由于有模拟电路,故需选择尽量低噪声的LDO。LT 3042拥有超低噪声0.8µVRMS(10 Hz~100 kHz),超高电源抑制比(最低79 dB @1MHz);超低的工作压降(350mV);输出可调(0~15V);紧凑型DFN封装(3mm*3mm)。
1TOPS算力+6nm工艺,功耗再降30%!BES6000即将