时间:2021-01-06 10:03
人气:
作者:admin
苹果眼镜等苹果设备未来的控制系统可能由手指上的 “智能戒指 ”组成,苹果一项专利显示,“智能戒指 ”的充电可以通过一个类似AirPods充电盒的外壳连接到VR头显上完成。虽然已经有人尝试使用手指上的智能戒指作为用户控制计算机的方式,但它们通常采取实际戒指的形式,通常是作为一个相当大而笨重的硬件。瘦身戒指的尺寸可能会让它对用户更有吸引力,但这也可能会让制造商难以加入足够的电池电量。
此外,还要考虑戒指的充电问题,因为将科技首饰连接到充电线可能对用户没有吸引力。在美国专利和商标局周二授予苹果的一项名为 “带有充电和存储系统的电子手指设备 ”的专利中,苹果试图借用其用于AirPods的想法来解决电源问题。
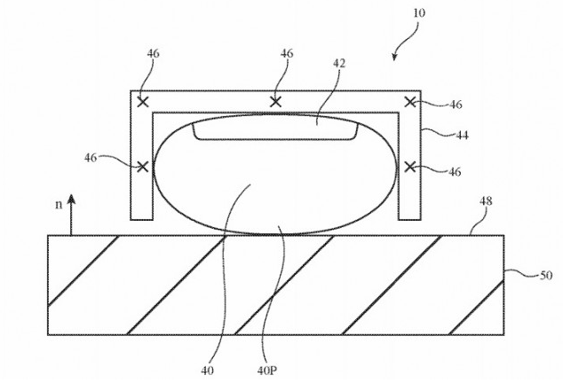
该专利描述了一种 “在用户手指上佩戴的手指安装设备”,听起来就像一个智能戒指。其中包括一个传感器的组合,用于测量手指运动,而这些运动又可以被主机设备解释。这些传感器可以测量手指施加在外壳上的力道,可以施加在手指上的某种形式的触觉输出,以及用于从外部电源接收电源的系统。这可以包括一个用于无线充电的线圈,不过专利中明确指出,这只会在充电点使用,而不是在用户佩戴设备时使用。
虽然它可能是一个戒指,但该专利接着描述它有一个 “U形外壳”,它将滑落在手指的外缘而不是底部。外壳将 “放置在手指的顶端”,大概是靠近手指甲本身,铰链元件允许在指关节周围有更多的移动自由。虽然该专利简要地描述了手指连接的元素,但申请的主旨与向配件应用电源有关。简而言之,它是通过一个单独的外壳来进行充电的。
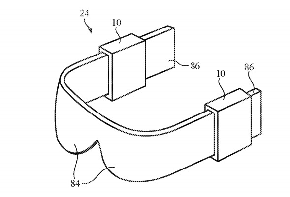
该专利以两种大致形式进行了描述,包括AirPods式的无线充电外壳,以及在VR头显或AR眼镜上 “头戴式支撑结构 ”内的凹槽中。在每一种情况下,手指设备都会装入外壳上的异形槽中,以特定的方式进行定位,使其能够使用线圈进行无线充电。这与AirPods充电盒在机械结构上非常相似,不同的是内部元件要接受不同类型的设备,以及是否是大型头显的一部分。
苹果每周都会提交大量的专利申请,但虽然专利的存在表明苹果研发团队感兴趣的领域,但并不能保证这些概念会出现在未来的产品或服务中。



责任编辑人:CC
1TOPS算力+6nm工艺,功耗再降30%!BES6000即将