时间:2020-07-13 11:25
人气:
作者:admin
据OnMSFT报道,微软的一项新获批的名为“可穿戴式脉压波发送设备”的专利日前曝光,其中详细Microsoft Band 2的概念后继产品。尽管2016年微软宣布停止对Microsoft Band设备的支持似乎预示着该公司对可穿戴设备的探索暂告段落,但这并不意味着微软就此放弃该领域。

据介绍,该专利的亮点在于设备会寻找并提醒用户将其放置在哪里才能获得准确的读数。在理想的状态下,微软的动脉监测系统将减少假阳性读数,每天告知用户准确的测量数值。
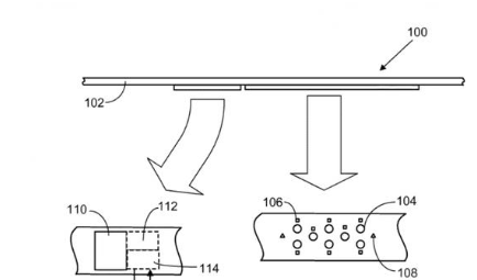
此外,不同于其此前的Band产品所使用的解决方案,新专利的方案更像是一个贴片,上面有一排压力传感器,横卧在特定区域(大概是动脉附近)。不过,从新专利图中留下了足够的显示空间这一设计来看,或许该方案未来也可以应用于智能手表中。(校对/零叁)
1TOPS算力+6nm工艺,功耗再降30%!BES6000即将