时间:2020-07-14 14:51
人气:
作者:admin
近日,有外媒曝光了微软的全新可穿戴设备专利,该专利名为“可穿戴式脉冲压力波发送设备”,可以大大提升可穿戴设备测量血压的精准度。

微软可穿戴设备新专利
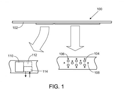
据CNMO了解,这项专利的解决方案并不是基于手环打造,而是通过一个放置在动脉附近的压力传感器阵列来测量血压。这个传感器可以提醒用户将其放置在最佳位置上,以实现更精准的测量。当然,微软也会通过一套软件来实现全天候监测,并为用户提供最准确的读数。

微软可穿戴设备新专利
此前微软曾推出手环产品,不过目前该产品已经几年未更新。通过已知的这项专利来看,微软并没有放弃可穿戴领域,未来微软或许还会发布全新的可穿戴设备。当然,全新的可穿戴设备究竟是用于消费级市场还是用于医疗设备领域,可能还需要时间才能给我们答案。
上一篇:诺基亚将发布最新智能手表
下一篇:OPPO Watch 拆解解析
1TOPS算力+6nm工艺,功耗再降30%!BES6000即将